SUSPENSION AND AXLE


  1. General


    1. In this active height control suspension, the height control, damping force control, spring rate control and 4-wheel related control are individually controlled by the coil spring, nitrogen gas springs and hydro-pneumatic suspension, thereby delivering high on-road and off-road driving performance.

      Control Outline
      Height Control The amount of fluid to be sent through the height control valve into the shock absorbers for each of the wheels is regulated in accordance with the manual switch operation and driving conditions, therefore, the vehicle height can be controlled within 5 levels: (Low, Normal 2, Normal, High and Extra-High).
      Damping Force Control
      • The optimum damping force can be obtained by controlling the damping force actuators arranged on each of the wheels in accordance with the manual switch operation and driving conditions.

      • The semi-active control of the damping force control has been changed from sky-hook control to non-linear H∞ control.

      Spring Rate Control (for Front Suspension) The spring rate (wheel rate) can be controlled by switching the fluid passage to the gas chambers arranged on both the left and right front shock absorbers.
      4-wheel Related Control The hydraulic tubes for the shock absorbers are channeled through the center cylinder, therefore, the amount of hydraulic pressure for each of the shock absorbers can be individually adjusted via the center cylinder in accordance with the driving conditions.

      Tech Tips


      • To summarize, H∞ control is a theory for designing a controller that meets the control specifications that are represented by the H∞ norm (a unit of measurement of the transfer function of the system). When this is expanded into a non-linear system, it is called "non-linear H∞ control".

      • The "H" is the initial letter of the mathematician named Hardy (who studied the stability of control systems) who advocated the mathematical space that is handled by this control logic. The "∞" represents the ∞ norm, which is one of the mathematical units used for measuring the size of the signals.

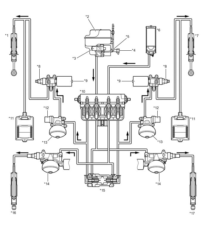
  2. System Diagram

    A01W6XSE01
    A01W6VPE01
  3. Layout of Main Components

    A01W6GLC01
    *1 Combination Meter *2 Steering Control ECU
    *3 Acceleration Sensor *4 Main Body ECU (Cowl Side Junction Block LH)
    *5 DLC3 *6 Steering Sensor
    *7 Yaw Rate Sensor *8 Damping Mode Select Switch
    *9 Height Control Switch *10 Height Select Switch
    *11 Acceleration Sensor *12 4WD Control ECU
    *13 Network Gateway ECU - -
    A01W6T8C01
    *1

    Brake Actuator Assembly


    • Skid Control ECU

    *2 ECM
    *3 Front Height Control Sensor Sub-assembly RH *4 Front Speed Sensor RH
    *5

    Engine Room Relay Block


    • Pump Motor Relay

    *6 Front Height Control Sensor Sub-assembly LH
    *7 Front Speed Sensor LH *8 Relief Gas Chamber
    *9

    Front Suspension Control Accumulator Assembly


    • Damping Force Control Actuator

    • No. 2 Gas Chamber

    *10

    Front Suspension Control Valve Assembly


    • Spring Rate Switching Valve

    • No. 1 Gas Chamber

    *11 Center Suspension Control Cylinder Sub-assembly *12

    Rear Suspension Control Accumulator Assembly


    • Damping Force Control Actuator

    • No. 1 Gas Chamber

    • Relief Gas Chamber

    *13 No. 1 Height Control Valve Assembly *14 Rear Speed Sensor LH
    *15 Rear Height Control Sensor Sub-assembly LH *16 Suspension Control ECU
    *17 Height Control Pump and Motor Assembly *18 Rear Height Control Sensor Sub-assembly RH
    *19 Rear Speed Sensor RH *20 Suspension Control Pump Accumulator Assembly
    A01W5SZC01
    *1 Front Suspension Control Valve *2 Front Suspension Control Accumulator Assembly
    *3 Front Shock Absorber RH *4 Front Shock Absorber LH
    *5 Relief Gas Chamber *6 Height Control Accumulator
    *7 No. 1 Height Control Valve Assembly *8 Rear Shock Absorber LH
    *9 Height Control Pump and Motor Assembly *10 Rear Shock Absorber RH
    *11 Rear Suspension Control Accumulator Assembly - -
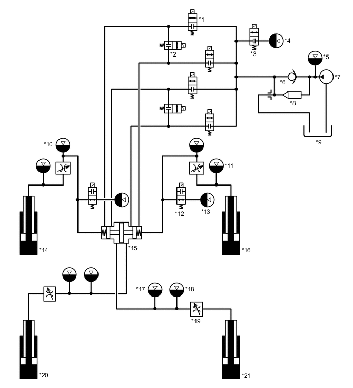
  4. Hydraulic Pressure Piping System Diagram

    A01W6RHC01
    *1 Leveling Valves *2 Gate Valves
    *3 Accumulator Valve *4 Height Control Accumulator
    *5 Pump Attenuator *6 Check Valve
    *7 Pump *8 Return Valve
    *9 Reservoir Tank *10 No. 2 Gas Chamber
    *11 Relief Gas Chamber *12 Spring Rate Switching Valve
    *13 No. 1 Gas Chamber *14 Front Shock Absorber LH
    *15 Center Suspension Control Cylinder Sub-assembly *16 Front Shock Absorber RH
    *17 Relief Gas Chamber *18 No.1 Gas Chamber
    *19 Damping Force Control Actuator *20 Rear Shock Absorber LH
    *21 Rear Shock Absorber RH - -
  5. Function of Main Components

    Components Function
    Height Control Pump and Motor Assembly Pump Generates the high hydraulic pressure that is necessary for raising the vehicle height.
    Height Control Reservoir Assembly Maintains the amount of fluid that is returned during the low vehicle height and the amount of fluid that is discharged during the high vehicle height.
    Return Valve Opens and closes the fluid passage between the control valve assembly and the reservoir tank.
    Pressure Sensor Detects the pump's discharge pressure.
    Temperature Sensor Detects the fluid temperature.
    Pump Attenuator Dampens the hydraulic pulsation of the fluid that is discharged by the pump.
    Suspension Control Pump Accumulator Assembly Stores the hydraulic pressure to accelerate the speed in which the vehicle height is raised.
    No. 1 Height Control Valve Assembly Leveling Valve Open and close the fluid passage between the pump and the gas chamber on the wheel. This is individually provided on each of the wheels.
    Gate Valve Open and close the fluid passage between the right and left shock absorbers. This is individually provided for both the front and rear shock absorbers.
    Accumulator Valve Opens and closes the fluid passage to the height control accumulator.
    Center Suspension Control Cylinder Sub-assembly Mechanically operates in accordance with the pressure applied to the shock absorbers and optimally distributes the hydraulic pressure to each of the wheels.
    Spring Rate Switching Valve Opens and closes the fluid passage to the No. 1 gas chamber.
    No. 1 Gas Chamber Acts like a gas spring by partially utilizing coil spring force. This is provided on each of the wheels.
    No. 2 Gas Chamber Acts like a gas spring by partially utilizing coil spring force. This is provided on both the left and right front wheels.
    Relief Gas Chamber Protects hydraulic systems by restricting increase in the hydraulic pressure inside the hydraulic tubes. This is provided on each of the wheels.
    Damping Force Control Actuator Switch the damping force.
    Shock Absorber
    • Generate a damping force similar to the conventional shock absorber.

    • Includes a high-pressure main seal and high-pressure oil seal for friction reduction and further improvement of the sealing performance.

    Combination Meter Multi Information Display
    • Displays the vehicle height and control conditions.

    • Displays a warning message when a system malfunction occurs.

    Master Warning Light Illuminates when the warning message is displayed.
    Buzzer Sounds when the warning message is displayed.
    Height Select Switch A seesaw type momentary switch has been adopted for the height select switch that is used for selecting a desired height. Pressing the up side of the switch once raises the vehicle height, and pressing the down side once lowers the vehicle height.
    Height Control Switch Pressing this switch prohibits the height control function. Pressing it again cancels the prohibition.
    Damping Mode Select Switch Damping mode select switch enables the driver to select a desired damping force from the 3 modes.
    Height Control Sensors Detect the vehicle height.
    Steering Sensor Detects the steering direction and angle of the steering wheel.
    Yaw Rate Sensor Detects the yaw rate and the longitudinal and lateral acceleration and deceleration of the vehicle body.
    Acceleration Sensor 3 acceleration sensors are provided in total. The 2 of them are provided in the front of the vehicle and 1 is built into the suspension control ECU located in the rear of the vehicle. Thus, the acceleration sensors independently detect the vertical acceleration rate of the vehicle.
    Pump Motor Relay Controls the pump motor operation.
    Suspension Control ECU
    • Controls the entire system by performing the calculations for height control, damping force control and spring rate control based on the signals received from the sensors and switches.

    • Sends the active height control status signal to ECM.

    Steering Control ECU Sends the VGRS control status signal to the suspension control ECU.
    Skid Control ECU Sends the speed sensor signal and brake control status signal to the suspension control ECU.
    4WD Control ECU Sends the 4WD control status signal to the suspension control ECU.
    ECM Sends the engine speed signal to the 4WD control ECU.
    Main Body ECU (Cowl Side Junction Block LH) Sends the engine switch status signal and courtesy switch signal to the suspension control ECU.
    Network Gateway ECU Gateways signals between the V bus and movement control bus.
  6. Construction and Operation of Main Components


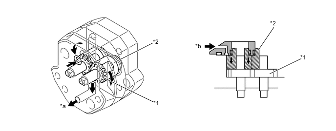
    1. Height Control Pump and Motor


      • A system in which the pump, pump motor, height control reservoir assembly, return valve, pump attenuator, pressure sensor, and temperature sensor are integrated is used.

      • An external gear pump that contains less parts and excels in durability is used. Also, the pump is a pressure-loading type in which the discharge pressure of the pump itself is utilized and routed via the gear case to push on the side of the pump gear in order to reduce the internal leakage, thus making high-pressure discharge possible.

      • A DC motor with 4-pole brushes is used to realize excellent durability and high torque.

        A01W5VBC02
        *1 Height Control Reservoir Assembly *2 Pump Attenuator
        *3 Pressure Sensor *4 Pump Motor
        *5 Temperature Sensor - -

        Figure 1. Pump and Motor Hydraulic Diagram

        A01W6XME01
        A01W67OC01
        *1 Pump Gear *2 Gear Case
        *a Discharge *b High Pressure

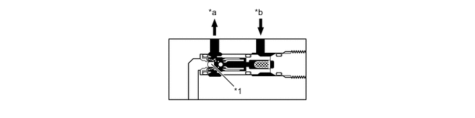
      1. Return Valve


        • The return valve opens and closes the fluid passage between the No.1 height control valve assembly and the reservoir tank. The return valve has been simplified by adopting a construction in which the valve is closed by the flow of the discharged fluid.

        • Normally, a spring force is applied to the return valve to maintain the fluid passage between the No. 1 height control valve assembly and the reservoir tank open.

        • When the pump operates in order to raise the vehicle height, the pressure of the fluid that is discharged by the pump causes the return valve to move to the left of the diagram as illustrated.

        • Accordingly, the fluid passage between the No. 1 height control valve assembly and the reservoir tank closes, and the fluid that is discharged from the pump flows towards the control valve assembly.

          Figure 2. Normal Condition

          A01W60RC01
          *1 Return Valve (Open) - -
          *a From Height Control Valve *b To Reservoir Tank

          Figure 3. Pump in Operation

          A01W62AC01
          *1 Return Valve (Close) - -
          *a To Height Control Valve *b From Pump
      2. Pump Attenuator


        • The pump attenuator dampens the hydraulic pulsation of the fluid that is discharged by the pump.

        • A bellows type accumulator that is made of stainless steel, which offers excellent gas penetration resistance and good pulsation absorption performance, is used.

          A01W6ZOC01
          *1 Pump Attenuator - -
          *a Nitrogen Gas *b Bellows
          *c Oil Pressure - -
          Specifications
          Sealed Gas Nitrogen Gas
          Gas Chamber Volume 1.75 cc (0.11 cu in.)
          Sealed Gas Pressure

          2 MPa (20 kgf/cm2, 290 psi)

    2. Suspension Control Pump Accumulator


      • A free piston type accumulator, which provides a large gas chamber capacity, is used for the suspension control pump accumulator.

      • When raising the vehicle height, the accumulator discharges the stored fluid to accelerate the raising speed.

        A01W6WWC01
        *1 Piston - -
        *a Nitrogen Gas *b Cross Section
        *c Oil Pressure *d B-B Cross Section
        *e View From A - -
        Specifications
        Sealed Gas Nitrogen Gas
        Gas Chamber Volume 945 cc (57.7 cu in.)
        Sealed Gas Pressure

        5.9 MPa (60 kgf/cm2, 856 psi)

    3. Height Control Valve


      • The height control valve is comprised of 4 leveling valves, 2 gate valves and an accumulator valve.

        A01W68GC01
        *1 Leveling Valves *2 Fr Gate Valve
        *3 Accumulator Valve *4 Rr Gate Valve
        *a A-A Cross Section *b B-B Cross Section

        Figure 4. Arrangement Layout of Hydraulic Tubes

        A01W5WFE01

      1. Leveling Valve


        • This valve opens and closes the fluid passage between the pump and the gas chamber located at each wheel.

        • Normally, the fluid passage remains closed, and during vehicle height control, the fluid passage opens in accordance with the signal received from the suspension control ECU.

          A01W66MC01
          *a Wheel Side *b Pump Side
          *c Close *d Open
      2. Gate Valve


        • This valve is provided for both the front and rear sides. This valve opens and closes the fluid passage to both the left and right leveling valves.

        • Normally, the fluid passage is closed. When the vehicle starts driving, the fluid passage opens in accordance with signals from the suspension control ECU, to balance the fluid pressure for both the left and right gas chambers.

          A01W66MC02
          *a Left Side *b Right Side
          *c Close *d Open
      3. Accumulator Valve


        • This valve opens and closes the fluid passage between the pump and the height control accumulator.

        • Normally, the fluid passage is closed. When the vehicle height is raised by operating the height control switch or the fluid is being stored in the main accumulator, the fluid passage opens in accordance with the signal received from the suspension control ECU.

          A01W66MC02
          *a Accumulator Side *b Pump Side
          *c Close *d Open
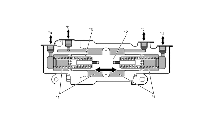
    4. Center Cylinder


      1. The center suspension control cylinder sub-assembly is comprised of four fluid chambers and a piston.

      2. The fluid chambers are connected to each other via the hydraulic tubes from each of the shock absorbers. The center cylinder optimally distributes the hydraulic pressure for each of the wheels through the piston which operates in accordance with the input hydraulic pressure.

        A01W5VGC01
        *1 Fluid Chamber *2 Piston
        *3 Neutral Return Spring - -
        *a To Front Shock Absorber LH *b To Rear Shock Absorber RH
        *c To Rear Shock Absorber LH *d To Front Shock Absorber RH
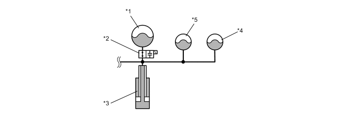
    5. Spring Rate Switching Valve (Suspension Control Valve)


      1. This valve is provided in the front suspension control valve, and it opens and closes the fluid passage to the No.1 gas chamber under spring rate control.

      2. Normally, the fluid passage remains opened, and during spring rate control, the fluid passage closes in accordance with the signal received from the suspension control ECU.

        A01W6CFC01
        *1 Solenoid Coil *2 No.1 Gas Chamber (Front Suspension Control Accumulator Assembly)
        *3 Poppet Valve - -
        *a To Shock Absorber - -
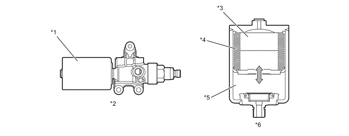
    6. No. 1 Gas Chamber


      1. A No. 1 gas chamber is provided for each of the wheels. This acts like a gas spring and was designed with a very low compression rate utilizing a large-volume gas chamber.

      2. The front No. 1 gas chamber is provided for the front suspension control valve.

      3. The rear No. 1 gas chamber is provided for the rear shock absorber control valve.

      4. The No. 1 gas chamber uses the bladder filter type hydropneumatic accumulator. A resin membrane is sandwiched between rubber layers to realize excellent gas penetration resistance.

      5. The internal pressure of the gas chamber is varied by allowing the fluid to flow in and out of this gas chamber in order to raise or lower the vehicle height.

        Figure 5. Front Suspension Control Valve Assembly

        A01W6TAC01
        *1 No. 1 Gas Chamber (Front Suspension Control Accumulator Assembly) - -

        Figure 6. Rear Suspension Control Accumulator Assembly

        A01W70MC01
        *1 No. 1 Gas Chamber (Rear Suspension Control Accumulator) - -

        Figure 7. No. 1 Gas Chamber

        A01W6ESC01
        *a Gas Chamber (Nitrogen Gas) *b Bladder Filter
        *c Fluid Chamber - -
        Specifications
        No. 1 Gas Chamber Front Rear
        Sealed Gas Nitrogen Gas
        Gas Chamber Volume 400 cc (24.4 cu in.)
        Sealed Gas Pressure

        2.26 MPa (23 kgf/cm2, 328 psi)

        1.90 MPa (19 kgf/cm2, 276 psi)

    7. No. 2 Gas Chamber


      1. A No. 2 gas chamber is provided for the front shock absorber control valve. This acts like a gas spring and was designed with a very high compression rate utilizing a small-volume gas chamber.

      2. The No. 2 gas chamber uses a metallic bellows type hydro-pneumatic accumulator, to prevent gas leakage.

      3. The internal pressure in the gas chamber is varied by allowing the fluid to flow in and out of this gas chamber in accordance with the vehicle height adjustment and any impacts with the ground.

        A01W6JPC01
        *1 No. 2 Gas Chamber (No. 2 Front Suspension Control Accumulator) *2 Front Suspension Control Accumulator Assembly
        *3 Gas Chamber (Nitrogen Gas) *4 Metallic Bellows
        *5 Fluid Chamber *6 No.2 Gas Chamber
        Specifications
        Sealed Gas Nitrogen Gas
        Gas Chamber Volume 120 cc (7.3 cu in.)
        Sealed Gas Pressure

        1.8 MPa (18 kgf/cm2, 261 psi)

    8. Relief Gas Chamber


      1. A relief gas chamber is provided for each of the wheels. This protects the hydraulic system by reducing increases in the fluid pressure inside the hydraulic tubes for the active height control suspension.

      2. The front relief gas chamber is placed directly over the front hydraulic tubes.

      3. A rear relief gas chamber is provided for the rear shock absorber control valve.

      4. The relief gas chamber uses a metallic bellows type hydro-pneumatic accumulator likewise with the No. 2 gas chamber.

      5. The fluid inside the hydraulic tubes is allowed to flow into the relief gas chamber when the fluid pressure inside the hydraulic tubes exceeds the pressure of the nitrogen gas sealed in the relief gas chamber. Thus, fluid pressure increases inside the hydraulic tubes can be reduced.

        A01W5W0C01
        *1 Front Relief Gas Chamber *2 Rear Suspension Control Accumulator Assembly
        *3 Relief Gas Chamber *4 Metallic Bellows
        *5 Fluid Chamber *6 Gas Chamber (Nitrogen Gas)
        Specifications
        Relief Gas Chamber Front Rear
        Sealed Gas Nitrogen Gas
        Gas Chamber Volume 120 cc (7.3 cu in.) 150 cc (9.2 cu in.)
        Sealed Gas Pressure

        13.5 MPa (138 kgf/cm2, 1958 psi)

        10.0 MPa (102 kgf/cm2, 1450 psi)

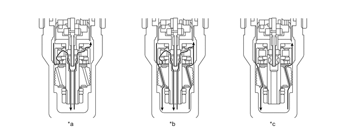
    9. Damping Force Control Actuator


      1. A damping force control actuator is provided for each of the suspension control accumulator assemblies.

      2. This actuator consists of the 16 steps step motor, a screw mechanism (which converts the rotational movement to a linear movement), a spool valve, a soft damping force valve and hard damping force valve.

      3. Signals from the suspension control ECU activate the actuator causing the spool valve to switch the fluid passage. Thus, the volume of fluid that passes through each valve is varied in order to control the damping force in 16 steps.

        A01W5ZBC01
        *1 Front Suspension Control Accumulator Assembly *2 Rear Suspension Control Accumulator Assembly
        *3 16 Steps Step Motor *4 Screw Mechanism
        *5 Spool Valve *6 Hard Damping Force Valve
        *7 Soft Damping Force Valve - -
        *a Cross Section - -

        Figure 8. Fluid Flow in Damping Force Control Actuator

        A01W63HC01
        *a Damping Force (Soft) *b Damping Force (Medium)
        *c Damping Force (Hard) - -
    10. Height Control Sensor


      1. Hall IC type height control sensors have been provided. The Hall IC converts the changes in the magnetic flux that occur at that time into electrical signals, and outputs them in the form of height control sensor effort to the suspension control ECU.

      2. There are 2 front height control sensors, 1 for the right, and the other for the left. They are mounted via the control links to the upper arms of the front suspension and to the body.

      3. There are also 2 rear height control sensors, for the right and left sides. They are mounted via the control links to the upper control arms of the rear suspension and to the body.

      4. Through the use of a height control sensor link and shaft, each height control sensor converts the rectilinear movement of the control link into a rotational movement, and the result is detected in the form of a rotational angle.

        Figure 9. Front Height Control Sensor

        A01W6FJC01
        *1 Control Link *2 Front Height Control Sensor Sub-assembly RH
        *a Bound *b Rebound

        Figure 10. Rear Height Control Sensor

        A01W608C01
        *1 Rear Height Control Sensor Sub-assembly LH *2 Control Link
        *a Bound *b Rebound
  7. System Operation


    1. Height Control


      • The height control controls the vehicle height over 5 levels in accordance with the manual switch operation or the driving conditions.

      • Height control has the following functions:

        Function Outline
        Manual Operation The vehicle height will be automatically adjusted over 3 levels.
        Automatic Leveling This function maintains the vehicle height constant regardless of the load conditions such as the number of occupants or the weight of the cargo under the prescribed loading condition. It effects constant control so that the vehicle height is maintained at a prescribed.
        Extra-High If the crawl control is activated or any of the tires are stuck when the transfer is set in the L4 range and the vehicle height is set to High, the vehicle height is raised up to the Extra-High position, 20 mm (0.8 in.) higher than the position of High.
        Vehicle Speed Sensing The vehicle height will be automatically adjusted in accordance with the vehicle speed and selected vehicle height.
        Vehicle Height Adjustment Prohibition Control When the vehicle is raised on a jack or is being towed with the engine turned off, the vehicle height adjustment can be prevented by operating the height control switch. However, the prohibition control cancels automatically when the vehicle speed becomes higher than approximately 80 km/h (50 mph) at the normal vehicle height, or higher than approximately 30 km/h (19 mph) at the high or low vehicle height.

      1. Manual Operation


        1. General


          1. The following 3 types of vehicle heights can be selected by operating the switch: normal vehicle height (N), low vehicle height (Lo), and high vehicle height (Hi).

            Selected Height Position Lo N Hi
            Vehicle Height Front Approximately -60 mm (-2.4 in.) Standard Vehicle Height Approximately +50 mm (+2.0 in.)
            Rear Approximately -40 mm (-1.6 in.) Standard Vehicle Height Approximately +60 mm (+2.4 in.)
            Vehicle Height Adjustment Speed Up Lo to N: Approximately 11 to 16 seconds*1
            Down N to Lo: Approximately 2 or 5 seconds*2

            Tech Tips

            *1: Vehicle height control speed differs depending on the loaded condition.

            *2: The vehicle height adjustment speed varies depending on the shift positions:


            • Approx. 2 seconds when the shift position is in the P range

            • Approx. 5 seconds when the shift position is in the N range

            Note

            When a load exceeding the following axle weight limitations is applied to the vehicle, it causes the vehicle not to stay at the Normal height. At times like this, it might not be possible to raise the vehicle height even by operating the switch.


            • In normal mode: Front axle weight: 1460 kg (3219 lb) / Rear axle weight: 1800 kg (3968 lb)

        2. Raising the Vehicle Height (Manual Operation)


          1. When the height select switch is operated to raise the vehicle height, the suspension control ECU opens the leveling valves for each of the wheels arranged inside the No. 1 height control valve assembly. This allows the fluid to flow from the pump into the shock absorber and gas chamber from the pump and results in an increase in the vehicle height. Simultaneously, the accumulator valve opens, guiding the fluid into them from the suspension control accumulator, thereby raising the vehicle height.

            A01W62JC01
            *1 Front Shock Absorber LH *2 Height Control Reservoir Assembly
            *3 Height Control Pump and Motor Assembly *4 Oil Temperature
            *5 Pressure Sensor *6 Suspension Control Pump Accumulator Assembly
            *7 Front Shock Absorber RH *8 Damping Force Control Actuator
            *9 No. 2 Gas Chamber *10 Height Control Valve
            *11 Relief Gas Chamber *12 Spring Rate Switching Valve
            *13 No. 1 Gas Chamber *14 No.1 Gas Chamber
            *15 Center Suspension Control Cylinder Sub-assembly *16 Rear Shock Absorber LH
            *17 Rear Shock Absorber RH - -
        3. Lowering the Vehicle Height (Manual Operation)


          1. When the height select switch is operated to lower the vehicle height from High to Normal, or from Normal to Low, the suspension control ECU opens the front and rear leveling valves simultaneously, allowing the fluid in the gas chambers and the shock absorbers arranged for each of the wheels to return into the height control reservoir assembly, thereby lowering the height of the suspension. However, if the rear side is expected to become lower more quickly due to the load condition, and the difference between the lowering of the front side and the rear side becomes greater than a prescribed value, the rear leveling valve closes once, allowing only the vehicle height to become lowered at the front side. This feature prevents the headlights from being aimed upward.

            A01W69EC01
            *1 Front Shock Absorber LH *2 Height Control Reservoir Assembly
            *3 Height Control Pump and Motor Assembly *4 Oil Temperature
            *5 Pressure Sensor *6 Suspension Control Pump Accumulator Assembly
            *7 Front Shock Absorber RH *8 Damping Force Control Actuator
            *9 No. 2 Gas Chamber *10 Height Control Valve
            *11 Relief Gas Chamber *12 Spring Rate Switching Valve
            *13 No. 1 Gas Chamber *14 No.1 Gas Chamber
            *15 Center Suspension Control Cylinder Sub-assembly *16 Rear Shock Absorber LH
            *17 Rear Shock Absorber RH - -
        4. Fluid Stored in Height Control Accumulator


          1. Normally, the suspension control accumulator stores only the amount of fluid that is equivalent that used in raising the vehicle height once. Therefore, after the vehicle has been raised from low to normal, or from normal to high, it is necessary to replenish the fluid in the suspension control accumulator.

          2. At this time, the pump motor is operated to rotate the pump, the leveling valves are closed, the accumulator valve of the suspension control accumulator is opened, and the fluid is stored in the suspension control accumulator.

          3. When the vehicle height is raised while the fluid that is stored in the suspension control accumulator has not reached a prescribed pressure, only the fluid that is discharged by the pump is used for raising the vehicle height, without using the fluid in the suspension control accumulator.

            A01W6LHC01
            *1 Front Shock Absorber LH *2 Height Control Reservoir Assembly
            *3 Height Control Pump and Motor Assembly *4 Oil Temperature
            *5 Pressure Sensor *6 Suspension Control Pump Accumulator Assembly
            *7 Front Shock Absorber RH *8 Damping Force Control Actuator
            *9 No. 2 Gas Chamber *10 Height Control Valve
            *11 Relief Gas Chamber *12 Spring Rate Switching Valve
            *13 No. 1 Gas Chamber *14 No.1 Gas Chamber
            *15 Center Suspension Control Cylinder Sub-assembly *16 Rear Shock Absorber LH
            *17 Rear Shock Absorber RH - -
      2. Vehicle Speed Sensing Function


        • This function automatically adjusts the vehicle height in accordance with the vehicle speed in order to ensure stability and riding comfort while driving.


          1. If the vehicle speed exceeds approximately 12 km/h (7 mph) when the vehicle height is set to Low, the vehicle height will be automatically adjusted to Normal height.

          2. If the vehicle speed exceeds approximately 30 km/h (19 mph) when the vehicle height is set to High, the vehicle height will be automatically adjusted to Normal height.

          3. If the vehicle speed exceeds approximately 100 km/h (62 mph) when the vehicle height is set to Normal height, the vehicle height will be lowered to a position, approximately front: 20 mm (0.8 in.)/rear: 15 mm (0.6 in.) from the Normal height (Normal 2 mode). If the vehicle speed is decreased to approximately 80 km/h (50 mph) or less while this is in effect, the vehicle height is automatically adjusted to Normal height.

          4. If the vehicle speed exceeds approximately 3 km/h (2 mph) when the transfer is set in the L4 range and the vehicle height is set to Normal, and the suspension control ECU determines the vehicle is running on a rough road, the vehicle height is automatically adjusted to High. When the vehicle speed exceeds 40 km/h (25 mph), the vehicle height can be lowered, approximately 25 mm (1.0 in.) from the High height. When the vehicle speed is lowered to approximately 20 km/h (12 mph) or less, the vehicle height is automatically adjusted to High. On the other hand, when the vehicle speed exceeds approximately 80 km/h (50 mph), the vehicle height is automatically adjusted to Normal (L4 mode).

          5. If the vehicle speed exceeds approximately 10 km/h (6 mph) when the vehicle height is set to Extra-High, (approximately 20 mm [0.8 in.] higher than the High height), the vehicle height is automatically adjusted to High.

            Figure 11. Height Control

            A01W6JQE01
    2. Damping Force Control


      • The damping force control has following functions:

        Control Function
        Non-linear H∞ Control Smoothly changes the damping force to a target value in accordance with the changes in the road surface or driving conditions. Thus, excellent ride comfort has been realized while a ensuring a high level of vibration damping performance.
        Thumping Sensitive Control Controls the shock absorbers so that the damping force for the shock absorbers will not increase while driving on a rough road.
        Large-amplitude Control When the suspension control ECU detects any large fluctuation in the wheel stroke when driving at low speeds, the damping force is adjusted to a firmer variable range for a predetermined time, to decrease the spring vibration.
        Roll Posture Control Changes the damping force to control the vehicle posture during cornering. As a result, excellent stability and controllability have been realized during cornering.
        Anti-dive Control During braking, this function makes the damping force firmer to restrain the body dive, thus ensuring excellent stability and controllability.
        Anti-squat Control During acceleration, this function makes the damping force firmer to minimize the changes in the vehicle body posture.
        High Speed Control
        • This function varies the variable range of the damping force according to vehicle speed in order to realize a soft and comfortable ride and a stable driving condition.

        • The damping force is controlled at a softer variable range at low speeds, and at a firmer variable range at high speeds.

        Absorber Control The absorber control switch enables the driver to select a desired damping force from the 3 modes.
        L4 Range Control The damping force is normally controlled in 16 steps. However, when the transfer is set in the L4 range, it is controlled in the intermediate 3 or 8 steps, thereby ensuring riding comfort during off-road driving.

      1. Non-linear H∞ Control


        • This control uses 3 acceleration sensors to detect the sprung acceleration rate that corresponds to the bumps on the road surface and applies the non-linear H∞ control to calculate the target damping force. Unlike linear control which linearly changes the damping force proportional to the sprung acceleration rate, non-linear H∞ control achieves a higher level of vibration damping performance. As a result, superior riding comfort is ensured on any road surface or under any driving conditions.

          A01W6FTE01
      2. Roll Posture Control


        • Changes the damping force to control the vehicle posture during cornering. As a result, excellent stability and controllability have been realized during cornering. This control assumes that two types of shock absorbers (one for restraining roll and the other for restraining lift) are provided at an imaginary point on the inside of the turn of the vehicle. The function of these shock absorbers is to prevent the center of gravity of the vehicle from rising. The damping force of the front and rear shock absorbers is controlled in order to control the vehicle's posture as in this imaginary condition.

        • To effect this control, the suspension stroke information is calculated based on the information from the 3 acceleration sensors and a steering sensor. Thus, the driving conditions of the vehicle are detected.

          A01W603E01
          *1 for Restraining Lift
          *2 Center of Gravity
        • Vehicle condition detection methods have been focused on to achieve comfortable steering operation, thus evolving roll posture control.

        • Compared to the conventional roll posture control based on the steering sensor signal, a yaw rate sensor (deceleration sensor signal) is actively utilized to more finely detect vehicle conditions when turning, thus optimizing and smoothening the damping force switching. As a result, natural and smooth vehicle posture change has been achieved.

    3. Spring Rate Control


      1. The front shock absorber includes No. 1 and No. 2 gas chambers. These gas chambers are automatically selected in accordance with the driving conditions, and this ensures both driving comfort and steering stability.

      2. Under normal driving conditions, the suspension control ECU opens the spring rate control valve and allows the gas chambers to operate, thereby reducing the spring rate and ensuring ride comfort.

      3. If the vehicle speed exceeds a predetermined speed while cornering or when the brake pedal is depressed, the spring rate control closes the spring rate control valve and allows only the No. 2 gas chamber to operate, thereby increasing the spring rate to control the vehicle posture and improve the steering stability.

        Figure 12. Under Normal Driving Conditions

        A01W64EC01
        *1 No. 1 Gas Chamber *2 Spring Rate Switching Valve (Open)
        *3 Front Shock Absorber *4 Relief Gas Chamber
        *5 No. 2 Gas Chamber - -

        Figure 13. When cornering or the brake pedal is being depressed

        A01W6NXC01
        *1 No. 1 Gas Chamber *2 Spring Rate Switching Valve (Closed)
        *3 Front Shock Absorber *4 Relief Gas Chamber
        *5 No. 2 Gas Chamber - -
    4. 4-wheel Related Control


      • When a change in the hydraulic pressure for a shock absorber is required for the driving conditions, the 4-wheel related control adjusts the hydraulic pressure for the other shock absorbers through the center cylinder which is connected to all shock absorbers to stabilize the vehicle posture. Moreover, during cornering, braking and when driving on rough roads, the center cylinder operates differently depending on the center suspension control cylinder sub-assembly structure and shock absorber connection method, thereby achieving the optimum on-road and off-road driving performance.

        A01W6XCE01

      1. Driving under rough road conditions (When an impact force is applied to only one wheel)


        • When an impact is only applied to the front right wheel during on-road driving, the piston placed inside the center cylinder moves to the left in accordance with increase in the wheel pressure. This movement prompts the other shock absorbers to expand or contract as shown in the illustration, thereby improving the grounding performance.

          A01W6ZU
      2. While Cornering


        • As shown in the illustration, when a small load is applied to the rear of the vehicle and the rolling stiffness of the suspension for the front wheels is high, the hydraulic pressure of the front right absorber is high, thus, the piston inside the center cylinder moves to the left in accordance with changes in the hydraulic pressure balance for each of the wheels. As a result, the pressure is applied to the rear right absorber, and the rear suspension is caused to move in the opposite direction from that of the front suspension.

        • On the other hand, when a large load is applied to the rear of the vehicle and the rolling stiffness of the suspension for the rear wheels is high, the hydraulic pressure of the rear right absorber is high, thus, the piston inside the center cylinder moves to the right in accordance with changes in the hydraulic pressure balance for each of the wheels. As a result, the pressure is applied to the front right absorber, and the front suspension is caused to move in the opposite direction from that of the rear suspension. This optimizes the rolling stiffness distribution regardless of load quantity and improves the steering stability.

          Figure 14. When Cornering Left (Front wheel rolling stiffness is high)

          A01W6L2

          Figure 15. When Cornering Left (Rear wheel rolling stiffness is high)

          A01W6ZE
  8. Fail-safe


    1. If the suspension control ECU detects a malfunction in the active height control suspension, the ECU illuminates the master warning light, indicates the warning message on the multi-information display, and sounds the buzzer to inform the driver of the malfunction.

    2. When a vehicle can still be driven even if a system malfunction occurs, the vehicle height is automatically returned to the Normal height at a speed of 30 km/h (19 mph) or more.

  9. Diagnosis


    1. If a system malfunction occurs, Diagnostic Trouble Code (DTC) is stored in memory of the suspension control ECU. The DTC can be read by connecting a Global TechStream (GTS). For details, refer to the Repair Manual.

  10. Active Test


    1. Vehicle height control and damping force control operation in the suspension system can be checked by connecting a Global TechStream (GTS). For details, refer to the Repair Manual.