General
Maintenance-free upper and lower ball joints and front axle hub bearings are used. The front axle hub bearings that are used are unit-type double-row tapered roller bearings.
Unit-type double-row angular ball bearings are used for the rear axle shaft bearings.
The speed sensor rotors have been integrated in the inner races of the front and rear wheel bearings due to the adoption of active type speed sensors (for the brake control system).
Figure 1. Front Axle
| *1 | Double-row Tapered Roller Bearing | *2 | Lock Nut |
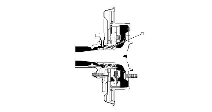
Figure 2. Rear Axle
| *1 | Double-row Angular Ball Bearing | - | - |
Tech Tips
Speed Sensor Rotor Handling Precautions:
Do not allow any iron particles, iron sand, dust, debris, or oil to come in contact with the surface of the speed sensor rotor.
Do not place magnetized objects close to the surface of the speed sensor rotor.