Front Exterior Light
| *A | Models with Front Fog Light | *B | Models with Fender Type Side Turn Signal Light |
| *C | Models with Outer Rear View Mirror Assembly with Side Turn Signal Light | - | - |
| *1 | Headlight Assembly | *2 | Front Fog Light |
| *3 | Side Turn Signal Light | - | - |
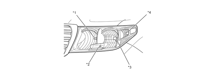
Figure 1. Models with Halogen Headlight
| *1 | High Beam Headlight | *2 | Clearance Light |
| *3 | Low Beam Headlight | *4 | Front Turn Signal Light |
Figure 2. Models with HID Headlight
| *1 | High Beam Headlight | *2 | Clearance Light |
| *3 | Low Beam Headlight | *4 | Front Turn Signal Light |
Figure 3. Models with LED Headlight
| *1 | High Beam Headlight | *2 | Daytime Running Light / Front Position Light |
| *3 | Low Beam Headlight | *4 | Front Turn Signal Light |
| Light | Type | Wattage | |
|---|---|---|---|
| Headlight Assembly (Models with Halogen Headlight) | Low Beam Headlight | Halogen Bulb | 55W |
| High Beam Headlight | Halogen Bulb | 60W | |
| Clearance Light | Bulb | 5W | |
| Front Turn Signal Light | Bulb | 21W | |
| Headlight Assembly (Models with HID Headlight) | Low Beam Headlight | Discharge Bulb | 35W |
| High Beam Headlight | Halogen Bulb | 60W | |
| Clearance Light | LED | 0.4W | |
| Front Turn Signal Light | Bulb | 21W | |
| Headlight Assembly (Models with LED Headlight) | Low Beam Headlight | LED | 19W |
| High Beam Headlight | Halogen Bulb | 60W | |
| Front Position Light | LED | 0.4W | |
| Daytime Running Light | 8.0W | ||
| Front Turn Signal Light | Bulb | 21W | |
| Front Fog Light (Models with Front Fog Light) | Bulb | 19W | |
| Side Turn Signal Light (Models with Outer Rear View Mirror Assembly with Side Turn Signal Light) | LED | 0.4W | |
| Side Turn Signal Light (Models with Fender Type Side Turn Signal Light) | Bulb | 5W | |
Rear Exterior Light
Models with Lift-up Type Back Door
| *A | Models with Rear Fog Light | - | - |
| *1 | Center Stop Light | *2 | Rear Combination Light Assembly |
| *3 | Rear Light Assembly | *4 | Rear Fog Light |
| *5 | License Plate Light | - | - |
| *1 | Taillight / Stop Light | *2 | Rear Turn Signal Light |
| *3 | Stop Light | *4 | Back-up Light |
| *5 | Taillight | - | - |
| Light | Type | Wattage | |
|---|---|---|---|
| Rear Combination Light Assembly | Taillight / Stop Light | LED | 0.4W / 5.8W |
| Stop Light | LED | 5.8W | |
| Rear Turn Signal Light | Bulb | 16W | |
| Rear Light Assembly | Taillight | LED | 0.5W |
| Back-up Light | Bulb | 16W | |
| Center Stop Light | LED | 2.2W | |
| License Plate Light | Bulb | 5W | |
| Rear Fog Light (Models with Rear Fog Light) | Bulb | 21W | |
Models with Swing Type Back Door
| *1 | Rear Combination Light Assembly | *2 | Back-up Light |
| *3 | License Plate Light | *4 | Center Stop Light |
| *1 | Rear Turn Signal Light | *2 | Taillight / Stop Light |
| Light | Type | Wattage | |
|---|---|---|---|
| Rear Combination Light Assembly | Taillight / Stop Light | Bulb | 5W / 21W |
| Rear Turn Signal Light | Bulb | 21W | |
| Center Stop Light | LED | 1.0W | |
| License Plate Light | Bulb | 5W | |
| Back-up Light | Bulb | 16W | |
PRECAUTION
Ignition Switch Expressions
The type of ignition switch used on this model differs depending on the specifications of the vehicle. The expressions listed in the table below are used in this section.
| Expression | Ignition Switch (Position) | Engine Switch (Condition) |
|---|---|---|
| Ignition Switch off | LOCK | Off (Lock) |
| Ignition Switch ACC | ACC | On (ACC) |
| Ignition Switch ON | ON | On (IG) |
| Engine Start | START | On (Start) |