1VD-FTV ENGINE


  1. General


    1. Each cylinder has 2 intake valves and 2 exhaust valves. Intake and exhaust efficiency is increased by means of the larger total port areas.

    2. The timing gear train uses a combination of gears and a timing chain.

    3. This engine uses roller rocker arms with built-in needle bearings. This reduces the friction that occurs between the cams and the areas (roller rocker arms) that push the valves down, thus improving fuel economy.

    4. Valve lash adjuster assemblies, which maintain a constant zero valve clearance through the use of oil pressure and spring force, are used.

      A01W60UC01
      *1 Exhaust Camshaft *2 Intake Camshafts
      *3 Valve Rocker Arm Sub-assembly *4 Valve Spring Retainer
      *5 Compression Spring *6 Valve
      *7 Valve Spring Seat *8 Valve Guide Bush
      *9 Valve Lash Adjuster Assembly - -
  2. Timing Gear Train


    1. An intake camshaft is driven by gears and a timing chain, and the exhaust camshaft is driven by a cam gear attached to the intake camshaft.

    2. Timing chains use bush chains with a pitch of 9.525mm (0.375 in.).

    3. The timing chains are lubricated by an oil jet.

    4. Chain tensioners use a spring and oil pressure to maintain proper chain tension at all times. They suppress noise generated by the timing chains

    5. The chain tensioners are the ratchet type with a non-return mechanism.

    6. The No. 1 Idle gear and cam gear are constructed with a scissors gear to reduce noise.

      A01W6YXC01
      *1 Supply Pump Drive Gear *2 No. 1 Chain Vibration Damper
      *3 Oil Jet *4 No. 1 Timing Chain
      *5 No. 1 Camshaft Timing Sprocket *6 Cam Gear
      *7 No. 1 Chain Tensioner Assembly *8 Plunger
      *9 Spring *10 Cam Spring
      *11 Cam *12 No. 1 Chain Tensioner Slipper
      *13 Crankshaft Timing Gear *14 No. 1 Idle Gear
      *15 No. 2 Chain Vibration Damper *16 No. 2 Camshaft Timing Sprocket
      *17 No. 2 Timing Chain *18 No. 2 Chain Tensioner Slipper
      *19 No. 2 Chain Tensioner Assembly - -
  3. Timing Chain Cover


    1. The timing chain cover has an integrated construction consisting of the cooling system (water pump and water passage). Thus, the number of parts has been reduced for weight reduction.

      A01W6ALC01
      *1 Water Pump Assembly *2 Water Pump Gasket
      *3 Timing Chain Cover - -
      *a Water Pump Swir lChamber - -
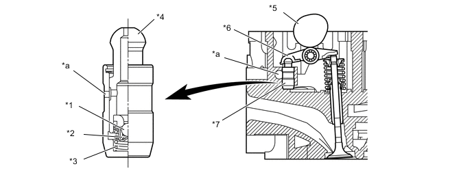
  4. Hydraulic Lash Adjuster


    1. The valve lash adjuster assembly, which is located at the fulcrum of the roller rocker arm sub-assembly, consists primarily of a plunger, plunger spring, check ball, and check ball spring.

    2. The engine oil that is supplied by the cylinder head and the built-in spring actuates the valve lash adjuster assembly. The oil pressure and the spring force that act on the plunger push the roller rocker arm sub-assembly against the cam, in order to adjust the valve clearance that is created during the opening and closing of the valve. As a result, engine noise is reduced.

      A01W6M5C01
      *1 Check Ball *2 Check Ball Spring
      *3 Plunger Spring *4 Plunger
      *5 Cam *6 Roller Rocker Arm Sub-assembly
      *7 Valve Lash Adjuster Assembly - -
      *a Oil Passage - -

      Tech Tips

      Valve clearance adjustment is not necessary because a valve lash adjusters are used in this model.