1GR-FE ENGINE


  1. General


    1. A serpentine belt drive system, which drives all accessory components by a single V-ribbed belt, is used. It reduces the overall engine length, weight and the number of engine parts.

    2. An automatic tensioner is used. This makes tension adjustment unnecessary.

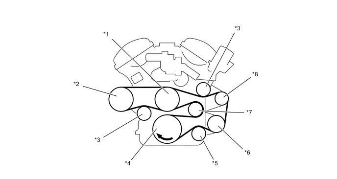
      A01W6AQC01
      *1 Water Pump Pulley *2 Vane Pump Pulley (Power Steering)
      *3 No. 2 Idler Pulley Sub-assembly *4 Crankshaft Pulley
      *5 No. 1 Idler Pulley Sub-assembly *6 Air Conditioning Compressor Pulley
      *7 V-ribbed Belt Tensioner (Automatic Tensioner) *8 Generator Pulley