1GR-FE ENGINE


  1. General


    1. Intake System


      1. A linkless-type throttle body is used to achieve excellent throttle control.

        A01W6WCC01
        *1 Air Cleaner Assembly *2 Throttle Body
        *3 Intake Air Chamber *4 Intake Manifold
      2. The Electronic Throttle Control System-intelligent (ETCS-i) is used to ensure excellent throttle control in all operating ranges.

    2. Exhaust System


      1. Stainless steel exhaust manifolds and exhaust pipes are used.

        A01W6O0C01
        *1 Exhaust Manifold RH *2 Exhaust Manifold LH
        *3 TWC *4 Front Exhaust Pipe Assembly
        *5 Front No. 2 Exhaust Pipe Assembly *6 Center Exhaust Pipe Assembly
        *7 Tail Pipe Assembly - -
      2. An air injection pipe is used to the exhaust manifolds.

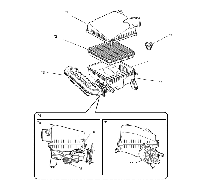
  2. Air Cleaner


    1. A nonwoven, full-fabric type air cleaner element is used.

    2. A cyclone pre-cleaner has been provided in the air cleaner case.* This cyclone pre-cleaner has a screw shape (turbinated blade) and gathers large dust particles in a dust cup by swirling the inlet air. The dust cup is removable from the inside of the air cleaner case, so the dust gathered can be disposed.


      • *: Models with pre-cleaner

    3. A rear duct is provided for the air cleaner inlet, thus enhancing anti-dust performance while keeping engine performance.

      A01W6K4C03
      *1 Air Cleaner Cap *2 Air Cleaner Filter Element
      *3 Air Cleaner Inlet *4 Air Cleaner Case
      *5 Dust Cup *6 Cyclone Pre-cleaner
      *7 Turbinated Blade - -
      *a Rear View *b Side View
      *c Swirl Air Flow - -
  3. Throttle Body


    1. A link-less type throttle body in which the throttle position sensor and the throttle control motor are integrated is used. It realizes excellent throttle valve control.

    2. As a throttle control motor, a DC motor with excellent response and minimal power consumption is used. The ECM performs duty ratio control of the direction and the amperage of the current that is supplied to the throttle control motor in order to regulate the throttle valve angle.

      A01W62KC01
      *1 Throttle Position Sensor *2 DC Motor
      *3 Throttle Valve *4 Reduction Gears
  4. Intake Manifold


    1. Light weight aluminum alloy is used for the intake manifold.

    2. This intake manifold consists of two pieces, the upper and lower, which are sealed with a rubber gasket and adhesive.

      A01W6U6C01
      *1 Intake Manifold *2 Rubber Gasket
      *a Upper *b Lower
      *c Adhesive - -

      Tech Tips


      • Do not disassemble the upper and lower portions of the two-piece intake manifold, which are sealed with a rubber gasket and adhesive.

      • To remove the intake manifold assembly, remove the 10 bolts that are shown in the illustration.

      • These bolts have the head of hexagon shape.

        A01W66E
  5. Exhaust Manifold


    1. A stainless steel exhaust manifold is used for weight reduction and rust resistance.

    2. A ceramic type Three-Way Catalytic converter (TWC) is provided in each exhaust manifold for the right bank and the left bank.

      A01W6VOC01
      *1 Exhaust Manifold Sub-assembly RH *2 Exhaust Manifold Sub-assembly LH
      *3 Gasket *4 TWC
  6. Exhaust Pipe


    1. A stainless steel exhaust pipe is used for weight reduction and rust resistance.

    2. The ceramic type TWC is used.

    3. A ball joint is used to join the front exhaust pipe assembly and the center exhaust pipe assembly. As a result, a simple and reliable construction for reducing vibration has been realized.

      A01W6H9C01
      *1 Front Exhaust Pipe Assembly *2 Front No. 2 Exhaust Pipe Assembly
      *3 Center Exhaust Pipe Assembly *4 Tail Pipe Assembly
      *5 Gasket *6 TWC
      *a Ball Joint *b Front