CLUTCH SYSTEM


  1. CONSTRUCTION


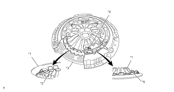
    1. Self-adjusting Type Clutch Cover


      1. The self-adjusting type clutch cover consists of the diaphragm spring, sensor spring, adjust ring, coil spring and pressure plate.

        A002K83E01
        Text in Illustration
        *1 Diaphragm Spring *2 Sensor Spring
        *3 Pressure Plate *4 Coil Spring
        *5 Adjust Ring - -
  2. OPERATION


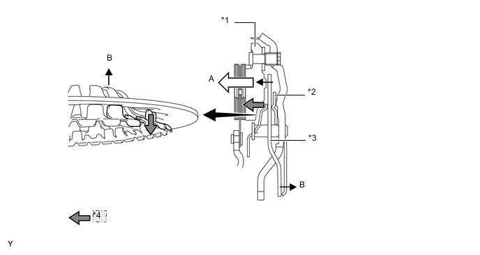
    1. Self-adjusting Type Clutch Cover


      1. When the clutch disc wears, the pressure plate will move in the direction shown by arrow A. The height of the tip of the diaphragm spring will also increase in the direction shown by arrow B, resulting in a change in the diaphragm spring posture. This will increase the installed load of the diaphragm spring applied to the sensor spring.

      2. When the installed load becomes excessive, the sensor spring will deform.

      3. The clearance between the diaphragm spring and adjust ring will increase due to the deformation of the sensor spring.

        A002K04E01
        *1 Pressure Plate
        *2 Adjust Ring
        *3 Diaphragm Spring
        *4 Installed load applied to the sensor spring
      4. However, the coil spring of the clutch cover will rotate the adjust ring, eliminating this clearance.

      5. The diaphragm spring posture will be maintained by this mechanism, ensuring a constant pedal effort.

        A002K5AE01
        Text in Illustration
        *1 Sensor Spring *2 Coil Spring