LANE DEPARTURE ALERT SYSTEM

A002K48E01
Text in Illustration
*1 Pre-collision City Sensor *2 Front Speed Sensor RH
*3 Skid Control ECU *4 Front Speed Sensor LH
*5 Rear Speed Sensor LH *6 Rear Speed Sensor RH
*7 Camera Heater (Pre-collision City Heater) - -
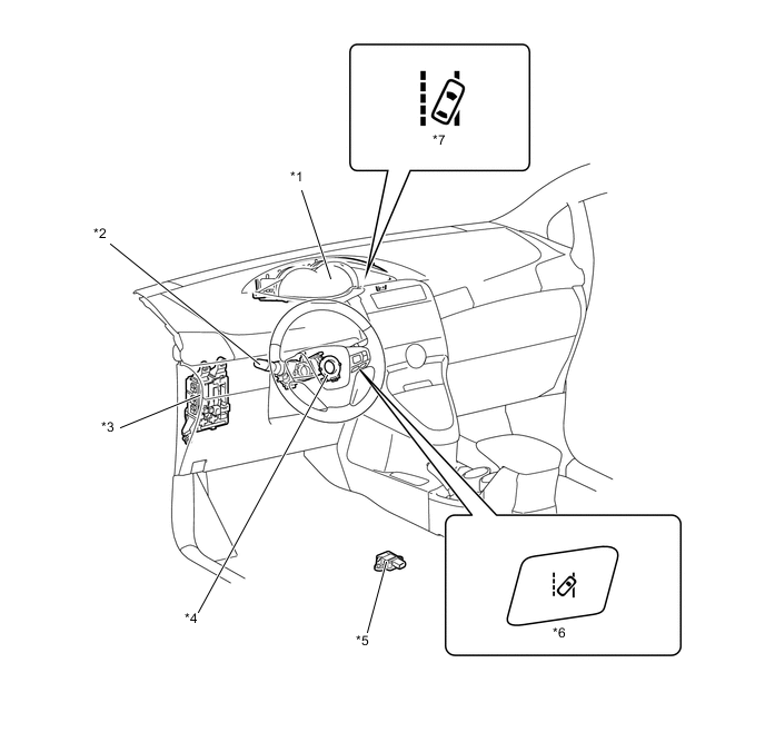
A002K4OE02
Text in Illustration
*1

Combination Meter Assembly

- Multi-information Display

- Buzzer

*2 Headlight Dimmer Switch Assembly
*3 Main Body ECU (Instrument Panel Junction Block Assembly) *4 Steering Angle Sensor
*5 Yawrate Sensor *6

Steering Pad Switch Assembly

- LDA Main Switch

*7 LDA Indicator Light - -