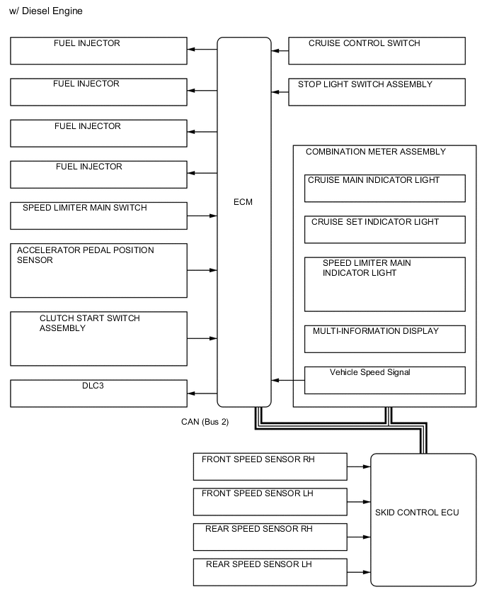
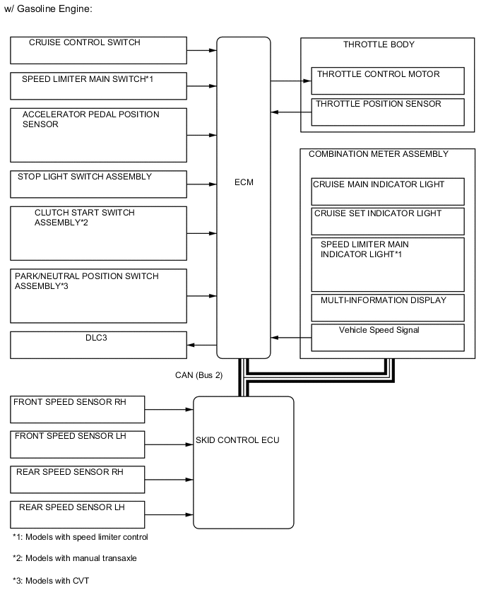
CRUISE CONTROL SYSTEM

A002K7PE04
A002JQTE03