BODY STRUCTURE


  1. FUNCTION


    1. Impact Absorbing Structure for Frontal Collision


      1. A structure that ensures collision energy absorption efficiency, dissipates impact, and minimizes cabin deformation during a frontal collision has been achieved.

      2. Impact energy during a frontal collision will first be dispersed into the left and right front side members by the front bumper reinforcement. Then, it will be dispersed again into the rocker panel and front under floor.

      3. Impact energy received by the upper member will be dispersed into the front door beltline reinforcements and front body pillar reinforcements.

        B0041GJE04
        Text in Illustration
        *1 Front Bumper Reinforcement *2 Front Side Member
        *3 Upper Member *4 Front Door Beltline Reinforcement
        *5 Front Body Pillar Reinforcement - -
        B0041GB Path of Collision Energy B0041G0 Frontal Collision
    2. Impact Absorbing Structure for Side Collision


      1. A structure that ensures collision energy absorption efficiency, dissipates impact, and minimizes cabin deformation during a side collision has been achieved.

      2. Ultra high strength steel sheet is used for the rocker outer reinforcement and center body pillar upper hinge reinforcement, and high strength steel sheet is used for the center body pillar outer reinforcement and rail outer reinforcement, to ensure high strength.

      3. By providing bulkheads inside the rockers and thus controlling rocker bending, cabin deformation suppression has been aimed for.

      4. Optimal placement of the door side impact protection beams enables a construction that efficiently transmits load.

        B0041DIE05
        Text in Illustration (5-Door Models:)
        *1 Rocker Outer Reinforcement *2 Center Body Pillar Upper Hinge Reinforcement
        *3 Center Body Pillar Outer Reinforcement *4 Bulkhead
        *5 Front Door Side Impact Protection Beam *6 Rear Door Side Impact Protection Beam
        *a A-A Cross Section *b B-B Cross Section
        B0041GB Path of Collision Energy B0041G0 Side Collision
        B0041FXE04
        Text in Illustration (3-Door Models:)
        *1 Rocker Outer Reinforcement *2 Center Body Pillar Upper Hinge Reinforcement
        *3 Center Body Pillar Outer Reinforcement *4 Bulkhead
        *5 Front Door Side Impact Protection Beam - -
        *a A-A Cross Section *b B-B Cross Section
        B0041GB Path of Collision Energy B0041G0 Side Collision
    3. Lessening Pedestrian Injury


      1. A front bumper energy absorber and a front bumper energy absorber sub-assembly are provided in front of the front bumper reinforcement and below the lower radiator support. This structure helps lessen the impact applied to the legs of the pedestrians.

        B0041ANC02
        *1 Front Bumper Energy Absorber *2 Front Bumper Cover
        *3 Front Bumper Reinforcement *4 Lower Radiator Support
        *5 Front Bumper Energy Absorber Sub-assembly - -
        *a A-A Cross Section *b This illustration shown is an example only.
      2. A pantograph construction, which absorbs the impact it receives while collapsing, is used in the hood reinforcement. During a collision with a pedestrian, a deformable space for the pedestrian's head to strike is provided, which helps to reduce the predicted impact to the pedestrian's head.

        B0041H8E04
        Text in Illustration
        *1 Hood Reinforcement *2 Hood Inner Panel
        *3 Hood Sub-assembly *4 Hood Striker
        *5 Engine - -
        *a A-A Cross Section *b Before Collision
        *c Space - -
        B0041GB Impact - -
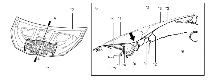
      3. An impact absorbing bracket (front apron to cowl side member plate) is used for the mounting portion of the front fender panel to absorb impact energy to the head of the pedestrian in a collision, thus helps dampening the impact to the head.

        B00419QE04
        Text in Illustration
        *1 Front Fender Panel (Front Fender Sub-assembly) *2 Impact Absorbing Bracket (Front Apron to Cowl Side Member Plate)
      4. The cowl uses an open section structure that collapses easily in an impact from the top, thus helps reducing the impact to and head injuries sustained by a pedestrian in an accident.

      5. A certain amount of depth has been provided internally under the location where the windshield wiper is mounted to allow the windshield wiper to be pushed downward if a pedestrian's head collides with the area, thus helps reducing the impact to their head during a collision.

        B0041BME03
        Text in Illustration
        *1 Windshield *2 Hood Sub-assembly
        *3 Windshield Wiper - -
        *a A-A Cross Section *b B-B Cross Section
        *c Before Collision *d Space
        B0041GB Impact - -
      6. In order to help reduce collision impact for pedestrians, a space has been provided under the left and right hood hinge arms so that they can move if a pedestrian's head collides with the hood.

        B0041DNE05
        Text in Illustration
        *1 Hood Sub-assembly *2 Hood Hinge Assembly
        *a A-A Cross Section *b B-B Cross Section
        *c Before Collision *d Space
        B0041GB Impact - -
    4. Aerodynamics


      1. Various types of airflow routing parts are provided under the floor to control airflow.

      2. Spats are fitted at the front of the front and rear tires to direct the airflow, and this reduces air turbulence into the wheel house, leading to enhanced straight driving stability at high speeds.

      3. The outer rear view mirror shape has been optimized to increase the aerodynamics.

      4. A rear spoiler sub-assembly and rear side spoiler is provided, giving a rectifying effect and allowing superior aerodynamic performance.

      5. Fins are provided to the engine under cover, in order to smooth the airflow under the vehicle body to enhance driving stability.

        B00419CC01
        *A Except GRMN *B For GRMN
        *C Models with Front Spoiler *D Models with Rear Spoiler
        *E Models with Rear Side Spoiler - -
        *1 Front Spat (Front Wheel Opening Extension Pad) *2 Fin
        *3 Front Spoiler Cover *4 Center Spat (Rocker Panel Moulding Protector)
        *5 Rear Spat (Rear Wheel Opening Extension Pad) *6 No. 1 Floor Under Cover
        *7 Outer Rear View Mirror Assembly *8 Rear Spoiler Sub-assembly
        *9 Rear Side Spoiler - -
        *a This illustration shown is an example only. - -
      6. The front fender liner and bracket ensure a space before the vehicle body, which provides efficient ventilation of the air inside the engine compartment.

        B0041LIC01
        *1 Front Fender Liner *2 Tire
        *a A Site *b Fin
        *c B - B Cross Section - -
        B0041GB Airflow - -
  2. CONSTRUCTION


    1. Lightweight and Highly Rigid Body


      1. High strength steel sheet and ultra high strength steel sheet are used in order to achieve excellent body rigidity and a lightweight body.

        Figure 1. 5-Door Models

        B00419YC01
        B0041L5 High Strength Steel Sheet B0041IT Ultra High Strength Steel Sheet

        Figure 2. 3-Door Models

        B0041GHC01
        B0041L5 High Strength Steel Sheet B0041IT Ultra High Strength Steel Sheet
    2. Body Shell Construction


      1. Sufficient rigidity has been ensured by using the outer cowl top panel as a framework cross member to smoothly connect the left and right front suspension towers. In this way, good driving stability has been achieved.

        B0041FPE05
        Text in Illustration
        *1 Outer Cowl Top Panel - -
        B0041GB Front - -
      2. The roof side outer reinforcements consist of a close section structure and are joined with the rear absorber plates to deliver rigidity to the areas where the rear suspension is installed.

      3. The back door circumference employs a close section structure and corner reinforcements to make the back door opening rigid.

      4. In order to provide rigidity against counter twisting forces while delivering excellent driving stability, the roof side inner rear and lower back reinforcements have been joined to the lower extensions, and also the lower back reinforcements, wheel house inner gussets and side outer panels have been joined to the rear floor side members.

        B0041DPE05
        Text in Illustration
        *1 Roof Side Outer Reinforcement *2 Rear Absorber Plate
        *3 Corner Reinforcement *4 Lower Extension
        *5 Roof Side Inner Rear *6 Lower Back Reinforcement
        *7 Rear Floor Side Member *8 Wheel House Inner Gusset
        *9 Side Outer Panel - -
    3. Anti-corrosion Sheet Steel


      1. Anti-corrosion sheet steel is used as in the following illustration:

        Figure 3. 5-Door Models

        B0041L1C01
        B0041L5 Anti-corrosion Sheet Steel - -

        Figure 4. 3-Door Models

        B004178C01
        B0041L5 Anti-corrosion Sheet Steel - -
    4. Wax and Anti-chipping Application


      1. Wax is applied to front end of hood sub-assembly, edge of the door lower portion and fuel filler lid hinge to improve rust-resistant performance.

      2. To protect the paint from chipping, anti-chipping paint is applied to the rockers and the front end of the hood sub-assembly.

        B0041DLC01
        *1 Fuel Filler Lid Hinge *2 Door Hinge
        *a The illustrations shown are examples only. - -
        B0041KC Wax B0041L5 Anti-chipping Paint
    5. Under Coat


      1. Acrylic resin is applied to the underside of the body, inside the wheel housing and other parts that are susceptible to stone chipping damage, thus improving the rust-resistant performance of these areas.

        B0041BDE03
        Text in Illustration
        *a Front Wheel House *b Rear Wheel House
        B00418C Edge Seal B0041L5 Acrylic Resin Coating Area
        B0041IT Acrylic Resin Coating Area (Thick Coating) - -
    6. Low Vibration and Low Noise Body


      1. A hood insulator is provided on the rear of the hood sub-assembly. This achieves excellent sound insulation performance.

      2. An outer dash panel insulator, an outer No. 2 dash panel insulator and a fender liner silencer are provided. These reduce the amount of engine noise leaking into and out of the cabin.

      3. A front fender side panel protector is provided. This prevents road noise from entering the cabin, and achieves superior quietness.

        B0041IZE02
        Text in Illustration
        *1 Hood Insulator *2 Outer Dash Panel Insulator
        *3 Outer No. 2 Dash Panel Insulator *4 Fender Liner Silencer
        *5 Front Fender Side Panel Protector - -
      4. To reduce the amount of road noise, engine noise and droning sound that enters the cabin, the floor panel is coated with a vibration damping coat.

        B0041JE
        Text in Illustration
        B0041L5 Spray Type Damping Material Application Area - -
      5. A sound insulation material is used in the body frame profile, thus reducing the various noises which intrude from the outside of the vehicle to the inside of the cabin.

      6. Rocker panel moulding is provided on the underside of the rockers, thus reducing the sound of sand and pebbles thrown up from the road.

        B0041L6E01
        Text in Illustration
        *1 Rocker Panel Moulding - -
        *a 3-door Models *b A-A Cross Section
        B0041L5 Polyurethane Form B0041IT Expanded Form
        B0041KC Polyethylene Sealer - -
    7. Parts with Low Repair Cost


      1. A crush box structure is used to reduce body deformation during minor collisions. A structure with screw connections is provided for the front bumper arm sub-assembly and the rear bumper arm reinforcement to enable easy removal and installation, thus achieving simpler servicing operation and repair cost reduction.

        B0041HLE05
        Text in Illustration (Front:)
        *1 Front Bumper Reinforcement *2 Front Bumper Arm Sub-assembly
        *3 Bolt - -
        B0041BWE05
        Text in Illustration (Rear:)
        *1 Rear Bumper Reinforcement *2 Rear Bumper Arm Reinforcement
        *3 Bolt - -