BODY STRUCTURE


  1. FUNCTION


    1. Impact Absorbing Structure for Frontal Collision


      1. A structure that ensures collision energy absorption efficiency, dissipates impact, and minimizes cabin deformation during a frontal collision has been achieved.

      2. Impact energy during a frontal collision will first be dispersed into the left and right front side members by the front bumper reinforcement. Then, it will be dispersed again into the rocker panel and front under floor.

      3. Impact energy received by the upper member will be dispersed into the front door beltline reinforcements and front body pillar reinforcements.

        A01UWJYE04
        Text in Illustration
        *1 Front Bumper Reinforcement *2 Front Side Member
        *3 Upper Member *4 Front Door Beltline Reinforcement
        *5 Front Body Pillar Reinforcement - -
        A01UWJU Path of Collision Energy A01UWQJ Frontal Collision
    2. Impact Absorbing Structure for Side Collision


      1. A structure that ensures collision energy absorption efficiency, dissipates impact, and minimizes cabin deformation during a side collision has been achieved.

      2. Ultra high strength steel sheet is used for the rocker outer reinforcement and center body pillar upper hinge reinforcement, and high strength steel sheet is used for the center body pillar outer reinforcement and rail outer reinforcement, to ensure high strength.

      3. By providing bulkheads inside the rockers and thus controlling rocker bending, cabin deformation suppression has been aimed for.

      4. Optimal placement of the door side impact protection beams enable a construction that efficiently transmits load.

        A01UWIZE05
        Text in Illustration (5-Door Models:)
        *1 Rocker Outer Reinforcement *2 Center Body Pillar Upper Hinge Reinforcement
        *3 Center Body Pillar Outer Reinforcement *4 Bulkhead
        *5 Front Door Side Impact Protection Beam *6 Rear Door Side Impact Protection Beam
        *a A-A Cross Section *b B-B Cross Section
        A01UWJU Path of Collision Energy A01UWQJ Side Collision
        A01UW4TE04
        Text in Illustration (3-Door Models:)
        *1 Rocker Outer Reinforcement *2 Center Body Pillar Upper Hinge Reinforcement
        *3 Center Body Pillar Outer Reinforcement *4 Bulkhead
        *5 Front Door Side Impact Protection Beam - -
        *a A-A Cross Section *b B-B Cross Section
        A01UWJU Path of Collision Energy A01UWQJ Side Collision
    3. Lessening Pedestrian Injury


      1. A front bumper energy absorber and a front bumper energy absorber sub-assembly are provided in front of the front bumper reinforcement and below the lower radiator support. This structure helps lessen the impact applied to the legs of the pedestrians.

        A01UWBEE03
        Text in Illustration
        *1 Front Bumper Energy Absorber *2 Front Bumper Energy Absorber Sub-assembly
        *3 Front Bumper Reinforcement *4 Front Bumper Cover
        *5 Lower Radiator Support - -
        *a A-A Cross Section - -
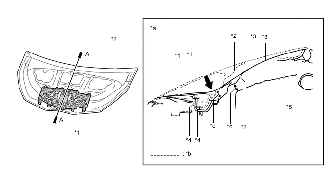
      2. A pantograph construction, which absorbs the impact it receives while collapsing, is used in the hood reinforcement. During a collision with a pedestrian, a space for the pedestrian's head to stroke is ensured, and helps reducing the predicted impact to the pedestrian's head.

        A01UWIOE04
        Text in Illustration
        *1 Hood Reinforcement *2 Hood Inner Panel
        *3 Hood Sub-assembly *4 Hood Striker
        *5 Engine - -
        *a A-A Cross Section *b Before Collision
        *c Space - -
        A01UWJU Impact - -
      3. An impact absorbing bracket (front apron to cowl side member plate) is used for the mounting portion of the front fender panel to absorb impact energy to the head of the pedestrian in a collision, thus helps dampening the impact to the head.

        A01UWDDE04
        Text in Illustration
        *1 Front Fender Panel (Front Fender Sub-assembly) *2 Impact Absorbing Bracket (Front Apron to Cowl Side Member Plate)
      4. The cowl uses an open section structure that collapses easily in an impact from the top, thus helps reducing the impact to and head injuries sustained by a pedestrian in an accident.

      5. A certain amount of depth has been provided internally under the location where the windshield wiper is mounted to allow the windshield wiper to be pushed downward if a pedestrian's head collides with the area, thus helps reducing the impact to their head during a collision.

        A01UWGME05
        Text in Illustration
        *1 Windshield *2 Hood Sub-assembly
        *3 Windshield Wiper - -
        *a A-A Cross Section *b B-B Cross Section
        *c Before Collision *d Space
        A01UWJU Impact - -
      6. In order to help reduce collision impact for pedestrian, a space has been provided under the left and right hood hinge arms so that they can move if a pedestrian's head collides with the hood.

        A01UWDXE05
        Text in Illustration
        *1 Hood Sub-assembly *2 Hood Hinge Assembly
        *a A-A Cross Section *b B-B Cross Section
        *c Before Collision *d Space
        A01UWJU Impact - -
    4. Aerodynamics


      1. Various types of airflow routing parts are provided under the floor to control airflow.

      2. Spats are fitted at the front of the front and rear tires to direct the airflow, and this reduces air turbulence into the wheel house, leading to ensured straight driving stability at high speeds.

      3. The outer rear view mirror shape has been optimized to increase the aerodynamics.

      4. A rear spoiler sub-assembly is provided, giving a rectifying effect and allowing superior aerodynamic performance.

        A01UW4ZE02
        Text in Illustration
        *1 Front Spoiler Cover *2 Front Spat (Front Wheel Opening Extension Pad)
        *3 Center Spat (Rocker Panel Moulding Protector) *4 Rear Spat (Rear Wheel Opening Extension Pad)
        *5 No. 1 Floor Under Cover *6 Outer Rear View Mirror Assembly
        *7 Rear Spoiler Sub-assembly - -
  2. CONSTRUCTION


    1. Lightweight and Highly Rigid Body


      1. High strength steel sheet and ultra high strength steel sheet are used in order to achieve excellent body rigidity and a lightweight body.

        A01UWLT
        Text in Illustration (5-Door Models:)
        A01UWB6 High Strength Steel Sheet A01UW8X Ultra High Strength Steel Sheet
        A01UWC3
        Text in Illustration (3-Door Models:)
        A01UWB6 High Strength Steel Sheet A01UW8X Ultra High Strength Steel Sheet
    2. Body Shell Construction


      1. Sufficient rigidity has been ensured by using the outer cowl top panel as a framework cross member to smoothly connect the left and right front suspension towers. In this way, good driving stability has been achieved.

        A01UWA2E05
        Text in Illustration
        *1 Outer Cowl Top Panel - -
        A01UWJU Front - -
      2. The roof side outer reinforcements consist of a close section structure and are joined with the rear absorber plates to deliver rigidity to the areas where the rear suspension is installed.

      3. The back door circumference employs a close section structure and corner reinforcements to make the back door opening rigid.

      4. In order to provide rigidity against counter twisting forces while delivering excellent driving stability, the roof side inner rear and lower back reinforcements have been joined to the lower extensions, and also the lower back reinforcements, wheel house inner gussets and side outer panels have been joined to the rear floor side members.

        A01UWG5E05
        Text in Illustration
        *1 Roof Side Outer Reinforcement *2 Rear Absorber Plate
        *3 Corner Reinforcement *4 Lower Extension
        *5 Roof Side Inner Rear *6 Lower Back Reinforcement
        *7 Rear Floor Side Member *8 Wheel House Inner Gusset
        *9 Side Outer Panel - -
    3. Anti-corrosion Sheet Steel


      1. Anti-corrosion sheet steel is used as in the following illustration:

        A01UW2J
        Text in Illustration (5-Door Models:)
        A01UWB6 Anti-corrosion Sheet Steel - -
        A01UWRC
        Text in Illustration (3-Door Models:)
        A01UWB6 Anti-corrosion Sheet Steel - -
    4. Wax and Anti-chipping Application


      1. Wax is applied to front end of hood sub-assembly, edge of the door lower portion and fuel filler lid hinge to improve rust-resistant performance.

      2. To protect the paint from chipping, anti-chipping paint is applied to the rockers and the front end of the hood sub-assembly.

        A01UWQQE01
        Text in Illustration
        *1 Fuel Filler Lid Hinge - -
        A01UWI9 Wax A01UWB6 Anti-chipping Paint
    5. Under Coat


      1. Acrylic resin is applied to the under side of the body, inside the wheel housing and other parts that are susceptible to stone chipping damage, thus improving the rust-resistant performance of these areas.

        A01UW9NE03
        Text in Illustration
        *a Front Wheel House *b Rear Wheel House
        A01UWQM Edge Seal A01UWB6 Acrylic Resin Coating Area
        A01UW8X Acrylic Resin Coating Area (Thick Coating) - -
    6. Low Vibration and Low Noise Body


      1. A hood insulator is provided on the rear of the hood sub-assembly. This achieves excellent sound insulation performance.

      2. An outer dash panel insulator, an outer No. 2 dash panel insulator and a fender liner silencer are provided. These reduce the amount of engine noise leaking into and out of the cabin.

      3. A front fender side panel protector is provided. This prevents road noise from entering the cabin, and achieves superior quietness.

        A01UW4GE02
        Text in Illustration
        *1 Hood Insulator *2 Outer Dash Panel Insulator
        *3 Outer No. 2 Dash Panel Insulator *4 Fender Liner Silencer
        *5 Front Fender Side Panel Protector - -
      4. To reduce the amount of road noise, engine noise and droning sound that enters the cabin, the floor panel is coated with a vibration damping coat.

        A01UWKF
        Text in Illustration
        A01UWB6 Spray Type Damping Material Application Area - -
      5. A sound insulation material is used in the body frame profile, thus reducing the various noises which intrude from the outside of the vehicle to the inside of the cabin.

      6. Rocker panel moulding is provided on the underside of the rockers, thus reducing the sound of sand and pebbles thrown up from the road.

        A01UW5XE03
        Text in Illustration
        *1 Rocker Panel Moulding - -
        *a 3-door Models *b A-A Cross Section
        A01UWB6 Polyurethane Form A01UW8X Expanded Form
        A01UWI9 Polyethylene Sealer - -
    7. Parts with Low Repair Cost


      1. A crush box structure is used to reduce body deformation during minor collisions. A structure with screw connections is provided for the front bumper arm sub-assembly and the rear bumper arm reinforcement to enable easy removal and installation, thus achieving simpler servicing operation and repair cost reduction.

        A01UWN9E05
        Text in Illustration (Front:)
        *1 Front Bumper Reinforcement *2 Front Bumper Arm Sub-assembly
        *3 Bolt - -
        A01UVZGE04
        Text in Illustration (Rear:)
        *1 Rear Bumper Reinforcement *2 Rear Bumper Arm Reinforcement
        *3 Bolt - -