AUDIO AND VISUAL SYSTEM


  1. OUTLINE


    1. Audio Head Unit


      1. 1 type of radio receiver assembly and 1 type of radio and display assembly are available for the audio head unit.

      2. A radio and display assembly has a Thin Film Transistor (TFT) 6.1-inch display, an audio function, a Bluetooth audio system, a Bluetooth hands-free system, a parking assist monitor system, and a stereo jack adapter. In addition, when an optional extension module assembly is mounted, a navigation system and other extension functions can be made available.

      3. Discs with the marks shown below can be played.

        A01UW9T
    2. Speaker System


      1. 2 types of speaker system, 6-speaker and 8-speaker, are available on both the radio receiver assembly and radio and display assembly.

      2. For radio less models, 6-speaker system is available.

    3. Bluetooth Audio System


      1. The Bluetooth audio system enables the users to listen to the music stored in a Bluetooth compliant portable audio device (Bluetooth audio player) through a Bluetooth connection.

      2. The Bluetooth audio system can operate a Bluetooth audio player through the audio head unit.

        A01UW9D "Bluetooth" is a trademark owned by Bluetooth SIG, Inc.
    4. Bluetooth Hands-free System


      1. The Bluetooth hands-free system enables drivers to place or receive phone calls using a cellular phone without releasing their hands from the steering wheel.

      2. For safety, some functions of the Bluetooth hands-free system may not be selectable while the vehicle is being driven.

    5. Steering Pad Switch


      1. Steering pad switch assembly that supports the respective equipment is available.

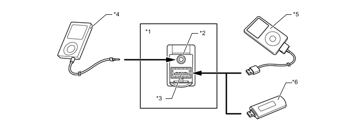
    6. Stereo Jack Adapter Assembly


      1. An AUX port provided to enable playing music data that is stored on portable audio devices.

      2. A USB port provided to enable playing music data that is stored on a USB memory stick or an iPod.

        Tech Tips

        1. Supported iPod models and firmware versions are listed below:

        iPod Model Generation Supported Firmware Version
        iPod 5G 1.3 or higher
        iPod nano 1G 1.3.1 or higher
        2G 1.1.3 or higher
        3G 1.1.3 or higher
        4G 1.0.4 or higher
        5G 1.0.2 or higher
        6G 1.0 or higher
        iPod touch 1G iOS 3.1.3 or higher
        2G iOS 3.1.3 or higher
        iOS 4.2.1 or higher
        Late 2009 (8 GB) iOS 3.1.3 or higher
        iOS 4.2.1 or higher
        3G (32 GB/64 GB) iOS 3.1.3 or higher
        iOS 4.2.1 or higher
        4G iOS 4.2.1 or higher
        iPod classic 1G 1.1.2 or higher
        2G (120 GB) 2.0.1 or higher
        2009 (160 GB) 2.0.4 or higher
        iPhone 1G (iPhone) iOS 3.1.3 or higher
        2G (iPhone 3G) iOS 3.1.3 or higher
        iOS 4.2.1 or higher
        3G (iPhone 3GS) iOS 3.1.3 or higher
        iOS 4.2.1 or higher
        iPhone 4 iOS 4.2.1 or higher

        2. USB and iPod operation functions may not operate in certain conditions or with certain models.

        3. iPod is a trademark of Apple Inc. that has been registered in the U.S.A. and other countries.

        A01UWGIE05
        Text in Illustration
        *1 Stereo Jack Adapter Assembly *2 AUX Port
        *3 USB Port *4 Portable Audio
        *5 iPod *6 USB Memory Stick
  2. SPECIFICATION


    1. Audio Head Unit

      Audio Head Unit Design Specification
      Radio Receiver Assembly A01UW2O
      • Liquid Crystal Display (LCD)

      • AM/FM Tuner

      • CD Player: Compatible with MPEG audio layer-3 (MP3) and Windows Media Audio (WMA) Files

      • iPod Player Interface

      • USB Memory Interface

      • Unit Manufacturer: Panasonic

      • 6-speaker System

      • Stereo Jack Adapter (USB and AUX Port)

      Radio and Display Assembly A01UWPH
      • 6.1-inch Thin Film Transistor (TFT)

      • AM/FM Tuner

      • CD Player: Compatible with MPEG audio layer-3 (MP3) and Windows Media Audio (WMA) Files

      • Bluetooth Audio System

      • Bluetooth Hands-free System

      • iPod Player Interface

      • USB Memory Interface

      • Unit Manufacturer: FUJITSU TEN

      • 6-speaker System or 8-speaker System

      • Stereo Jack Adapter (USB and AUX Port)

      • Extension Module Assembly*

      *: Optional equipment

    2. 6-speaker System

      A01UVUKE04
      Location Speaker Type Quantity Size Impedance Rated Input Power
      *1 No. 2 Front Speaker Assembly Tweeter 2 25 mm (1.0 in.) 4 Ω 20 W
      *2 No. 1 Front Speaker Assembly Full Range 2 160 mm (6.3 in.) 4 Ω 20 W
      *3 No. 1 Rear Speaker Assembly Full Range 2 160 mm (6.3 in.) 4 Ω 20 W
    3. 8-speaker System

      A01UWGPE02
      Location Speaker Type Quantity Size Impedance Rated Input Power
      *1 No. 2 Front Speaker Assembly Tweeter 2 25 mm (1.0 in.) 6 Ω 13.5 W
      *2 No. 3 Front Speaker Assembly Squawker 2 65 mm (2.6 in.) 4 Ω 20 W
      *3 No. 1 Front Speaker Assembly Full Range 2 160 mm (6.3 in.) 2 Ω 30 W
      *4 No. 1 Rear Speaker Assembly Full Range 2 160 mm (6.3 in.) 4 Ω 20 W
    4. Bluetooth Hands-free System


      1. The specifications for the Bluetooth hands-free system vary with the audio head unit that is used. The details are as follows:

        Function Radio and Display Assembly
        Call with Bluetooth Phone By Dial
        By Phonebook ○ (1000 Cases)*1
        By Call History Dialed Number ○ (10 Cases)
        Received Call ○ (10 Cases)
        Missed Call ○ (10 Cases)
        All Call History ○ (30 Cases)
        By Speed Dial*2 ○ (18 Cases)
        Receive with Bluetooth Phone / Talk on Bluetooth Phone Receiving Call*2 Received Manually
        Received Refusal
        Interrupt Call*2
        Tone Sending By Dial
        By Registered Number
        Recognition / Connection Registering Bluetooth Phone ○ (5 Bluetooth Phones)
        Connecting Bluetooth Phone Received Automatically
        Connected Manually
        Setting Setting Automatic Connection

        • ○: Available

        Tech Tips

        *1: 1000 cases per telephone (Bluetooth Phone)

        *2: Can be operated while driving

  3. MAIN FEATURES


    1. Radio and Display Assembly


      1. A radio and display assembly has a Thin Film Transistor (TFT) 6.1-inch display, an audio function, a Bluetooth audio system, a Bluetooth hands-free system, a parking assist monitor system, and a stereo jack adapter interface, and it offers touch panel screen controls to operate the functions.

      2. When an optional extension module assembly is mounted, a navigation system and other extension functions can be made available.

        A01UWM0E03
        Text in Illustration
        *1 iPod *2 USB Memory Stick
        *3 Bluetooth Phone *4 Parking Assist Monitor Screen
        *5 Radio and Display Assembly *6 Extension Module Assembly
        *7 Navigation Screen - -
  4. PRECAUTION


    1. Some of the functions of a system that uses a Bluetooth connection may not operate, depending on the Bluetooth specification or profile of the Bluetooth phone or Bluetooth audio player that is being used. The Bluetooth specifications and profiles required for the operation are as follows:

      Specification/Profile Item Bluetooth Audio System Bluetooth Hands-free System
      Bluetooth Specification Version 1.2 or higher Required Required
      Version 2.1+EDR or higher Recommended Recommended
      Profile Hands-Free Profile (HFP) Version 1.0 or higher - Required
      Hands-Free Profile (HFP) Version 1.5 or higher - Recommended
      Dial-up Networking Profile (DUN) Version 1.1 or higher - Recommended
      Object Push Profile (OPP) Version 1.1 or higher - Required
      Phone Book Access Profile (PBAP) Version 1.0 or higher - Required
      Message Access Profile (MAP) Version 1.0 or higher - Required
      Advanced Audio Distribution Profile (A2DP) Version 1.0 or higher Required -
      Audio/Video Remote Control Profile (AVRCP) Version 1.0 Required -
      Audio/Video Remote Control Profile (AVRCP) Version 1.3 Recommended -
      Audio/Video Remote Control Profile (AVRCP) Version 1.4 or higher Recommended -

      • -: Not available

      Tech Tips

      The operation of the interrupt call function of the Bluetooth hands-free system may vary with the Bluetooth phone or the telephone company that is used.