EXHAUST SYSTEM


  1. CONSTRUCTION


    1. Exhaust Manifold


      1. A stainless steel exhaust manifold converter sub-assembly is used. This achieves a reduction in noise, ensures heat resistance, and realizes quick warm-up of the catalyst immediately after engine start, helping to reduce emissions.

      2. The EGR pipe assembly is installed to the downstream of the TWC to emit EGR gas, thus preventing deposits from building up inside the engine.

        A0044QEC01
        *1 No. 1 Exhaust Manifold Heat Insulator *2 No. 2 Exhaust Manifold Heat Insulator
        *3 Exhaust Manifold Converter Sub-assembly *4 EGR Pipe
        *5 TWC - -
    2. Exhaust Pipe


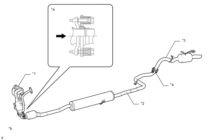
      1. The exhaust pipe is made of stainless steel to reduce its weight and improve rust resistance.

      2. Ball joints are used between the exhaust manifold converter sub-assembly and the front exhaust pipe assembly, and between the front exhaust pipe assembly and the tail exhaust pipe assembly.

        A0044N5C01
        *1 Exhaust Manifold Converter Sub-assembly *2 Front Exhaust Pipe Assembly
        *3 Tail Exhaust Pipe Assembly - -
        *a Ball Joint Portion *b The illustrations shown are examples only.
        A0044QS Exhaust Gas - -