EMISSION CONTROL SYSTEM


  1. FUNCTION OF MAIN COMPONENTS


    1. The main components of the 1NR-FE emission control system are as follows.

      Component Function
      TWC The TWCs reduce emissions by oxidation of CO and HC in exhaust gas and reduction of NOx.
      Oxygen Sensor The signal of the air fuel ratio sensor changes abruptly between lean and rich at the stoichiometric air fuel ratio.
      Air Fuel Ratio Sensor Is used to determine the concentration of oxygen remaining in the exhaust gas. Has a characteristic where its output is proportional to the engine air fuel ratio.
      E.F.I. Vacuum Sensor Assembly This sensor uses built-in semiconductors to detect the intake manifold pressure.
      ECM
      • Controls the volume of fuel consumed based primarily on the signal from the air fuel ratio sensor, with minor corrections based on the signal from the heated oxygen sensor. This control optimizes the air-fuel ratio.

      • Regulates the EGR volume in accordance with the various sensor signals.

      EGR Valve Assembly Opens and closes based on signals from the ECM and controls the flow rate of the exhaust gas in the EGR bypass.
      PCV Valve (Ventilation Valve Sub-assembly) Opens and closes the valve using vacuum generated in the intake manifold and controls the flow rate of the blowby gas.
      Purge VSV (No. 1 Vacuum Switching Valve Assembly) Open and closes the valve based on signal from ECM and controls the flow rate of the evaporative emission.
  2. SYSTEM CONTROL


    1. EGR Control


      1. This system is designed to reduce and control NOx formation due to a slight reduction of the peak temperature in the engine combustion chamber and to improve fuel economy, which is accomplished by introducing a small amount of inert gas into the intake passage.

      2. By sensing the engine driving conditions and actual amount of the EGR valve assembly opening, the ECM operates the EGR valve assembly and throttle control motor, and regulates the amount of exhaust gas.

      3. The EGR valve assembly regulates the flow volume of some exhaust gas passing through the cylinder head sub-assembly and returns the gas to the intake manifold.

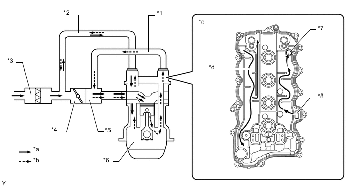
    2. Blowby Gas Ventilation System


      1. By introducing blowby gas that has a large amount of HC into the air intake side and burning it again, the system attempts to enhance the emission performance. Returning blowby gas volume is regulated to the appropriate amount corresponding to the engine operating conditions, reducing the engine oil quantity taken away and engine idling speeds.

      2. The Positive Crankcase Ventilation (PCV) valve passage returns the blowby gas into the area after the throttle valve in accordance with the intake manifold vacuum.

      3. When load is low, the passage from the cylinder head cover sub-assembly to the area before the throttle valve increases the air purification performance inside the crankcase by introducing fresh air, and when load is high, the passage circulates the blowby gas together with the PCV Valve (Ventilation Valve Sub-assembly) side passage due to the intake manifold vacuum.

        A01UWBLE03
      4. The oil separator is located in the cylinder head cover. This contributes to the compactness of the entire engine.

        A01UW2LE05
        Text in Illustration
        *1 No. 1 Ventilation Hose *2 No. 2 Ventilation Hose
        *3 Air Cleaner Case *4 Throttle Body
        *5 Intake Manifold *6 Crankcase
        *7 OUT (to PCV Valve) *8 IN (from Crankcase)
        *a Fresh Air *b Blowby Gas
        *c Back of Cylinder Head Cover *d Fresh Air Flow
  3. CONSTRUCTION


    1. Three-Way Catalytic converter (TWC)


      1. TWCs are provided in the exhaust manifold and also in the front exhaust pipe assembly.

      2. An exhaust manifold with an integrated TWC is used for warm-up of the TWC.

      3. This TWC enables to improve exhaust emissions.

        A01UVYLE02
        Text in Illustration
        *1 TWC - -
    2. E.F.I. Vacuum Sensor Assembly


      1. The E.F.I. vacuum sensor assembly consists of a semiconductor which utilizes the characteristic of a silicon chip that changes its electrical resistance when pressure is applied to it. The sensor converts the intake air pressure into an electrical signal, and sends it to the ECM in an amplified form.

        A01UW7DE04
        *1 Silicon Chip
        *2 Output Voltage (V)
        *3 Intake Manifold Pressure (kPa)
    3. EGR Valve Assembly


      1. The EGR passage is positioned in the cylinder head, achieving a compact engine design and enhanced EGR gas cooling performance.

      2. A step motor type EGR valve assembly is used, precisely controlling the EGR gas flow amount.

        A01UVUJE02
        Text in Illustration
        *1 EGR Valve Assembly *2 EGR Pipe
        *a EGR Valve Assembly Cross Section - -
        A01UWJU EGR Gas - -