FUEL SYSTEM


  1. FUNCTION


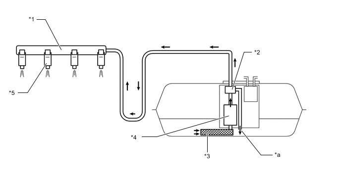
    1. The fuel returnless system is used to reduce evaporative emissions. As shown below, by integrating the fuel suction filter, fuel pressure regulator assembly, fuel sender gauge assembly and fuel pump, it is possible to prevent the return of fuel from the engine area, thus preventing temperature rise inside the fuel tank assembly.

      B0041EMC02
      *1 Fuel Delivery Pipe *2 Fuel Pressure Regulator Assembly
      *3 Fuel Suction Filter *4 Fuel Pump
      *5 Fuel Injector Assembly - -
      *a Return - -
  2. CONSTRUCTION


    1. Fuel Tank Assembly


      1. A multiplex layered plastic fuel tank assembly is used. This fuel tank assembly consists of 6 layers of 4 types of materials.

      2. A fuel drain mark has been provided at the lowest position of the fuel tank assembly. When dismantling (scrapping) the vehicle, drain fuel by drilling a hole at the drain mark.

        B004189C01
        *1 High Density Polyethylene (HDPE) *2 Regrind Material
        *3 Adhesive *4 Ethylene Vinyl Alcohol Copolymer (EVOH)
        *5 Fuel Drain Mark - -
        *a Fuel Tank Wall Cross Section *b Fuel Tank Assembly Outside
        *c Fuel Tank Assembly Inside *d View from Bottom Side
    2. Fuel Suction Tube Assembly


      1. A compact fuel pump, fuel suction filter, pressure regulator assembly, fuel sender gauge assembly and charcoal canister are integrated into the fuel suction tube assembly.

        B0041I2C01
        *1 Fuel Filter *2 Fuel Pump
        *3 Fuel Suction Filter *4 Fuel Pressure Regulator Assembly
        *5 Charcoal Canister *6 Fuel Sender Gauge Assembly
    3. Fuel Delivery Pipe


      1. An inner pipe is provided inside the fuel delivery pipe to absorb fuel pulsations.

      2. This design eliminates the use of the pulsation damper provided on conventional models, making the fuel system more compact and lightweight. When the fuel pulsates, the shape of the inner pipe changes with the pulsation, thus changing the internal capacity of the fuel delivery pipe. This change in capacity absorbs the fuel pulsations.

        B0041FEC01
        *1 Fuel Delivery Pipe - -
        *a Pulsation Damping - -
    4. Fuel Injector Assembly


      1. A 12-hole type fuel injector assembly is used. This injector can atomize fuel, which prevents the fuel from adhering to the intake port walls and reduces exhaust emissions.

        B0041EQC01
        *a Fuel Injector Assembly Cross Section *b Injection Hole