ENGINE UNIT


  1. CONSTRUCTION


    1. Cylinder Head Sub-assembly


      1. The cylinder head sub-assembly is made of aluminum alloy.

      2. The intake manifold is integrated the cylinder head sub-assembly to realize compact design.

      3. The injector is located near the center of the combustion chamber to promote the mixture of fuel and air.

      4. A water jacket consists of the 2-stage construction to realize excellent cooling performance.

        A01UWO8E04
        Text in Illustration
        *1 Water Jacket *2 Intake Manifold
        *3 Cylinder Head Sub-assembly *4 Glow Plug Hole
        *5 Injector Hole *6 Exhaust Valve
        *7 Intake Valve - -
        *a Cylinder Head Sub-assembly Cross Section *b View from the Bottom
    2. Cylinder Block Sub-assembly


      1. The cylinder block sub-assembly is made of aluminum die-cast.

      2. A compact block has been achieved by producing the thin cast-iron liners and cylinder block sub-assembly as a unit. Do not bore the block with this liner.

      3. The liners are the spiny-type, which have been manufactured so that their casting exterior forms a large irregular surface in order to enhance the adhesion between the liners and the aluminum cylinder block sub-assembly. The enhanced adhesion helps improve heat dissipation, resulting in a lower overall temperature and heat deformation of the cylinder bores.

      4. Cylinder block water jacket spacers are used in the water jackets of the cylinder block subassembly. They suppress the water flow in the center of the water jackets, guide the coolant above and below the cylinder bores, and ensure uniform temperature distribution. As a result, the viscosity of the engine oil that acts as a lubricant between the bore walls and the pistons can be lowered, thus reducing friction.

        A01UW5IE03
        Text in Illustration
        *1 Cylinder Block Water Jacket Spacer *2 Cylinder Block Sub-assembly
        *3 Spiny Type Liner *4 Irregularly Shaped Outer Casting Surface of Liner
        *a Cylinder Bore Cross Section - -
    3. Oil Pan Sub-assembly


      1. The oil pan sub-assembly is made of aluminum die-cast.

        A01UWFIE03
        Text in Illustration
        *1 Oil Pan Sub-assembly - -
    4. Piston


      1. The pistons are made of aluminum alloy.

      2. The combustion chamber is provided on the piston for direct injection.

      3. A cooling channel is provided to realize excellent piston cooling performance.

      4. A cast iron ring carrier is used to realize excellent wear resistance.

      5. The piston skirt is coated with resin to reduce friction.

      6. Full floating type piston pins are used.

        A01UWOIE02
        Text in Illustration
        *1 No. 1 Journal Cast Iron Ring Carrier *2 Cooling Channel
        *3 Combustion Chamber - -
        A01UWB6 Resin Coating - -
    5. Connecting Rod Sub-assembly


      1. The connecting rod sub-assemblies and caps are made of high strength steel for weight reduction.

        A01UWM1E04
        Text in Illustration
        *1 Front Mark *2 Connecting Rod Sub-assembly
    6. Crankshaft


      1. The crankshaft has 5 journals and 4 balance weights.

      2. The crankshaft is made of forged steel.

        A01UWCDE03
        Text in Illustration
        *1 No. 1 Journal *2 Balance Weight
        *3 Oil Hole *4 No. 5 Journal
    7. Crankshaft Pulley


      1. The crankshaft pulley hub is made of cast-iron.

      2. The Ethylene Propylene Diene Rubber (EPDM) material is used to the torsional damper rubber to realize high durability and reliability.

        A01UW0CE02
        Text in Illustration
        *1 Torsional Damper Rubber - -
        A01UWJU Engine Front - -
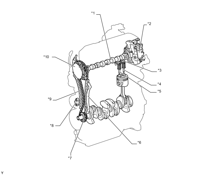
    8. Valve Mechanism


      1. The camshaft is driven by a timing chain. The camshaft drives the vacuum pump and supply pump in order to reduce the number of parts and realize a lightweight and compact design.

      2. The intake and exhaust valves are opened and closed via the rocker arms.

      3. The rocker arm consists of the rocker arm and roller.

        A01UWDVE03
        Text in Illustration
        *1 Camshaft *2 Supply Pump Assembly
        *3 No. 1 Valve Rocker Arm Sub-assembly *4 Exhaust Valve
        *5 Intake Valve *6 No. 1 Chain Vibration Damper
        *7 Chain Sub-assembly *8 No. 1 Chain Tensioner Assembly
        *9 Chain Tensioner Slipper *10 Vacuum Pump Assembly
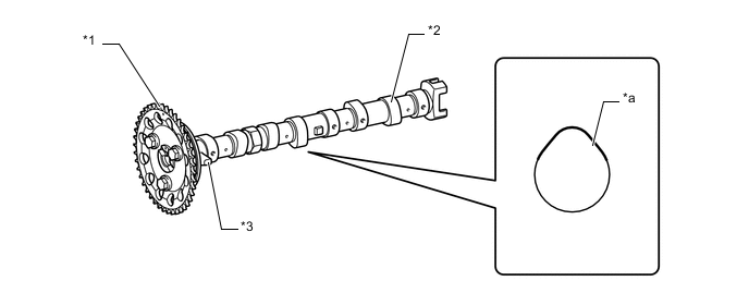
    9. Camshaft


      1. The camshaft is made of cast iron.

      2. The hollow type camshaft is used to realize lightweight.

      3. The cam nose is hardened by induction heating to realize excellent durability.

      4. A rib, by which the camshaft position sensor detects the cam position, is provided on the camshaft.

      5. Oil holes are provided in the camshaft in order to supply engine oil to the rocker arm.

        A01UWFNE02
        Text in Illustration
        *1 Camshaft Timing Gear or Sprocket Assembly *2 Camshaft
        *3 Rib - -
        *5 Induction Hardening - -
    10. No. 1 Valve Rocker Arm Sub-assembly and Valve


      1. The rocker arm mechanism consists of the rocker arm, roller and adjusting screw.

      2. Narrow valve stems are used to realize lightweight.

        A01UVWAE03
        Text in Illustration
        *1 Adjusting Screw *2 Roller
        *3 No. 1 Valve Rocker Arm Sub-assembly - -
    11. Chain Sub-assembly and Chain Tensioner


      1. A bushed chain with 9.525 mm (0.375 in.) pitch is used to realize lightweight and maintenance-free operation.

      2. An oil jet lubricates the timing chain.

      3. The chain tensioner uses a spring and oil pressure to maintain proper chain tension at all times.

      4. The chain tensioner suppresses noise generated by the chain.

        A01UWABE03
        Text in Illustration
        *1 Chain Sub-assembly *2 Chain Vibration Damper
        *3 Chain Tensioner Slipper *4 No. 1 Chain Tensioner Assembly
        *5 Plunger *6 Main Spring
    12. Serpentine Belt Drive System


      1. An automatic tensioner is used. It eliminates the need for tension adjustment.

        A01UW8RE04
        Text in Illustration
        *A Models without Air Conditioning System *B Models with Air Conditioning System
        *1
        • Automatic Tensioner


          • Idler Pulley

        *2 Crankshaft Pulley
        *3 Generator Pulley *4 Water Pump Pulley
        *5 Cooler Compressor Pulley - -