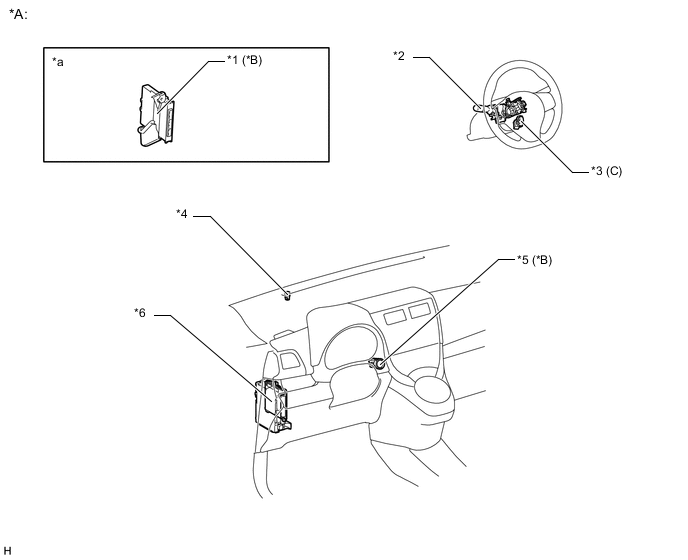
| *A | Daytime Running Light System | *B | Models with Entry and Start System |
| *C | Models without Entry and Start System | - | - |
| *1 | ECM | *2 | Headlight Assembly - Daytime Running Light |
| *3 | Certification ECU (Smart Key ECU Assembly) | *4 | Main Body ECU (Multiplex Network Body ECU) |
| *5 | Engine Switch | *6 | Parking Brake Switch Assembly |
| *7 | Headlight Dimmer Switch Assembly - Headlight Control Switch |
*8 | Ignition Switch |
| *a | Refer to service bulletin for the installation position of the part. | - | - |
| *A | Automatic Light Control System | *B | Models with Front Fog Light |
| *1 | Headlight Assembly - High/Low Beam Headlight - Clearance Light |
*2 | Front Fog Light |
| *3 | Rear Combination Light Assembly - Taillight |
*4 | License Plate Light Assembly |
| *A | Automatic Light Control System | *B | Models with Entry and Start System |
| *C | Models without Entry and Start System | - | - |
| *1 | Certification ECU (Smart Key ECU Assembly) | *2 | Headlight Dimmer Switch Assembly - Light Control Switch |
| *3 | Ignition Switch | *4 | Automatic Light Control Sensor |
| *5 | Engine Switch | *6 | Main Body ECU (Multiplex Network Body ECU) |
| *a | Refer to service bulletin for the installation position of the part. | - | - |
| *A | Automatic Headlight Beam Level Control System | - | - |
| *1 | Headlight Leveling Motor RH | *2 | Headlight Leveling Motor LH |
| *3 | Rear Height Control Sensor Sub-assembly RH | *4 | Combination Meter Assembly |
| *5 | Main Body ECU (Multiplex Network Body ECU) | *6 | Headlight Leveling ECU Assembly |
| *7 | Headlight Dimmer Switch Assembly - Light Control Switch |
- | - |
| *A | Manual Headlight Beam Level Control System | - | - |
| *1 | Headlight Leveling Motor RH | *2 | Headlight Leveling Motor LH |
| *3 | Headlight Dimmer Switch Assembly - Light Control Switch |
*4 | Headlight Leveling Switch |
| *A | Emergency Brake Signal | - | - |
| *1 | Rear Axle Hub and Bearing Assembly RH - Rear Speed Sensor RH |
*2 | Rear Axle Hub and Bearing Assembly LH - Rear Speed Sensor LH |
| *3 | Front Speed Sensor LH | *4 | Brake Actuator Assembly - Skid Control ECU |
| *5 | Front Speed Sensor RH | - | - |
| *A | Emergency Brake Signal | - | - |
| *1 | Headlight Assembly - Front Turn Signal Light |
*2 | Side Turn Signal Light RH/LH |
| *3 | Rear Combination Light Assembly - Rear Turn Signal Light |
*4 | Hazard Warning Signal Switch Assembly |
| *5 | Combination Meter Assembly | *6 | Stop Light Switch Assembly |
| *7 | Airbag Sensor Assembly | - | - |