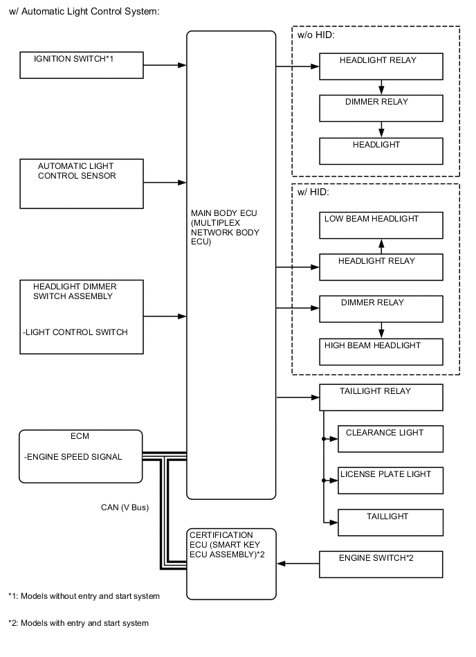
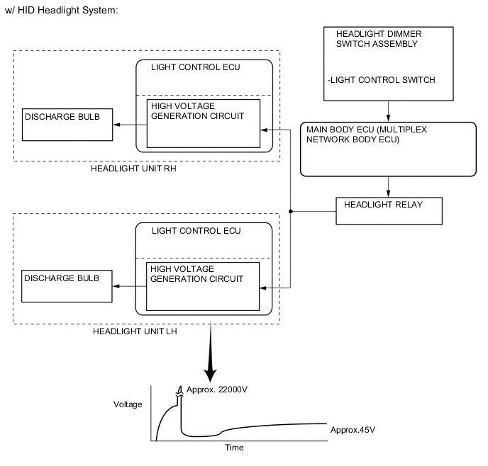
LIGHTING SYSTEM

A005G9HE02
A005FV1E02
A005FWOE02
A005FR7E02
A005FWNE02
A005FUYE03
w/ Manual Headlight Beam Level Control System
*1 HEADLIGHT LEVELING MOTOR LH
*2 HEADLIGHT LEVELING SWITCH
*3 HEADLIGHT RELAY
*4 HEADLIGHT LEVELING MOTOR RH