MULTI-MODE MANUAL TRANSAXLE SYSTEM


  1. FUNCTION OF MAIN COMPONENTS


    1. The main components of the EC65A M-MT system are as follows:

      Component Function
      Clutch Actuator Clutch Motor The clutch motor is actuated by the transmission control ECU and engages and disengages the clutch.
      Clutch Stroke Sensor Detects the amount of the clutch stroke from the rotational angle of the reduction mechanism and relays this information to the transmission control ECU in the form of feedback signals.
      Shift and Select Actuator Shift Motor The shift motor is actuated by the transmission control ECU and performs the shift operation of the shift and select lever shaft.
      Shift Stroke Sensor Detects the length of the shift stroke of the gear shift fork from the rotational angle of the shift and select lever shaft and relays this information to the transmission control ECU in the form of feedback signals.
      Select Motor The select motor is actuated by the transmission control ECU and performs the select operation of the shift and select lever shaft.
      Select Stroke Sensor Detects the length of the select stroke of the gear shift fork from the rotational angle of the shift and select lever shaft and relays this information to the transmission control ECU in the form of feedback signals.
      Shift Lever Assembly Shift Lever Position Sensor Outputs the shift lever position or shift request ("+" or "-") from the on/off combination of the 8-contact switch.
      Transmission Shift Main Switch Outputs the shift mode (M-mode or E-mode) from the on/off signal to the transmission control ECU.
      Shift Lock Solenoid The shift lock solenoid is actuated by the transmission control ECU and restricts the movement of the shift lever.
      Telltale Light Assembly Pattern Select Switch Switches the driving pattern ([E] or [Es]) in E-mode.
      Shift Paddle Switch Enables the driver to select a desired gear by operating the switch while driving in E-mode or M-mode.
      Combination Meter Assembly M-MT Warning Light Illuminates to alert the driver when a malfunction occurs in the M-MT system.
      Shift/Gear Position Indicator Light
      • Indicates the present shift lever position when the shift lever is in N or R.

      • Indicates the present gear when in M-mode or temporary M-mode.

      • This indicator light flashes if the actual gear and the shift lever position do not match.

      [E]/[Es] Indicator Light
      • Illuminates the [E] indicator when the normal [E] pattern is selected.

      • Illuminates the [Es] indicator when the sporty [Es] pattern is selected during the normal [E] pattern driving in E-mode.

      [M] Indicator Light The [M] indicator illuminates when the shift lever is in M.
      Buzzer
      • Sounds a buzzer during system warning.

      • Sounds if the driver door is opened while the engine is idling and the shift lever is in E, M, or R.

      Accelerator Pedal Position Sensor
      • Detects the accelerator pedal position and outputs it to the ECM.

      • Sends a kick down ON signal to the ECM when the accelerator pedal position sensor detects the specified accelerator pedal depression amount.

      Transmission Revolution Sensor Detects the input shaft speed of the transaxle and outputs it to the transmission control ECU.
      Park/Neutral Position Switch Assembly Detects the neutral position of the transaxle and outputs it to the transmission control ECU.
      Back-up Light Switch Detects the reverse position of the transaxle, outputs it to the transmission control ECU, and controls the operation of the back-up lights.
      Stop Light Switch Detects that the brake pedal is applied and outputs this information to the transmission control ECU
      Parking Brake Switch Detects the parking brake lever operating signal and outputs it to the transmission control ECU.
      Starter Relay The transmission control ECU restricts the operation of the starter relay in accordance with the selected gear and the braking conditions, in order to control the operation of the starter.
      Transmission Control ECU
      • Controls the M-MT system; in addition, requests the ECM to control the engine output during upshift or downshift via CAN communication.

      • When the transmission control ECU detects a malfunction, the transmission control ECU makes a diagnosis and memorizes the failed section. Furthermore, the M-MT warning light illuminate to inform the driver.

      ECM
      • Outputs each sensor information to the transmission control ECU.

      • Performs engine output control in accordance with requests from the transmission control ECU.

  2. SYSTEM CONTROL


    1. Control List


      1. The electronic control system of the EC65A M-MT consists of the controls listed below.

        Control Outline
        Engine Starting Control The transmission control ECU permits the operation of the starter to start the engine only when the brake pedal is depressed and the shift lever is in N.
        Vehicle Starting Off Control When the vehicle starts off in the 1st or 2nd or reverse, the transmission control ECU partially engages the clutch. Thus, it enables the vehicle to start off slowly without requiring the operation of the accelerator pedal.
        Shifting Control

        Shifting control consists of E-mode control, M-mode control.


        • In E-mode, the transmission control ECU selects an optimal gear to suit the driving conditions.

        • In M-mode, the transmission control ECU shifts into the gear selected by the driver.

        • If the shift paddle switches are operated in E-mode, the transmission control ECU shifts into the gear selected by the driver.

        Shift Pattern Control

        In E-mode, the driver can select from 2 (E, Es) shift patterns:


        • The normal [E] pattern places emphasis on fuel economy.

        • The sporty [Es] pattern enables sporty driving.

        Kick Down Control While the vehicle is being driven in E-mode, this control enables the transmission control ECU to perform downshifts in accordance with the actual vehicle speed when the driver fully depresses the accelerator pedal.
        Shifting Control in Uphill/Downhill Traveling While the vehicle is being driven in E-mode, this control restricts 2nd, 3rd, 4th, 5th or 6th upshifts or provides appropriate engine braking in order to enable the transmission control ECU to determine whether the vehicle is traveling uphill or downhill.
        Delta Throttle Acceleration Control When the transmission control ECU detects the accelerator pedal rapidly being moved by driver, M-MT system controls shift, restricting downshifting during accelerating and upshift during decelerating.
        Vehicle Stopping Control
        • When the input shaft speed decreases to a predetermined level while the vehicle is in motion, the transmission control ECU disengages the clutch to prevent the engine from stalling.

        • When the vehicle is stopped and the shift lever is in E or M, this control automatically shifts to 1st gear, thus making it unnecessary for the driver to shift when the vehicle is started off again.

        Parking Control

        When the shift lever is in R, E, or M and the ignition switch is turned off, the transmission control ECU operates as follows:


        • The shift lever is locked at the current position. This prevents the shift lever position and selected gear from becoming mismatched.

        • Then, the transmission control ECU engages the clutch with the gear in the 1st or reverse to park the vehicle with the gear engaged.

        Retry Control When shifting to the target gear is not successful, the transmission control ECU retries gear shifting.
        Shift Protection Control

        When one of the following conditions are met, the transmission control ECU performs shift protection control and warns the driver to protect the gears, clutch and engine:


        • The engine speed would become approximately 1000 rpm due to upshifting.

        • The engine speed would become too high due to downshifting.

        • The shift lever is moved to R when the vehicle speed is 6.0 km/h (3.7 mph) or more.

        • The shift to 1st request signal is input when the outside air temperature is low.

        Diagnosis When the transmission control ECU detects a malfunction, the transmission control ECU makes a diagnosis and memorizes the information related to the fault.
        Fail-safe Even if a malfunction is detected in the sensors or actuators, the transmission control ECU performs fail-safe control to prevent the vehicle's driveability from being affected significantly.
    2. Engine Starting Control


      1. When the power source is turned to ON and the brake pedal is depressed, the transmission control ECU turns on the shift lock solenoid in order to release shift lock.

      2. When the shift lever is moved to N, the transmission control ECU detects that the shift lever is in N using the shift lever position sensor.

      3. When the power source is turned to START, the start signal is sent to the transmission control ECU through the park/neutral position switch assembly. When the ECU receives the signal, the starter relay is turned on to cause the engine to start.

        A005GC3E02
    3. Vehicle Starting Off Control


      1. When the shift lever is in E, M or R, the transmission control ECU controls the shift and select motors to select the appropriate gear.

      2. When the foot brake and parking brake are released, the transmission control ECU commands the clutch motor to partially engage the clutch.

      3. As a result, the vehicle can be driven slowly forward without requiring the driver to depress the accelerator pedal.

        A005G1EE02
      4. The transmission control ECU calculates the clutch disc temperature based on information from the clutch stroke sensor, engine speed signal, and input shaft speed signal. If the transmission control ECU determines that the load applied to the clutch is large* according to this information, it sounds the buzzer in the combination meter assembly to alert the driver to avoid clutch disc damage.

        A005FVFE02

        Tech Tips

        *: The vehicle is stopped on an incline or with a chock block when the clutch is partially engaged and the brake pedal is not depressed.

      5. When the engine speed is high and the shift lever is moved from N to E, M, or R, the transmission control ECU sounds the buzzer in the combination meter assembly to alert the driver and controls the clutch motor in order to prevent the vehicle from moving suddenly.

        A005FUAE02
    4. E-mode Shifting Control


      1. In E-mode, the transmission control ECU automatically selects an optimal gear that suits the driving conditions.


        1. When the shift lever is moved to E, the transmission control ECU activates E-mode control.

        2. The transmission control ECU calculates the suitable gear according to the driving conditions determined from various signals, and controls the clutch actuator and shift and select actuator.

        3. The transmission control ECU sends a signal to request or fuel injection control, achieving smooth shifts.

        4. Transmission control ECU can hold the gear that the driver selects with the shift paddle switch even E-mode.


          • The gear can be selected with the shift paddle switch "+" or "-" like M-mode.

          • If the vehicle is gotten below condition, the system release the gear which is geld by above operation.


            1. Downshifting (including decelerating, kick down, and so on)

            2. "+" switch is pressed for around 1 second.

            3. The accelerator pedal is continuously depressed for a certain period of time.

        A005FOHE02
    5. M-mode Shifting Control (Upshifting)


      1. In M-mode, the transmission control ECU performs gear shift control to select the gear chosen by operating the shift lever or shift paddle switch to "+".


        1. When the shift lever is moved to M, the transmission control ECU uses M-mode control.

        2. If the shift lever or shift paddle switch is operated to "+", the transmission control ECU controls the clutch motor to release the clutch. If the driver is depressing the accelerator pedal at this time, the transmission control ECU sends a signal to the ECM to request fuel injection control, suppressing engine speed increase.

        3. The transmission control ECU controls the shift and select actuator to upshift the gear.

        4. The transmission control ECU controls the clutch motor to engage the clutch.

        5. If the ECU determines that the engine speed will become less than about 1000 rpm due to an upshift, the upshift is not performed due to shift protection control.

        A005G3HE02
    6. M-mode Shifting Control (Downshifting)


      1. In M-mode, the transmission control ECU performs gear shift control to select the gear chosen by operating the shift lever or shift paddle switch to "-".


        1. When the shift lever is moved to M, the transmission control ECU activates the M-mode control.

        2. If the shift lever or shift paddle switch is operated to "-", the transmission control ECU controls the clutch motor to release the clutch.

        3. The transmission control ECU controls the shift and select actuator to downshift the gear.

        4. The transmission control ECU controls the clutch motor to engage the clutch.

        5. If the ECU determines that the engine speed will become too high due to a downshift, the downshift is not performed due to shift protection control and the buzzer in the combination meter assembly sounds.

        6. While driving the vehicle with a gear selected, if the vehicle speed becomes less than the specified minimum speed for that gear, the transmission control ECU automatically downshifts to improve driveability and prevent the engine from stalling.

        A005G5KE02
    7. Uphill/Downhill Shift Control


      1. This control minimizes the gear shifting when the driver operates the accelerator pedal while driving on a winding uphill or downhill road in order to ensure comfortable driveability.

      2. When the transmission control ECU determines that the vehicle is traveling uphill and before the transaxle attempts to upshift or after it finishes downshifting, the transmission control ECU prohibits the upshift until it determines that the vehicle has finished traveling uphill.

      3. When the transmission control ECU determines that the vehicle is traveling downhill, the ECU maintains the present gear, and if the brake pedal is depressed, performs a downshift.

        A005G0IE03
      4. The actual acceleration calculated from the vehicle speed signal is compared with the reference acceleration (based on level road travel) stored in the ECM to determine uphill or downhill travel.

        A005FS2E02
    8. Delta Throttle Acceleration Control


      1. Delta throttle acceleration control, which operates in E-mode, has the following 2 control functions:


        • At sudden acceleration: The transmission control ECU determines that the driver intends sudden acceleration via the accelerator pedal position sensor and thus quickens the downshift timing.

        • At sudden deceleration: The transmission control ECU determines that the driver intends to decelerate via the accelerator pedal position sensor. Instead of upshifting, it maintains the current gear to ensure engine braking and also ensure the driving force when the accelerator is subsequently operated.

    9. Vehicle Stopping Control


      1. While driving, the transmission control ECU detects the input shaft speed based on the transmission revolution sensor signal. If the speed is less than a specified speed "A", the ECU partially releases the clutch to prevent the engine from stalling.

      2. If the speed exceeds a specified speed "B", the ECU completely engages the clutch. The specified speed differs depending on the gear.

      3. At this time, the ECU controls the shift and select actuator to automatically downshift the vehicle to 1st gear when the shift lever is in M or E in order to start moving again.

      4. When the shift lever is in R, the gears do not shift automatically.

        A005FZ3E01
      5. In this situation, when the following conditions are met, the transmission control ECU sounds the buzzer in the combination meter assembly to alert the driver:


        • When all conditions listed for pattern 1 are met, the buzzer sounds after 10 seconds, and the transmission shifts to neutral.

        • When all conditions listed for pattern 2 are met, the buzzer sounds after 90 seconds, and the transmission shifts to neutral.

        Pattern 1 Pattern 2

        • Vehicle is stopped.

        • Engine is running.

        • Shift lever is in E, M or R.

        • Parking brake is applied.

        • Driver's door is opened.


        • Vehicle is stopped.

        • Engine is running.

        • Shift lever is in E, M or R.

        • Parking brake is applied.

    10. Parking Control


      1. M-MT system has the function of gear parking. This procedure is below.


        1. Apply the parking brake and move the shift lever to E, M or R. Then turn the ignition switch to ACC or off.

        2. Then, the transmission control ECU activates the shift lock function to engage the clutch.

        3. As a result, the vehicle can be parked with the transaxle in a gear that corresponds to the shift lever position.

        4. The gear is indicated on the M-MT display in the combination meter for approximately 5 seconds after the power source is turned off.

        A005G6SE02
    11. Retry Control


      1. When shifting to a target gear is not successful, the transmission control ECU retries gear shifting.

        Condition Retry Operation Warning

        • Vehicle is stopped.

        • Engine is stopped.

        • Shift lever is from N to E, M, or R.

        If the transaxle does not shift from neutral to the target gear, the transmission control ECU performs the following operations:


        • Returns transaxle to neutral.

        • Shifts to another gear.

        • Shifts to the target gear.

        • If the transaxle does not shift to the target gear after the above operations have been repeated a few times, the transmission control ECU stops gear shifting and stands by in neutral.

        Shift position indicator light N blinks*

        • Vehicle is stopped.

        • Engine is running.

        • Shift lever is moved from N to E, M or R.

        If the transaxle does not shift from neutral to the target gear, the transmission control ECU performs the following operations:


        • Returns to neutral.

        • Engages and disengages the clutch once.

        • Shifts to the target gear.

        • If the transaxle does not shift to the target gear after the above operations have been repeated a few times, the transmission control ECU stops gear shifting and stands by in neutral.

        Shift position indicator light N blinks*
        Buzzer in combination meter assembly sounds*

        • Vehicle is driven.

        • During upshifting or downshifting.

        If the transaxle does not shift to the target gear, the transmission control ECU performs the following operations:


        • Returns to neutral.

        • Shifts again to the target gear.

        • If the transaxle does not shift to the target gear after the above operations have been repeated a few times, the transmission control ECU stops gear shifting and stands by in neutral.

        -

        • Vehicle is driven.

        • Transaxle jumps out of gear.

        If the transaxle pops out of gear unintentionally, the transmission control ECU performs the following operations:


        • Returns to neutral.

        • Shift to the target gear.

        -

        Tech Tips

        *: During retry operation

      2. If the vehicle is standing-by in neutral due to one of the situations above, the driver should perform the following:

        Condition Driver's Action

        • Vehicle is stopped.

        • Engine is stopped.


        • Turn the power source to ON.

        • Depress the brake pedal.

        • Return the shift lever to N.

        • Move the shift lever to the target position again.

        • Turn the power source off.


        • Vehicle is stopped with the engine running.


        • Return the shift lever to N.

        • Move the shift lever to the target position again.


        • Driving (Upshifting or Downshifting)

    12. Shift Protection Control


      1. To protect the transaxle gears, clutch and engine, the transmission control ECU restricts shifting when one of the conditions indicated in the table below is met:

        Condition System Operation Warning
        The transmission control ECU calculates that the engine speed will become approximately 1000 rpm due to an upshift. Shifting is rejected -
        The transmission control ECU calculates that the engine speed will become too high due to a downshift. Shifting is rejected Buzzer in combination meter assembly sounds twice
        The driver moves the shift lever to R at a vehicle speed of 6 km/h (4 mph) or more. (E → R, M → R or N → R) Shifting is rejected N position indicator light blinks
        The driver downshifts to 1st gear at a low outside air temperature (Estimated transaxle oil temperature of - 25°C or below). Shifting is rejected (2nd gear is selected) -
  3. FUNCTION


    1. Shift Lever Assembly


      1. The shift lever mainly consists of the shift lever position sensor, transmission shift main switch, shift lock solenoid and shift lever sub-assembly.

      2. A shift lock uses a shift lock solenoid to restrict the movement of the shift lever. Shift lock control is performed during the engine starting control, vehicle stopping control, or parking control of the M-MT system.

      3. A shift lock override button that can manually cancel the shift lock is provided.

      4. The transmission shift main switch detects the side-to-side movement of the shift lever. It turns OFF when the shift lever is in R, N or E, and ON in M, "+" or "-".

        A005FOVE02
        Text in Illustration
        *1 Shift Lock Override Button *2 Shift Lever Position Sensor
        *3 Side-to-side Movement *4 Transmission Shift Main Switch
    2. Pattern Select Switch


      1. In the automatic shift mode (E-mode), the driver can select the automatic shift control patterns between the normal [E] pattern and the sporty [Es] pattern, by pressing the pattern select switch.

      2. The normal [E] pattern is always selected at the time the engine is started.

        A005FR6E02
        Text in Illustration
        *1 Pattern Select Switch - -
    3. Shift Paddle Switch


      1. In M-mode or E-mode, gears can be changed by using the shift paddle switches located behind the steering wheel. Then, the gears change one at a time, as the driver operates the right shift paddle switch (upshift) or the left one (downshift).

      2. Individual gears can be selected by entering temporary M-mode through the operation of the shift paddle switches when the shift lever is in E. If specified conditions are met, the system will revert automatically to E-mode.

        A005G9FE03
        Text in Illustration
        *1 Shift Paddle Switch ("-"Side) *2 Shift Paddle Switch ("+"Side)
  4. CONSTRUCTION


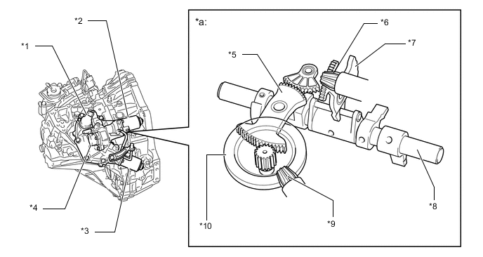
    1. Shift and Select Actuator


      1. The shift and select actuator consists of 2 motors, 2 sensors, and the mechanism listed below. This actuator cannot be disassembled.


        • 2 motors (shift and select motors)

        • 2 sensors (shift and select stroke sensors)

        • Shift and select mechanism (shift and select lever shaft, shift pinion gear, ring gear, shift actuator plate, select pinion gear and select actuator plate)

        A005G61E02
        Text in Illustration
        *a Shift and Select Mechanism - -
        *1 Shift Stroke Sensor *2 Select Motor
        *3 Shift Motor *4 Select Stroke Sensor
        *5 Shift Actuator Plate *6 Select Pinion Gear
        *7 Select Actuator Plate *8 Shift and Select Lever Shaft
        *9 Shift Pinion Gear *10 Ring Gear
    2. Shift Stroke Sensor and Select Stroke Sensor


      1. The shift stroke sensor and select stroke sensor have the same construction and output characteristics.

      2. These sensors consist of 2 Hall ICs and a magnetic yoke that rotates in unison with the shift and select lever shaft movement.

      3. These sensors convert the changes in the magnetic flux that are caused by the rotation of the shift motor and the select motor (hence, the rotation of the magnetic yoke) into electric signals, and output them to the transmission control ECU.

      4. The transmission control ECU determines the extent of the shift stroke and the select stroke from these electric signals in order to determine the present gear.

      5. The main and sub circuits in the shift stroke and the select stroke sensors exhibit the same output characteristics.

        A005G2HE04
        Text in Illustration
        *a Image Diagram - -
        *1 Hall IC *2 Magnetic Yoke
        A005FOTE06
    3. Clutch Actuator


      1. The clutch actuator consists of the clutch motor, reduction gear, operating rod, reservoir tank, clutch stroke sensor, sensor plate and assist spring. This actuator cannot be disassembled.

        A005GAKE02
        Text in Illustration
        *1 Clutch Stroke Sensor *2 Clutch Actuator
        *3 Clutch Master Cylinder Assembly *4 Reduction Gear
        *5 Operating Rod *6 Sensor Plate
        *7 Assist Spring *8 Worm Wheel
        *9 Worm Shaft *10 Clutch Motor
    4. Clutch Stroke Sensor


      1. The basic construction and operation of the clutch stroke sensor is the same as for the shift or select stroke sensor. The output voltage characteristics are shown below.

        A005G3ZE03
    5. Shift Lever Position Sensor


      1. The shift lever position sensor has 2 (Link 1 and 2) circuits:


        • The link 1 circuit detects the R, N, E, and M position of the shift lever. This circuit consists of the 6 contact switch.

        • When the shift lever is in M, the link 2 circuit detects the "+" (upshift) or "-" (downshift) signals. This circuit consists of the 2 contact switch.

        • The transmission control ECU determines the present shift lever position in accordance with the on/off status of those contact switches.

        A005FZGE02
  5. OPERATION


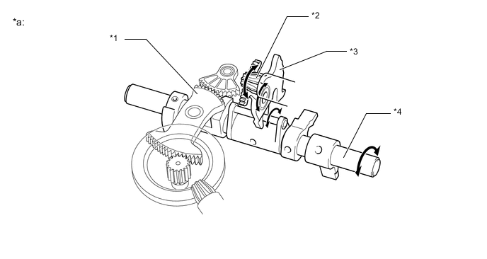
    1. Shift and Select Operation


      1. The rotation of the shift motor is transmitted as shown in the illustration to slide the shift and select lever.

      2. The rotation of the select motor is transmitted as shown in the illustration to rotate the shift and select lever.

      3. These movements are transmitted to the shift fork shaft lever. As a result, the selected gear is changed.

        A005FYKE03
        Text in Illustration
        *a Shift Operation - -
        *1 Shift Actuator Plate *2 Shift and Select Lever
        *3 Rotation of Shift Pinion Gear *4 Ring Gear
        A005FN6E04
        Text in Illustration
        *a Select Operation - -
        *1 Select Pinion Gear *2 Rotation of Select Pinion Gear
        *3 Select Actuator Plate *4 Shift and Select Lever
    2. Clutch Operation


      1. The clutch motor operates to pressurize the fluid in the clutch master cylinder assembly, engaging or disengaging the clutch.

      2. Rotational movement of the clutch motor is converted to operating rod movement via the worm shaft, worm wheel and reduction gear, pressurizing the fluid in the clutch master cylinder assembly.

      3. The fluid pressure of the clutch master cylinder assembly is used to operate the CSC, engaging or disengaging the clutch.

      4. When the clutch is being operated, the assist spring provides a force to assist the movement of the operating rod. This reduces the load on the clutch motor at the time the clutch is being released.

  6. FAIL-SAFE


    1. Even if a malfunction is detected in the sensors or actuators, the transmission control ECU performs fail-safe control to prevent the vehicle driveability from being affected significantly.

  7. DIAGNOSIS


    1. When the transmission control ECU detects a malfunction, the transmission control ECU makes a diagnosis and memorizes information related to the fault. Furthermore, the M-MT warning light illuminates to inform the driver.

    2. The transmission control ECU will also store a Diagnostic Trouble Codes (DTCs). The DTCs can be read by connecting the intelligent tester II.

    3. The DTCs cannot be cleared by merely disconnecting the battery terminals. To clear a DTCs that is stored in the transmission control ECU, use the intelligent tester II. For details, refer to the Repair Manual.