ENGINE UNIT


  1. CONSTRUCTION


    1. Engine Cover


      1. The engine cover is made of nylon resin. Sound insulation material (Nonwoven Fabric) is placed between the engine cover and the cylinder head cover to improve sound insulation performance.

        A005G5PE02
        Text in Illustration
        *1 Engine Cover *2 Sound Insulator
    2. Cylinder Head Cover


      1. A plastic cylinder head cover is used for weight reduction.

      2. An oil delivery pipe is installed inside the cylinder head cover. This ensures lubrication of the sliding parts of the roller rocker arms, improving reliability.

        A005G0JE02
        Text in Illustration
        *1 Cylinder Head Cover *2 Oil Delivery Pipe
    3. Cylinder Head


      1. The cylinder head structure has been simplified by separating the camshaft housing (cam journal portion) from the cylinder head.

      2. The cylinder head, which is made of aluminum, contains a pentroof type combustion chamber. The spark plug is located in the center of the combustion chamber in order to improve the engine's anti-knocking performance.

      3. The angle of the intake and exhaust valves has been narrowed and set at 23.3° to permit a compact cylinder head.

      4. Thin-electrode type spark plugs with a 12 mm (0.47 in.) diameter threaded base are used in order to make it possible to increase the diameter of the intake and exhaust valves. As a result, improved intake and exhaust efficiency has been achieved.

      5. A taper squish combustion chamber is used to improve anti-knocking performance and intake efficiency. In addition, engine performance and fuel economy have been improved.

        A005G9ZE04
        Text in Illustration
        *1 Camshaft Housing *2 Cylinder Head
        *3 23.3° *4 Taper Squish
      6. Siamese type intake ports are used to reduce the overall surface area of the intake port walls. This helps prevent fuel from adhering to the intake port walls, thus reducing HC exhaust emissions.

        A005G8LE05
        Text in Illustration
        *a Siamese Type *b Independent Type
    4. Cylinder Block Sub-assembly


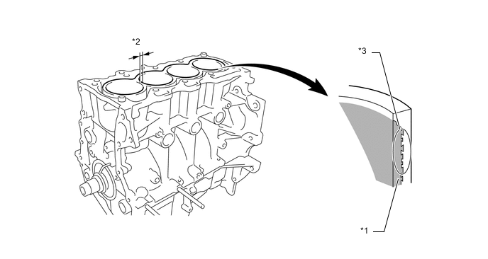
      1. An aluminum cylinder block with a 7 mm (0.28 in.) distance between the cylinder bores is used to achieve a compact and lightweight configuration.

      2. A spiny type liner, which has an irregularly shaped outer casting surface, is used to enhance the adhesion between the liners and the aluminum of the cylinder block. The enhanced adhesion helps heat dissipation, resulting in a lower overall temperature and reduced heat deformation of the cylinder bores. A cylinder block with this type of liner cannot be rebored.

        A005FVQE05
        Text in Illustration
        *1 Spiny Type Liner *2 7 mm (0.28 in.)
        *3 Irregularly Shaped Outer Casting Surface of Liner - -
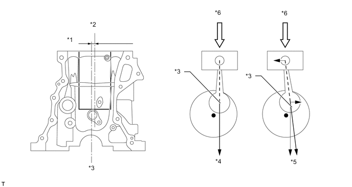
      3. Through the use of an offset crankshaft, the centerline of the cylinder bores is shifted 8 mm (0.31 in.) towards the exhaust in relation to the centerline of the crankshaft. Thus, the side force (thrust) applied to the cylinder walls is reduced when maximum combustion pressure is applied. This contributes to fuel economy.

        A005GA0E06
        Text in Illustration
        *1 8 mm (0.31 in.) *2 Bore Centerline
        *3 Crankshaft Centerline *4 Offset Crankshaft
        *5 Non-offset Crankshaft *6 Maximum Pressure
      4. A water jacket spacer is provided in the water jacket of the cylinder block.

      5. The water jacket spacer suppresses the water flow in the center of the water jackets, guides the coolant above and below the cylinder bores, and ensures uniform temperature distribution. As a result, the viscosity of the engine oil that acts as a lubricant between the bore walls and the pistons can be lowered, thus reducing friction.

        A005G81E05
        Text in Illustration
        *1 Water Jacket Spacer *2 Cylinder Block Sub-assembly
        *3 Engine Front - -
    5. Oil Pan


      1. The oil pan is made of aluminum die-cast.

        A005FZ4E02
        Text in Illustration
        *1 Oil Pan - -
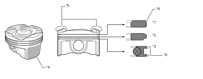
    6. Piston


      1. The pistons are made of aluminum alloy to allow them to be compact and lightweight.

      2. The piston head portion uses a taper squish shape to achieve fuel combustion efficiency.

      3. Semi floating type piston pins are used.

      4. Low-tension piston rings are used to reduce friction and achieve excellent fuel economy.

      5. Narrow-width piston rings are used to reduce weight and friction.

      6. A No. 1 compression ring with an inside bevel shape is used to reduce blowby.

      7. A Physical Vapor Deposition (PVD) coating has been applied to the surface of the No. 1 compression ring and oil ring, in order to improve wear resistance.

      8. The piston skirt is coated with resin to reduce friction losses.

        A005FRJE02
        Text in Illustration
        *1 No.1 Compression Ring *2 No.2 Compression Ring
        *3 Oil Ring *4 Resin Coating
        *5 Taper Squish Shape *6 PVD Coating
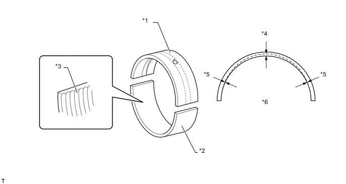
    7. Connecting Rod and Connecting Rod Bearing


      1. The connecting rods are made of high-strength steel for weight reduction.

      2. Plastic region tightening bolts are used to achieve a light weight.

      3. The width of the connecting rod bearings has been optimized to reduce friction.

      4. The lining surface of the connecting rod bearing is micro-grooved to provide an optimal oil clearance. As a result, cold-engine cranking performance has been improved and engine vibration has been reduced.

        A005G23E02
        Text in Illustration
        *a Micro-grooved - -
        *1 Plastic Region Tightening Bolt *2 Connecting Rod
        *3 Connecting Rod Bearing - -
    8. Crankshaft and Crankshaft Bearing


      1. The crankshaft has 5 main journals and 4 balance weights.

      2. The pins and journals have been machined with increased precision and the surface roughness has been minimized to reduce friction.

        A005G7UE02
        Text in Illustration
        *1 Oil Hole *2 Balance Weight
        *3 No. 1 Journal *4 No. 5 Journal
      3. The width of the crankshaft bearings has been optimized to reduce friction.

      4. The lining surface of the crankshaft bearing is micro-grooved to provide an optimal oil clearance. As a result, cold-engine cranking performance has been improved and engine vibration has been reduced.

      5. An oil groove is provided on each upper main bearing (crankshaft bearing). The oil groove is deep at the center and is shallow at the edges to reduce the amount of oil that will leak from the crankshaft bearing. As a result, the size of the oil pump has been reduced, thus minimizing friction.

        A005G2ME04
        Text in Illustration
        *1 Upper Main Bearing (Crankshaft Bearing) *2 Lower Main Bearing (Crankshaft Bearing)
        *3 Micro-grooved *4 Center
        *5 Edge *6 Oil Groove Depth
    9. Valve Mechanism


      1. Intake and exhaust efficiency has been increased due to the larger total port areas.

      2. The valve mechanism uses a roller rocker arm with built-in needle bearings. This reduces the friction that occurs between the cams and the areas on the roller rocker arms that push the valves down, thus improving fuel economy.

      3. Hydraulic lash adjusters, which maintain a constant zero valve clearance through the use of oil pressure and spring force, are used.

      4. The intake camshaft and exhaust camshaft are driven by a timing chain.

      5. This engine uses the Dual Variable Valve Timing-intelligent (VVT-i) system which controls the intake and exhaust camshafts to provide optimal valve timing according to driving conditions. With this, lower fuel consumption, higher engine performance, and exhaust emission have been reduced.

        A005FPXE03
        Text in Illustration
        *1 Exhaust VVT-i Controller *2 No. 2 Chain Vibration Damper
        *3 Intake VVT-i Controller *4 Chain Tensioner
        *5 Chain Slipper *6 No. 1 Chain Vibration Damper
        *7 Intake Valve *8 Exhaust Valve
        *9 Valve *10 Hydraulic Lash Adjuster
        *11 Roller Rocker Arm *12 Exhaust Camshaft
        *13 Intake Camshaft - -
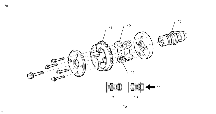
    10. Camshaft


      1. Oil passages are provided in the camshafts in order to supply engine oil to the Dual VVT-i system.

      2. A VVT-i controller has been installed on the front of each camshaft to vary the timing of the intake and exhaust valves.

      3. A timing rotor for the camshaft position sensor is provided at the back end of both the intake and exhaust camshafts.

        A005G0HE02
        Text in Illustration
        *1 Intake Camshaft *2 Intake VVT-i Controller (Camshaft Timing Gear Assembly)
        *3 Exhaust VVT-i Controller (Camshaft Timing Exhaust Gear Assembly) *4 Exhaust Camshaft
        *5 Timing Rotor *6 Oil Passage
    11. VVT-i Controller


      1. Each VVT-i controller consists of a housing driven from the timing chain and a vane coupled with the intake or exhaust camshaft.

      2. Both the intake and exhaust sides have a 4-blade vane.

      3. The oil pressure sent from the advanced or retarded side path at the intake and exhaust camshafts causes rotation in a camshaft timing gear assembly vane circumferential direction to vary the intake and exhaust valve timing continuously.

      4. When the engine is stopped, a lock pin locks the intake camshaft at its most retarded position and the exhaust camshaft at its most advanced position, to ensure that the engine starts properly.

      5. An advance assist spring is provided on the exhaust side camshaft timing gear assembly. This spring applies torque in the advance direction when the engine is stopped, thus ensuring the engagement of the lock pin.

        A005G1PE03
        Text in Illustration
        *a Intake VVT-i Controller *b Lock Pin Operation
        *c Oil Pressure - -
        *1 Housing *2 Vane (Fixed on Intake Camshaft)
        *3 Intake Camshaft *4 Lock Pin
        *5 Engine Stopped *6 Engine Operating
        A005FYCE03
        Text in Illustration
        *a Exhaust VVT-i Controller - -
        *1 Housing *2 Lock Pin
        *3 Sprocket *4 Exhaust Camshaft
        *5 Advance Assist Spring *6 Vane (Fixed on Exhaust Camshaft)
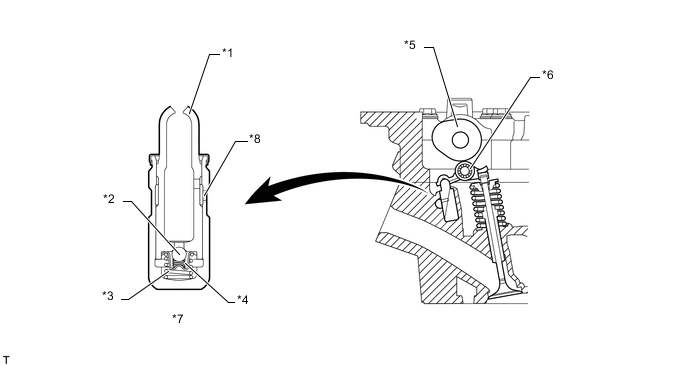
    12. Hydraulic Lash Adjuster


      1. A hydraulic lash adjuster is located at the fulcrum of each roller rocker arm. A hydraulic lash adjuster consists primarily of a plunger, a plunger spring, a check ball, and a check ball spring.

      2. The hydraulic lash adjuster is actuated by the engine oil, plunger spring, and check ball spring. The oil pressure and the spring force that act on the plunger push the roller rocker arm against the cam, in order to adjust the valve clearance. This reduces the engine noise that is created during the opening and closing of the valve.

        A005G9PE02
        Text in Illustration
        *1 Plunger *2 Check Ball
        *3 Plunger Spring *4 Check Ball Spring
        *5 Cam *6 Roller Rocker Arm
        *7 Hydraulic Lash Adjuster *8 Oil Passage

        Tech Tips

        Valve clearance adjustment is not necessary because hydraulic lash adjusters are used.

    13. Timing Chain and Chain Tensioner


      1. A timing chain with an 8 mm (0.31 in.) pitch is used to make the engine more compact.

      2. The chain tensioner uses a spring and oil pressure to maintain proper chain tension at all times.

      3. The chain tensioner suppresses noise generated by the timing chain.

      4. The chain tensioner is a ratchet type tensioner with a non-return mechanism.

        A005FUHE02
        Text in Illustration
        *1 No. 2 Chain Vibration Damper *2 Chain Tensioner
        *3 Chain Tensioner Slipper *4 Crankshaft Timing Sprocket
        *5 No. 1 Chain Vibration Damper *6 Timing Chain
    14. Timing Chain Cover Assembly


      1. An aluminum die-cast timing chain cover is used.

      2. The timing chain cover has an integrated construction including parts of the cooling system (water pump and water passage) and the lubrication system (oil pump and oil passage). Thus, the number of parts has been reduced for weight reduction.

        A005G0NE02
        Text in Illustration
        *1 Timing Chain Cover Assembly *2 Water Pump Assembly
        *3 Oil Pump Housing - -
    15. V-ribbed Belt


      1. Accessory components are driven by a serpentine belt consisting of a single V-ribbed belt. This reduces the overall engine length, weight and the number of engine parts.

      2. An automatic tensioner eliminates the need for tension adjustment.

        A005G5NE03
        Text in Illustration
        *A Models with Air Conditioning - -
        *1 Automatic Tensioner *2 Generator Pulley
        *3 Water Pump Pulley *4 Cooler Compressor Pulley
        *5 Crankshaft Pulley - -