СИСТЕМА СИДЕНИЙ С ЭЛЕКТРОПРИВОДОМ


  1. НАЗНАЧЕНИЕ ОСНОВНЫХ УСТРОЙСТВ


    1. Переднее сиденье с электроприводом

      Устройство Функция
      Переключатель электропривода переднего сиденья Позволяет управлять электроприводом переднего сиденья.
      Переключатель электропривода опоры поясницы Позволяет регулировать положение опоры поясницы.
      Переключатель запоминающего устройства сиденья Управляет работой функции запоминания положения во время движения.
      ЭБУ управления положением
      • Управляет электродвигателями в соответствии с сигналами переключателя электропривода переднего сиденья.

      • Сохраняет в памяти и считывает из памяти положения сиденья в соответствии с состоянием переключателя запоминающего устройства сиденья.

      Главный ЭБУ кузова Посредством главного ЭБУ кузова осуществляется передача и прием различных сигналов через мультиплексную шину CAN.
      Мультиплексный ЭБУ регулировки наклона и телескопического изменения высоты
      • Определяет положения электродвигателей регулировки наклона и телескопического изменения высоты.

      • Принимает сигналы от ЭБУ управления положением по шине CAN, а также сохраняет в памяти и считывает из памяти положение рулевой колонки.

    2. Заднее сиденье № 2 с электроприводом и функцией складывания

      Устройство Функция
      Переключатель складывающегося сиденья Служат для управления электроприводом заднего сиденья № 2.
      Переключатель наклона
      ЭБУ складывания сиденья Управляет электродвигателями в соответствии с сигналами от переключателей.
  2. УПРАВЛЕНИЕ В СИСТЕМЕ


    1. Условия работы


      1. Функция памяти


        • Условия работы функции памяти:

          Функция Условие Принцип работы
          Память

          Когда зажигание включено (IG), выполняется одно из следующих условий:


          • Кнопка 1 или 2 нажимается одновременно с кнопкой "SET".

          • Кнопка 1 или 2 нажимается в течение 3 с после нажатия кнопки "SET".


          • Сохраняется положение сиденья.

          • По завершении сохранения в памяти зуммер подает звуковой сигнал продолжительностью 0,5 с.

          Восстановление
          • Зажигание включено (IG).

          • Рычаг переключения передач находится в положении P.

          • Нажимается кнопка 1 или 2.

          Восстанавливается положение, сохраненное в памяти ЭБУ управления положением.

          Кнопка 1 или 2 нажимается в течение 180 с после одного из следующих событий:


          • Выключатель зажигания выключен.

          • Дверь водителя открыта.

          Кнопка 1 или 2 нажимается в течение 60 с после одного из следующих событий:


          • Выключатель зажигания выключен.

          • Дверь водителя закрыта.

          Обращение к памяти
          • Для кнопки 1 или 2 зарегистрирован идентификатор ключа.

          • Зажигание выключено.

          • Не используется ремень безопасности сиденья водителя.

          • Регистрируется касание внутренней стороны наружной ручки двери, или кнопка разблокировки ключа нажимается в положение разблокировки, а затем открывается дверь водителя.

          Сиденье автоматически отодвигается назад на расстояние до 50 мм (1,97 дюйма)* от сохраненного в памяти положения сиденья.

          • Выключатель зажигания установлен в состояние ON (ВКЛ) (ACC) или ON (ВКЛ) (IG).

          • Ремень безопасности водителя пристегнут.

          Сиденье автоматически возвращается в сохраненное в памяти положение.
          Автоматический отвод
          • Рычаг переключения передач находится в положении P.

          • Зажигание выключено.

          • Не используется ремень безопасности сиденья водителя.

          Сиденье автоматически отодвигается назад на расстояние до 50 мм (1,97 дюйма)*.
          Автоматический возврат
          • Выключатель зажигания установлен в состояние ON (ВКЛ) (ACC) или ON (ВКЛ) (IG).

          • Ремень безопасности водителя пристегнут.

          Сиденье автоматически возвращается в прежнее положение.

          Tech Tips

          *: расстояние сдвига сиденья можно изменять с помощью системы настройки электрооборудования кузова. Более подробную информацию см. в руководстве по ремонту для данной модели.

      2. Заднее сиденье № 2 с электроприводом и функцией складывания


        • Условия работы электропривода заднего сиденья № 2 с функцией складывания:

          Функция Условие
          Складывание

          Переключатель складывания или переключатель возврата нажимается и удерживается при выполнении любых из следующих условий:


          • Зажигание выключено.

          • Выключатель зажигания установлен в состояние ON (ВКЛ) (IG), рычаг переключения передач находится в положении P.

          Регулировка угла наклона спинки сиденья Нажат и удерживается переключатель наклона.
          Увеличение объема багажного отделения

          Переключатель складывания нажимается и удерживается при выполнении любых из следующих условий:


          • Зажигание выключено.

          • Выключатель зажигания установлен в состояние ON (ВКЛ) (IG), рычаг переключения передач находится в положении P.

  3. ФУНКЦИИ


    1. Переднее сиденье с электроприводом


      1. Система электропривода передних сидений позволяет регулировать положение сиденья водителя с помощью переключателя электропривода переднего сиденья.

      2. Реализована функция регулирования положения опоры поясницы, которая обеспечивает дополнительную поддержку нижнего отдела спины.

      3. Положение сиденья водителя регулируется с помощью функции памяти.

      4. Функции передних сидений с электроприводом работают следующим образом.

        Функция Описание
        Ручная регулировка Пользователь может регулировать продольное положение, наклон, вертикальное положение передней части, подъем сиденья и положение опоры поясницы с помощью переключателя электропривода переднего сиденья и переключателя опоры поясницы.
        Память Память Функция запоминания позволяет сохранить в памяти 2 различных положения сиденья.
        Восстановление Функция восстановления позволяет восстановить 2 различных положения сиденья, сохраненных в памяти.
        Обращение к памяти Функция обращения к памяти использует идентификационные коды ключа и обеспечивает сохранение и восстановление оптимальных положений вождения для лица, имеющего при себе ключ.
        Автоматический отвод Функция автоматического отвода автоматически отодвигает сиденье назад, облегчая высадку из автомобиля.
        Автоматический возврат Функция автоматического возврата автоматически возвращает сиденье в прежнее положение перед запуском автомобиля.
    2. Заднее сиденье № 2 с электроприводом и функцией складывания


      1. Функции заднего сиденья № 2 с электроприводом и функцией складывания работают следующим образом.

        Функция Принцип работы
        Складывание Операция складывания
        • Если переключатель складывания нажат и удерживается, операция складывания продолжается до завершения.

        • Если переключатель складывания отпускается во время выполнения операции складывания, эта операция прекращается.

        • Если заднее сиденье № 2 находится в диапазоне посадки, операция складывания прекращается, как только спинка сиденья достигает вертикального положения. Чтобы продолжить выполнение операции складывания, следует снова нажать и удерживать переключатель складывания.

        • В процессе складывания можно по отдельности управлять левым и правым задними сиденьями № 2.

        Операция возврата
        • Если переключатель возврата нажат и удерживается, операция возврата продолжается до завершения.

        • Если переключатель возврата отпускается во время выполнения операции возврата, эта операция прекращается.

        • В процессе возврата можно по отдельности управлять левым и правым задними сиденьями № 2.

        Наклон Если переключатель наклона нажат и удерживается, заднее сиденье № 2 наклоняется.
        Увеличение объема багажного отделения Если переключатель складывания нажат и удерживается, спинка сиденья поднимается вперед, пока она не достигнет вертикального положения, расширяя тем самым багажное отделение.
        Зуммер Во время работы каждой функции звучит зуммер, предупреждающий пользователя.
        Обнаружение перегрузки и изменение направления движения Функция обнаружения перегрузки и изменения направления движения автоматически прекращает действие функции складывания, включает зуммер и начинает движение спинки сиденья в противоположном направлении, либо останавливает заднее сиденье № 2.
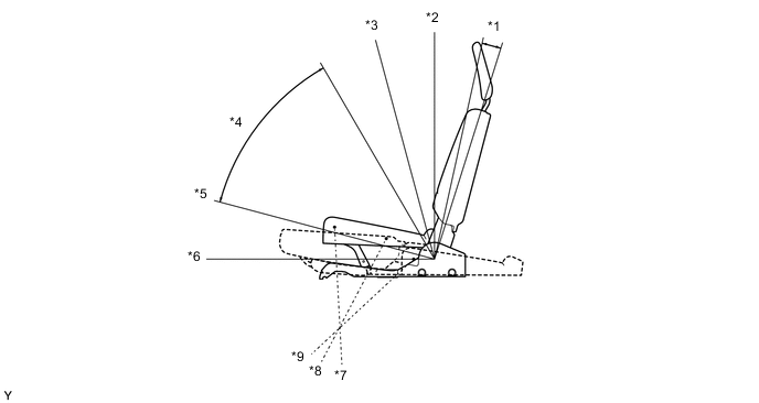
        A019QI7N01
        Условие
        *1
        • Диапазон посадки для спинки сиденья

        • Рабочий диапазон функции регулировки угла наклона спинки сиденья

        *2 Вертикальное положение
        *3 Начальное положение складывания для подушки сиденья
        *4 Рабочий диапазон функции изменения направления движения
        *5 Начальное положение возврата для подушки сиденья
        *6 Сложенное положение спинки сиденья
        *7 Положение подушки сиденья для посадки
        *8 Начальное положение складывания для подголовника заднего сиденья № 2
        *9 Сложенное положение подушки сиденья

        Tech Tips

        В процессе возврата подголовник заднего сиденья № 2 не возвращается автоматически. Его следует вернуть в положение для посадки вручную.

      2. Функции зуммера

        Функция зуммера работает следующим образом.

        Наименование Принцип работы
        Начало операции

        Подает два звуковых сигнала


        • Время включения: 125 мс

        • Время выключения: 250 мс

        Завершение операции

        Подает два звуковых сигнала


        • Время включения: 125 мс

        • Время выключения: 250 мс

        Условия операции не выполняются

        Подает 1 звуковой сигнал


        • Время включения: 1200 мс

        • Время выключения: 100 мс

        Остановка во время выполнения операции Непрерывно издает звуковой сигнал
        Работа функции травмобезопасности Непрерывно издает звуковой сигнал
        Сброс начального положения

        Подает 3 звуковых сигнала


        • Время включения: 125 мс

        • Время выключения: 250 мс

        Начальное положение не сохранено в памяти Непрерывно издает звуковой сигнал
      3. Функция обнаружения перегрузки и изменения направления движения

        Если функция складывания не может работать вследствие наличия препятствия, функция обнаружения перегрузки и изменения направления движения выполняет следующие действия:

        Наименование Принцип работы
        Во время операции складывания Если в электродвигателе наклона или в электродвигателе регулировки подушки обнаружена перегрузка, заднее сиденье № 2 перемещается в обратную сторону за пределы рабочего диапазона функции изменения направления движения.
        Во время операции возврата

        Если в электродвигателе наклона или в электродвигателе регулировки подушки обнаружена перегрузка, заднее сиденье № 2 перемещается в обратную сторону в следующее положение:


        • Спинка сиденья перемещается на 10°.

        • Достигается конечное положение операции складывания.

        Tech Tips

        В случае замены ЭБУ складывания сиденья следует выполнить инициализацию. Более подробную информацию см. в руководстве по ремонту для данной модели.

  4. Функция работы в аварийном режиме


    1. Функции аварийного режима для заднего сиденья № 2 с электроприводом и функцией складывания.

      Позиция Описание
      Падение напряжения на входе Операция прекращается, если обнаружено падение входного напряжения.
      Сбой определения положения сиденья При регистрации сбоя сигнала положения сиденья операция блокируется.
      Оценка времени протекания электрического тока Операция прекращается, если время протекания электрического тока превышает заданное значение.
      Определение направления вращения вала электродвигателя Чтобы уменьшить пропуски импульсов, операция продолжается, пока не появится возможность определить направление вращения вала электродвигателя.
  5. ДИАГНОСТИКА


    1. ЭБУ управления положением выполняет функцию диагностики. Он сохраняет информацию обо всех неисправностях в системе электропривода сидений в своей памяти в виде диагностических кодов неисправностей (DTC). Считать DTC можно, подключив портативный диагностический прибор II к разъему DLC3.