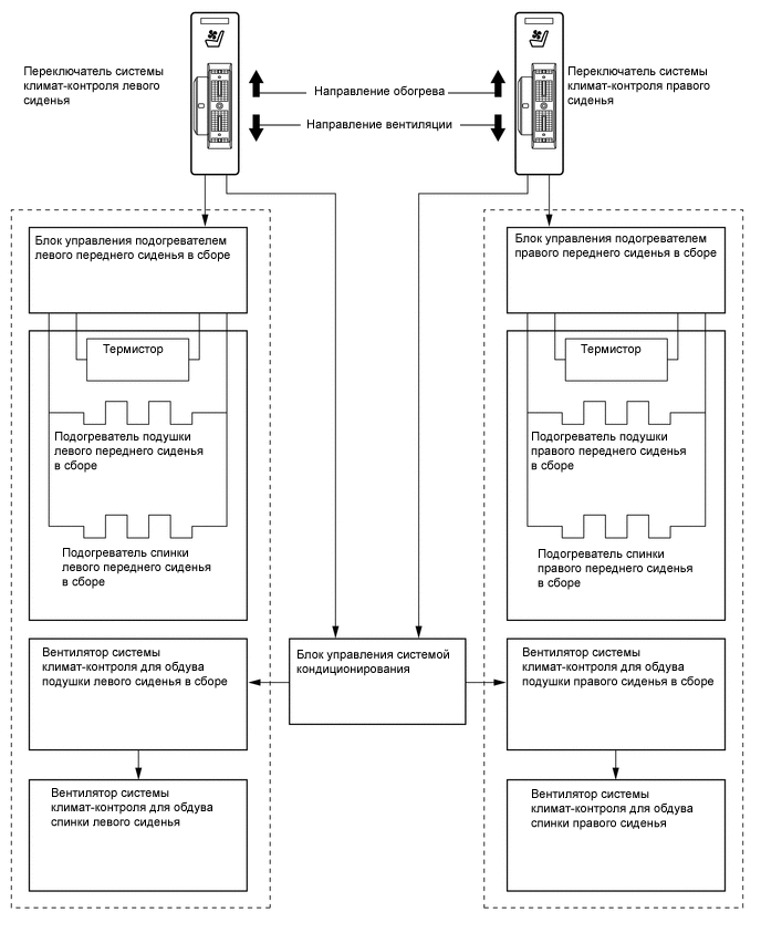
СИСТЕМА КЛИМАТ-КОНТРОЛЯ СИДЕНИЙ

A019QV1E01