| *1 | Ультразвуковой датчик № 2 (правый передний угловой датчик) | *2 | Ультразвуковой датчик № 1 (правый передний центральный датчик) |
| *3 | Ультразвуковой датчик № 1 (левый передний центральный датчик) | *4 | Ультразвуковой датчик № 2 (левый передний угловой датчик) |
| *5 | Датчик положения паркинга/нейтрали в сборе | *6 | Ультразвуковой датчик № 2 (левый задний угловой датчик) |
| *7 | Ультразвуковой датчик № 2 (левый задний центральный датчик) | *8 | Ультразвуковой датчик № 2 (правый задний центральный датчик) |
| *9 | Ультразвуковой датчик № 2 (правый задний угловой датчик) | - | - |
| *A | для моделей с ЭБУ системы помощи при парковке | - | - |
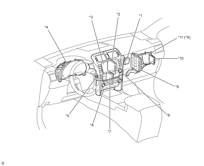
| *1 | ЭБУ переключателя помощи при движении | *2 | ЭБУ распределения питания |
| *3 | Многофункциональный дисплей в сборе | *4 | Щиток приборов в сборе |
| *5 | Переключатель мультиинформационного дисплея | *6 | Приемник мультимедийного модуля в сборе |
| *7 | Блок управления системой кондиционирования | *8 | Зуммер предупреждения о недопустимой дистанции № 1 |
| *9 | ECM | *10 | ЭБУ предупреждения о недопустимой дистанции в сборе |
| *11 | ЭБУ системы помощи при парковке | - | - |