СИСТЕМА АВТОМАТИЧЕСКОЙ ТРАНСМИССИИ


  1. КОНСТРУКЦИЯ


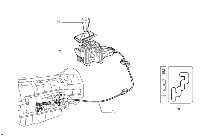
    1. В трансмиссии используется рычаг переключения передач кулисного типа с тросом механизма переключения передач.

    2. Механизм управления переключением передач включает в себя напольный механизм переключения передач в сборе и трос механизма переключения передач в сборе.

      A019R5HC01
      *1 Рукоятка рычага переключения передач *2 Напольный механизм переключения передач в сборе
      *3 Трос механизма переключения передач в сборе - -
      *a Схема переключения передач - -