СИСТЕМА АВТОМАТИЧЕСКОЙ ТРАНСМИССИИ


  1. КОНСТРУКЦИЯ


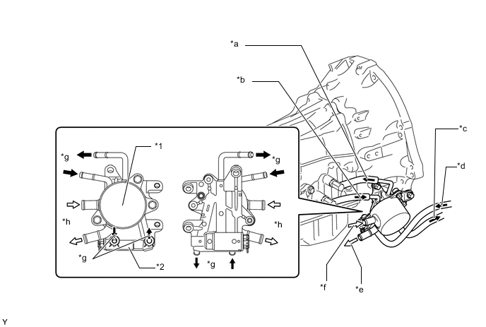
    1. Подогреватель ATF оснащен термостатом трансмиссионного масла, изменяющим маршрут, по которому течет ATF.

    2. Подогреватель ATF использует нагретую двигателем охлаждающую жидкость двигателя для быстрого подогрева ATF. За счет этого быстро снижается трение в автоматической трансмиссии, и сокращается расход топлива.

      A019QJTC01
      *1 Подогреватель ATF *2 Термостат трансмиссионной жидкости
      *a К трансмиссии *b От трансмиссии
      *c К охладителю ATF *d От охладителя ATF
      *e К двигателю *f От сердцевины отопителя
      *g поток ATF *h Поток охлаждающей жидкости двигателя
    3. Для моделей без охладителя ATF воздушного охлаждения: когда температура ATF низка, подогреватель ATF нагревает ATF, используя охлаждающую жидкость двигателя, а когда высока, ATF охлаждается подогревателем ATF и радиатором (охладителем ATF водяного охлаждения).

      Figure 1. Для моделей без охладителя ATF воздушного охлаждения

      A019R2HC01
      *1 Трансмиссия *2 Подогреватель ATF
      *3 Термостат трансмиссионной жидкости *4 Радиатор (охладитель ATF водяного охлаждения)
      *a При низкой температуре ATF *b При высокой температуре ATF
    4. Для моделей с охладителем ATF воздушного охлаждения: когда температура ATF низка, подогреватель ATF нагревает ATF, используя охлаждающую жидкость двигателя, а когда высока, ATF охлаждается подогревателем ATF, радиатором (охладителем ATF водяного охлаждения) и охладителем ATF воздушного охлаждения.

      Figure 2. Для моделей с охладителем ATF воздушного охлаждения

      A019QJ4C01
      *1 Трансмиссия *2 Подогреватель ATF
      *3 Термостат трансмиссионной жидкости *4 Радиатор (охладитель ATF водяного охлаждения)
      *5 Охладитель ATF воздушного охлаждения - -
      *a При низкой температуре ATF *b При высокой температуре ATF
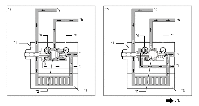
    5. Термостат трансмиссионной жидкости состоит из тарельчатого клапана, перепускного клапана и корпуса чувствительного элемента (содержит воск). Когда ATF нагревается, воск расширяется и начинает открывать тарельчатый клапан, и закрывать перепускной клапан, изменяя пути протекания ATF.

      A019QOVC01
      *1 Термостат трансмиссионной жидкости *2 Корпус чувствительного элемента (содержит воск)
      *3 Подогреватель ATF - -
      *a При низкой температуре ATF *b При высокой температуре ATF
      *c Тарельчатый клапан: Закрыт *d Тарельчатый клапан: Открыт
      *e Перепускной клапан: Открыт *f Перепускной клапан: Закрыт
      *g От трансмиссии *h К трансмиссии
      *i К охладителю ATF *j От охладителя ATF
      *k поток ATF - -