СИСТЕМА АВТОМАТИЧЕСКОЙ ТРАНСМИССИИ


  1. КОНСТРУКЦИЯ


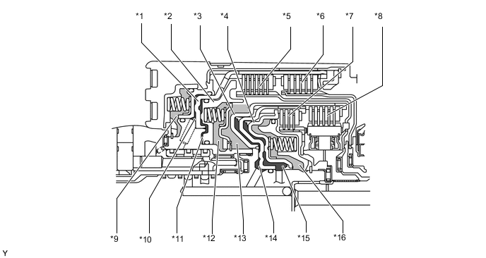
    1. В муфтах C1, C2, C3и C4, приводимых в действие при переключении со 2-й передачи на 3-ю, с 3-й на 4-ю, с 4-й на 5-ю и с 5-й на 6-ю применяется механизм подавления центробежной составляющей давления жидкости.

    2. На переключение муфт влияет не только корпус клапанов, который регулирует давление жидкости, но и центробежная составляющая давления жидкости, присутствующей в поршневой напорной камере муфты. В механизме подавления центробежной составляющей давления жидкости используется камера B, которая уменьшает действие центробежной составляющей давления жидкости на камеру A. В результате обеспечиваются плавное переключение и исключительное быстродействие.

      A019QVRC01
      *1

      Поршень (для C3)

      *2

      Поршень (для C2)

      *3

      Поршень (для C4)

      *4

      Поршень (для C1)

      *5

      Муфта № 2 (C2)

      *6

      Муфта № 3 (C3)

      *7

      Муфта № 4 (C4)

      *8

      Муфта № 1 (C1)

      *9

      Камера B (для C3)

      *10

      Камера A (для C3)

      *11

      Камера B (для C3)

      *12

      Камера B (для C2)

      *13

      Камера B (для C4)

      *14

      Камера A (для C4)

      *15

      Камера A (для C1)

      *16

      Камера B (для C1)

    3. Камера B заполняется жидкостью, подводимой к валу для смазки. В результате заполнения камеры B с обеих сторон поршня создаются одинаковые давления жидкости, обусловленные центробежной силой. Как следствие, нейтрализуется действие центробежной составляющей давления жидкости на поршень. Таким образом, устраняется необходимость сливать жидкость через шариковый обратный клапан, благодаря чему обеспечиваются высокое быстродействие и плавность переключения передач.

      A019R32E04