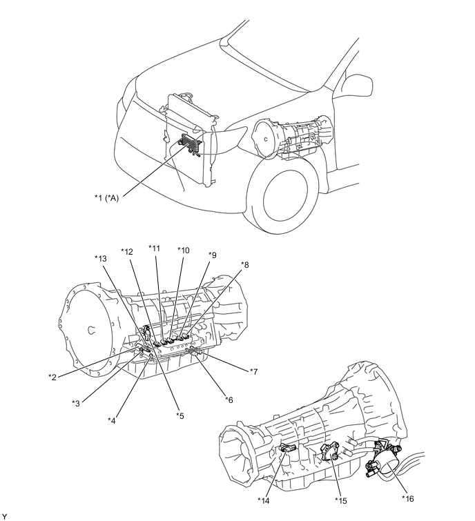
| *A | Для моделей с охладителем ATF воздушного охлаждения | - | - |
| *1 | Охладитель ATF воздушного охлаждения | *2 | Электромагнитный клапан управления линейным давлением в сборе (SLT) |
| *3 | Датчик № 2 температуры ATF | *4 | Датчик № 1 температуры ATF |
| *5 | Датчик частоты вращения трансмиссии (NT) | *6 | Электромагнитный клапан переключения передач (SL2) |
| *7 | Электромагнитный клапан управления блокировкой в сборе (SLU) | *8 | Электромагнитный клапан переключения передач (S3) |
| *9 | Электромагнитный клапан переключения передач (S2) | *10 | Электромагнитный клапан переключения передач (S4) |
| *11 | Электромагнитный клапан переключения передач (S1) | *12 | Электромагнитный клапан переключения передач (SR) |
| *13 | Электромагнитный клапан переключения передач (SL1) | *14 | Датчик оборотов трансмиссии (SP2) |
| *15 | Датчик положения паркинга/нейтрали в сборе | *16 | Подогреватель ATF |
| *A | для моделей с динамической радарной системой круиз-контроля | - | - |
| *1 | Индикатор механизма переключения передач | *2 | MIL |
| *3 | Контрольная лампа режима запуска № 2 | *4 | Главная контрольная лампа аварийного состояния |
| *5 | Мультиинформационный дисплей | *6 | Щиток приборов в сборе - Многофункциональный зуммер |
| *7 | DLC3 | *8 | Переключатель мультиинформационного дисплея |
| *9 | Датчик положения селектора передач | *10 | Блок управления системой кондиционирования |
| *11 | ECM | *12 | ЭБУ полного привода |
| *13 | ЭБУ переключателя помощи при движении | *14 | ЭБУ помощи при движении в сборе |