CAN COMMUNICATION SYSTEM

A019QCFC01
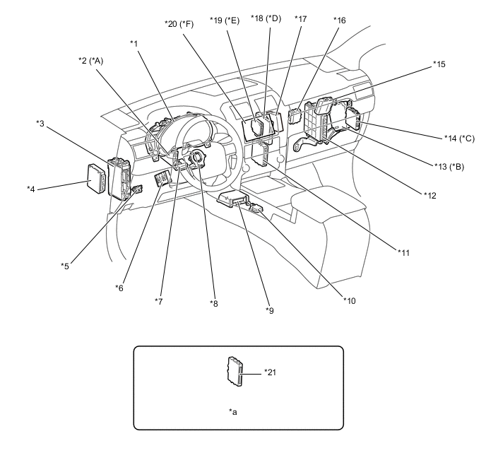
*A Models with Pre-crash Safety System *B Models with Parking Assist Monitor System or Wide View Front and Side Monitor System
*C Models with LEXUS Parking Assist-sensor System *D Models with Telematics Transceiver (DCM)
*E Models with Dynamic Radar Cruise Control System *F Models with Navigation System
*1 Combination Meter Assembly *2 Seat Belt Control ECU
*3 Main Body ECU (Driver Side Junction Block Assembly) *4 Suspension Control ECU
*5 DLC3 *6 Multiplex Tilt and Telescopic ECU
*7 Stabilizer Control ECU *8 Steering Angle Sensor
*9 Center Airbag Sensor Assembly *10 Yaw Rate Sensor
*11 Air Conditioning Amplifier Assembly *12 ECM
*13 Parking Assist ECU *14 Clearance Warning ECU Assembly
*15 4WD Control ECU *16 Driving Support Switch Control ECU
*17 Power Management Control ECU *18 Telematics Transceiver (DCM)
*19 Driving Support ECU Assembly *20 Multi-media Module Receiver Assembly
*21 Certification ECU - -
*a Refer to the Service Bulletin for the installation of the part. - -
A019QK4C01
*A Models with Radar Cruise Control System *B Models with Automatic Headlight Beam Level Control System
*C Models with Blind Spot Monitor System - -
*1 Outer Mirror Control ECU Assembly RH *2 Millimeter Wave Radar Sensor Assembly
*3 Skid Control ECU *4 Headlight Swivel ECU Assembly
*5 Outer Mirror Control ECU Assembly LH *6 Position Control ECU Assembly
*7 Blind Spot Monitor Sensor Assembly LH *8 Blind Spot Monitor Sensor Assembly RH