NAVIGATION SYSTEM / MULTI INFORMATION SYSTEM

A0009RGC01
*A Models with 17-speaker System *B Models with Telematics Transceiver
*1 Telephone Microphone Assembly *2 Map Light Assembly
*3 Front No. 4 Speaker Assembly *4 Front No. 3 Speaker Assembly LH
*5 Front No. 2 Speaker Assembly LH *6 Front No. 1 Speaker Assembly LH
*7 Rear No. 2 Speaker Assembly LH *8 Rear Speaker Assembly LH
*9 Park/Neutral Start Switch Assembly *10 Stereo Component Amplifier Assembly
*11 No. 1 Speaker with Box Assembly *12 Rear Header Speaker Assembly LH
*13 Rear Television Camera Assembly *14 Rear Speaker Assembly RH
*15 Rear Header Speaker Assembly RH *16 Rear No. 2 Speaker Assembly RH
*17 Telephone Antenna Assembly *18 Front No. 1 Speaker Assembly RH
*19 Front No. 3 Speaker Assembly RH *20 Front No. 2 Speaker Assembly RH
A0009T7C01
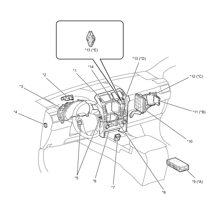
*A Models with 9-speaker System *B Models with Lexus Parking Assist-sensor System
*C Models with Parking Assist ECU *D Models wirh Telematics Transceiver Connection Type G-BOOK
*E Models with ERA-GLONASS - -
*1 Multi-display Assembly *2 Navigation Antenna Assembly
*3 Combination Meter Assembly *4 Parking Brake Switch Assembly
*5 Steering Pad Switch Assembly *6 Multi-media Module Receiver Assembly
*7 No. 1 Stereo Jack Adapter Assembly *8 Air Conditioning Amplifier Assembly
*9 Stereo Component Amplifier Assembly *10 ECM
*11 Clearance Warning ECU Assembly *12 Parking Assist ECU
*13 Telematics Transceiver *14 Power Management Control ECU