NAVIGATION SYSTEM / MULTI INFORMATION SYSTEM

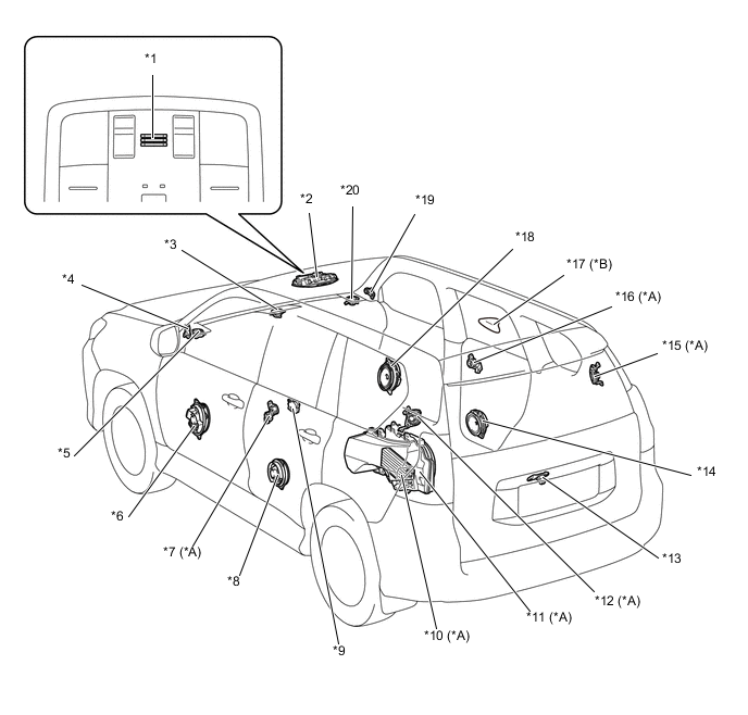
A0009RGC01
*A Models with 17-speaker System *B Models with Telematics Transceiver (DCM)
*1 Telephone Microphone Assembly *2 Map Light Assembly
*3 Front No. 4 Speaker Assembly *4 Front No. 3 Speaker Assembly LH
*5 Front No. 2 Speaker Assembly LH *6 Front No. 1 Speaker Assembly LH
*7 Rear No. 2 Speaker Assembly LH *8 Rear Speaker Assembly LH
*9 Park/Neutral Start Switch Assembly *10 Stereo Component Amplifier Assembly
*11 No. 1 Speaker with Box Assembly *12 Rear Header Speaker Assembly LH
*13 Rear Television Camera Assembly *14 Rear Speaker Assembly RH
*15 Rear Header Speaker Assembly RH *16 Rear No. 2 Speaker Assembly RH
*17 Telephone Antenna Assembly *18 Front No. 1 Speaker Assembly RH
*19 Front No. 3 Speaker Assembly RH *20 Front No. 2 Speaker Assembly RH
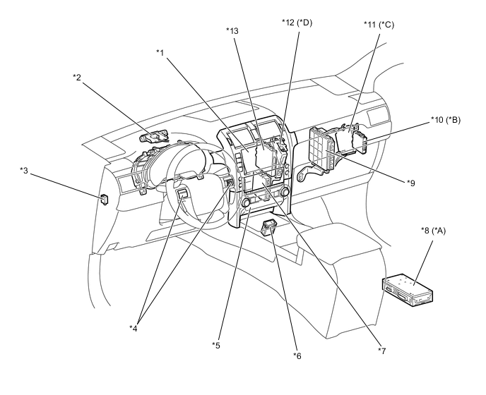
A0009SBC01
*A Models with 9-speaker System *B Models with Lexus Parking Assist-sensor System
*C Models with Parking Assist ECU *D Models with Telematics Transceiver (DCM)
*1 Multi-display Assembly *2 Navigation Antenna Assembly
*3 Parking Brake Switch Assembly *4 Steering Pad Switch Assembly
*5 Multi-media Module Receiver Assembly *6 No. 1 Stereo Jack Adapter Assembly
*7 Air Conditioning Amplifier Assembly *8 Stereo Component Amplifier Assembly
*9 ECM *10 Clearance Warning ECU Assembly
*11 Parking Assist ECU *12 Telematics Transceiver (DCM)
*13 Power Management Control ECU - -