| *A | Models with Rear Seat Entertainment System | *B | Models for China with G-BOOK System |
| *1 | Power Management Control ECU | *2 | Front Mid Range Speaker LH |
| *3 | Front Tweeter LH | *4 | Parking Brake Switch Assembly |
| *5 | Television Display Assembly LH | *6 | Television Display Assembly RH |
| *7 | Telephone Antenna Assembly | *8 | Rear Television Camera Assembly |
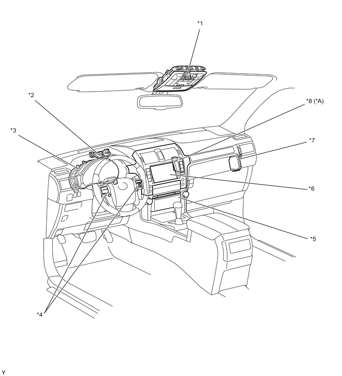
| *A | Models for China with G-BOOK System | - | - |
| *1 | Telephone Microphone Assembly | *2 | Navigation Antenna Assembly |
| *3 | Combination Meter Assembly | *4 | Steering Pad Switch Assembly |
| *5 | Radio Receiver Assembly | *6 | Display and Navigation Module Display |
| *7 | Parking Assist ECU | *8 | Telematics Transceiver (Data Communication Module) |