ENGINE UNIT


  1. CONSTRUCTION


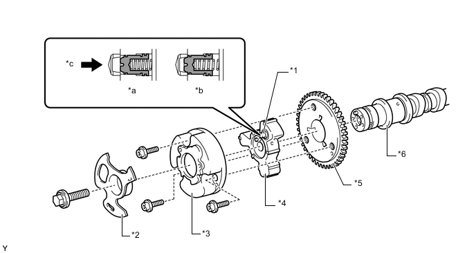
    1. This controller consists of an outer housing driven by the timing chain sprocket, and a vane coupled to each camshaft.

    2. The intake side uses a VVT-i controller with 3 vanes.

    3. When the engine stops, each intake side VVT-i controller is locked at the most retarded angle by its lock pin. This ensures excellent engine startability.

    4. The oil pressure sent from the advance or retard side passages of the intake camshafts causes rotation of the vane relative to the timing chain sprocket, to vary the valve timing continuously.

      A019QW4C01
      *1 Lock Pin *2 Timing Rotor
      *3 Outer Housing *4 Vane (Coupled to Intake Camshaft)
      *5 Timing Chain Sprocket *6 Intake Camshaft
      *a Engine Operating *b Engine Stopped
      *c Oil Pressure - -