ENGINE UNIT


  1. CONSTRUCTION


    1. A plastic separator case is provided between the cylinder block and the intake manifold in order to separate the engine oil included in the blowby gas.

      A019QUXC01
      *1 Intake Manifold *2 Separator Case
      *3 Cylinder Block - -
    2. The oil separator portion of the cylinder head covers has been made compact through the use of an independent separator case. This contributes to making the entire engine compact.

    3. Fresh air is drawn from the right and left bank cylinder head covers to improve the ventilation inside the engine and improve the deterioration resistance of the engine oil.

      A019QGCC01
      *1 Throttle Valve *2 Intake Manifold
      *3 Oil Separator Portion *4 Cylinder Head Cover RH
      *5 Cylinder Head Cover LH *6 PCV Valve
      *7 Separator Case - -
      *a Blowby Gas *b Fresh Air
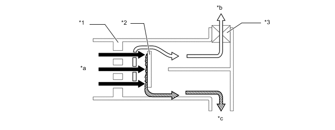
    4. An inertial impaction system is used in the construction for separating the engine oil in the separator case. Blowby gas containing engine oil hits the plate, thus causing the engine oil to adhere and accumulate on the plate. Then, the oil drips down by way of gravity. Thus, this system efficiently separates the engine oil from the blowby gas. This improves the rate of the collection of the engine oil and reduces the amount of engine oil consumption.

      A019QDTC01
      *1 Separator Case *2 Intake Manifold
      *3 PCV Valve - -
      *a From Cylinder Block *b To Intake Manifold
      *c To Oil Pan - -
      A0009RQ Blowby Gas Containing Engine Oil A01N5I9 Blowby Gas
      A01N5IT Engine Oil - -