ENGINE UNIT


  1. CONSTRUCTION


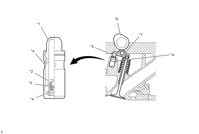
    1. The valve lash adjuster assembly, which is located at the fulcrum (pivot point) of the valve rocker arm sub-assemblies, consists primarily of a plunger, a plunger spring, a check ball, and a check ball spring.

    2. The engine oil is supplied from the cylinder head and the built-in spring actuates the valve lash adjuster assembly. The oil pressure and the spring force, that act on the plunger, push the valve rocker arm sub-assembly against the cam, in order to adjust the clearance between the valve stem and rocker arm. This prevents the generation of noise during the opening and closing of the valves. As a result, engine noise has been reduced.

      A0009SAC01
      *1 Plunger *2 Check Ball
      *3 Check Ball Spring *4 Plunger Spring
      *5 Valve Lash Adjuster Assembly *6 Cam
      *7 Valve Rocker Arm Sub-assembly - -
      *a Oil Passage - -