СИСТЕМА СТЕКЛООЧИСТИТЕЛЕЙ И СТЕКЛООМЫВАТЕЛЕЙ ДЕТАЛЬНОЕ ОПИСАНИЕ


  1. НАЗНАЧЕНИЕ ОСНОВНЫХ УСТРОЙСТВ


    1. Система стеклоочистителя и стеклоомывателя


      1. Система стеклоочистителей и стеклоомывателей включает в себя следующие устройства и выполняет следующие функции:

        Устройство Функция
        Переключатель стеклоочистителя и стеклоомывателя в сборе (встроен в реле переднего стеклоочистителя) Передает сигнал о своем положении в электродвигатель переднего стеклоочистителя с тягой в сборе и электродвигатель заднего стеклоочистителя в сборе.
        Переключатель стеклоочистителя и стеклоомывателя в сборе*1 Передает сигнал о своем положении в реле стеклоочистителя в сборе.
        Электродвигатель и тяга переднего стеклоочистителя в сборе Управляет передним стеклоочистителем в соответствии с сигналом положения переключателя стеклоочистителя и стеклоомывателя в сборе или сигналом управления от реле стеклоочистителя ветрового стекла в сборе *1.
        Электродвигатель заднего стеклоочистителя в сборе (встроен в реле заднего стеклоочистителя) Управляет задним стеклоочистителем в соответствии с сигналом положения переключателя стеклоочистителя и стеклоомывателя в сборе.
        Бачок омывателя ветрового стекла в сборе Управляет насосом и электродвигателем насоса переднего стеклоомывателя в сборе, насосом и электродвигателем насоса стеклоомывателя заднего стекла в сборе, а также насосом и электродвигателем насоса очистителей фар в сборе в соответствии с сигналом выключателя стеклоомывателя.
        Щиток приборов в сборе*1 Передает сигналы скорости автомобиля и состояния задних фонарей в реле стеклоочистителя ветрового стекла в сборе.
        Реле стеклоочистителя ветрового стекла в сборе*1 Получает сигналы управления от переключателя стеклоочистителя и стеклоомывателя в сборе и датчика дождя, и передает их в электродвигатель переднего стеклоочистителя с тягой в сборе.
        Датчик дождя*1 Регистрирует наличие дождя, когда переключатель стеклоочистителя и стеклоомывателя в сборе находится в положении AUTO, и передает сигналы в реле стеклоочистителя ветрового стекла в сборе.

        • *1: для моделей с функцией регистрации и контроля интенсивности дождя

        • *2: для моделей со светодиодными фарами

    2. Система очистителей фар


      1. Система очистителей фар включает в себя следующие устройства и выполняет следующие функции:

        Устройство Функция
        Выключатель очистителя фар в сборе С помощью этого выключателя пользователь может управлять системой очистителей фар.
        Насос и электродвигатель насоса очистителя фар в сборе Подает омывающую жидкость в очиститель фар в соответствии с сигналами от выключателя очистителя фар в сборе.
        Управляющее реле очистителя фар Получает сигналы от выключателя очистителей фар в сборе, выключателя стеклоомывателя и главного ЭБУ кузова, и управляет насосом и электродвигателем насоса очистителей фар в сборе.
        Главный ЭБУ кузова Передает сигнал включения ближнего света фар в реле управления очистителями фар.
        Привод очистителя фары в сборе Омывающая жидкость, подаваемая под давлением очистителем фары с электродвигателем насоса в сборе, распыляется через форсунки омывателя фар.
        Форсунка омывателя фары Распыляет на фару омывающую жидкость, подаваемую очистителем фары с электродвигателем насоса в сборе.
  2. УСЛОВИЯ РАБОТЫ


    1. Система очистителей фар


      1. Очистители фар работают следующим образом:

        Ближний свет фар Выключатель очистителя фар в сборе Выключатель стеклоомывателя ветрового стекла в сборе
        ON (ВКЛ) ON (ВКЛ) (в первый раз) ON (ВКЛ) (во второй и последующий разы)
        Включен Действует Действует Не действует
        Выключен Действует Не действует Не действует
  3. УПРАВЛЕНИЕ В СИСТЕМЕ


    1. Функция регистрации и контроля интенсивности дождя


      1. Когда выключатель стеклоочистителя ветрового стекла находится в положении AUTO, функция регистрации и контроля интенсивности дождя регулирует периодичность включения стеклоочистителей в зависимости от интенсивности дождя, попадающего на ветровое стекло.

      2. Схема реле стеклоочистителя ветрового стекла в сборе регулирует периодичность работы в соответствии с сигналом от датчика дождя.

    2. Синхронизация стеклоочистителя со стеклоомывателем


      1. Когда переключатель стеклоочистителя и стеклоомывателя в сборе находится в положении OFF (ВЫКЛ) или AUTO*, при установке выключателя стеклоомывателя во включенное положение примерно на 0,2 с или более стеклоочистители начинают работу в режиме LO, и одновременно распыляется жидкость стеклоомывателя.

      2. После выключения стеклоомывателя стеклоочиститель трижды сработает в режиме LO.

        *: для моделей с функцией регистрации и контроля интенсивности дождя

        A01J7T2E01
    3. Система очистителей фар


      1. Нажатие выключателя очистителей фар в сборе при включенном зажигании приводит к включению на заданное время очистителей фар с электродвигателем насоса в сборе.

      2. Когда включено зажигание, и включен ближний свет фар, однократное нажатие выключателя стеклоомывателя приводит в действие очистители фар с электродвигателем насоса в сборе.

  4. КОНСТРУКЦИЯ


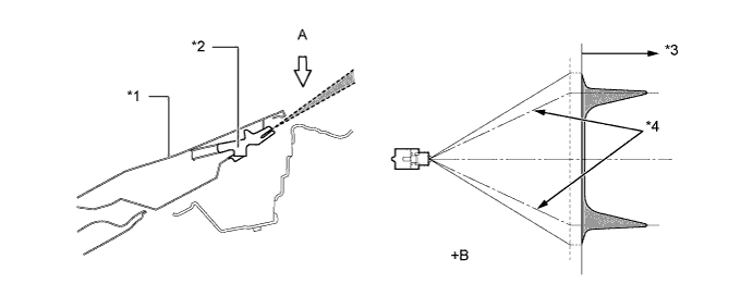
    1. Датчик дождя


      1. Датчик дождя состоит из светодиода, излучающего инфракрасные лучи, фотодиода, способного принимать эти лучи, линзы и ленты датчика дождя.

        A01J837E01
        Обозначения на рисунке
        *1 Лента датчика дождя *2 Линза
        *3 Фотодиод *4 Светодиод

        Tech Tips

        Если во время замены ветрового стекла произошло отслоение ленты датчика дождя, необходимо закрепить новую ленту. Невыполнение этого требования приведет к нарушению работы системы.

      2. Если в зоне обнаружения нет капель дождя, все инфракрасные лучи, излучаемые светодиодом, отражаются от ветрового стекла и принимаются фотодиодом.

      3. Как только в зоне обнаружения появляются капли дождя, часть инфракрасных лучей проникает через ветровое стекло вследствие изменения разности коэффициентов преломления стекла и внешней среды (из-за различия между водой и воздухом). Таким образом, присутствие капель дождя лишает ветровое стекло способности отражать все лучи. Это изменение внутреннего отражения вследствие наличия воды уменьшает количество инфракрасных лучей, принимаемых фотодиодом. Степень такого уменьшения позволяет определить интенсивность дождя. Соответственно, данная функция выбирает такой режим работы (прерывистый, с низкой скоростью или с высокой скоростью), который позволяет оптимизировать время работы стеклоочистителей.

        A01J7YTE01
        Обозначения на рисунке
        *1 Ветровое стекло *2 Фотодиод
        *3 Светодиод *4 Капля дождя
        *a Инфракрасные лучи - -
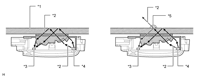
    2. Форсунка стеклоомывателя ветрового стекла


      1. Для повышения привлекательности автомобиля распылительные форсунки стеклоомывателя помещены под капот двигателя. Благодаря веерообразной струе эти форсунки способны распылять жидкость стеклоомывателя по большой площади ветрового стекла. Количество жидкости, подаваемое стеклоомывателем, уменьшено, чтобы не ухудшать обзор водителю во время работы стеклоомывателя.

        A01J8BPE03
        Обозначения на рисунке
        *1 Капот *2 Форсунка стеклоомывателя
        *3 Объем жидкости *4 Центральная ость основного потока
        *a Вид A - -

        Tech Tips

        Конструкция форсунок стеклоомывателя не предусматривает их регулирование. Никогда не пытайтесь отрегулировать положения форсунок, иначе они могут быть повреждены. Если требуется регулировка, замените форсунки, выбрав наиболее подходящие из 3 типов с разными каталожными номерами и углами распыления. Более подробную информацию см. в руководстве по ремонту.

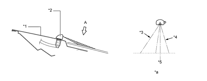
    3. Форсунка заднего стеклоомывателя


      1. Форсунка стеклоомывателя находится на панели двери багажного отделения.

        A01J83JE03
        Обозначения на рисунке
        *1 Панель двери багажного отделения *2 Форсунка стеклоомывателя
        *3 Левая граница основного потока *4 Правая граница основного потока
        *5 Центральная ось форсунки - -
        *a Вид A - -
  5. РАБОТА В АВАРИЙНОМ РЕЖИМЕ


    1. Датчик дождя


      1. Когда реле стеклоочистителя ветрового стекла в сборе регистрируется какая-либо неисправность, принимаются следующие меры для перехода в аварийный режим.

        Неисправность Описание
        Неисправность электродвигателя стеклоочистителя Функция регистрации и контроля интенсивности дождя прекращает работу.
        Сбой сигнала передачи данных
        • Датчик дождя:


          • Стеклоочиститель продолжает работать в режиме, который был установлен до возникновения неисправности.

          • Если неисправность датчика дождя регистрируется при переводе выключателя зажигания из выключенного состояния во включенное, или когда переключатель стеклоочистителя и стеклоомывателя в сборе находится в положении AUTO, производится переключение в прерывистый режим.


        • Переключатель стеклоочистителя:


          • Стеклоочиститель продолжает работать в режиме, который был установлен до возникновения неисправности.