СИСТЕМА РУЛЕВОГО УПРАВЛЕНИЯ С УСИЛИТЕЛЕМ ДЕТАЛЬНОЕ ОПИСАНИЕ


  1. НАЗНАЧЕНИЕ ОСНОВНЫХ УСТРОЙСТВ


    1. Основные устройства системы EPS перечислены ниже.

      Устройство Функция
      Рулевая колонка в сборе Датчик крутящего момента Определяет закручивание торсиона. Эта величина преобразуется в электрический сигнал и поступает в ЭБУ рулевого управления с усилителем, где вычисляется крутящий момент, действующий на торсион.
      Датчик угла поворота Определяет угол поворота электродвигателя и передает соответствующий сигнал в ЭБУ рулевого управления с усилителем.
      Электродвигатель усилителя рулевого управления Создает дополнительный крутящий момент в соответствии с сигналом, полученным от ЭБУ рулевого управления с усилителем.
      Редуктор Снижает частоту вращения вала электродвигателя усилителя рулевого управления с помощью червячной передачи и зубчатого колеса, передавая усилие на вал рулевого управления.
      ЭБУ рулевого управления с усилителем Исходя из сигналов от различных датчиков и ЭБУ управляет электродвигателем усилителя рулевого управления, встроенным в рулевую колонку в сборе, обеспечивая усиление крутящего момента.
      ЭБУ помощи при парковке* Передает в ЭБУ рулевого управления с усилителем сигнал управления интеллектуальной системы помощи при парковке.
      ЭБУ системы противоскольжения
      • Передает в ЭБУ рулевого управления с усилителем сигнал скорости автомобиля.

      • Во время координированного управления запрашивает усиление крутящего момента рулевого управления.

      Блок управления системой кондиционирования Получает сигнал от ЭБУ рулевого управления с усилителем для ограничения потребления электроэнергии.
      Щиток приборов Контрольная лампа P/S Включается, чтобы предупредить водителя о том, что ЭБУ рулевого управления с усилителем обнаружил неисправность в системе EPS.

      • *: для моделей с интеллектуальной системой помощи при парковке

  2. УПРАВЛЕНИЕ В СИСТЕМЕ


    1. Система EPS выполняет следующие функции управления:

      Функция управления Описание
      Базовое управление Вычисляет ток электроусилителя на основе величины крутящего момента рулевого управления и скорости автомобиля, и приводит в действие электродвигатель усилителя рулевого управления.
      Компенсация изменения момента инерции Улучшает пусковую характеристику электродвигателя усилителя рулевого управления, когда водитель начинает поворачивать рулевое колесо.
      Управление возвратом В течение короткого интервала времени между моментом, когда водитель поворачивает рулевое колесо до упора, и моментом, когда колеса начинают двигаться обратно, ЭБУ рулевого управления с усилителем увеличивает усилие возврата.
      Управление ослаблением Регулирует усиление, когда водитель поворачивает рулевое колесо при движении с высокой скоростью, тем самым ослабляя колебания скорости рысканья кузова автомобиля.
      Управление повышением напряжения* Повышает напряжение вспомогательной аккумуляторной батареи в ЭБУ рулевого управления с усилителем. Пока водитель не поворачивает рулевое колесо, или автомобиль движется по прямой, напряжение стабилизируется на уровне 0 В. Когда водитель поворачивает рулевое колесо, осуществляется плавное регулирование напряжения в диапазоне 27-34 В в зависимости от нагрузки.
      Защита системы от перегрева Оценивает температуру электродвигателя усилителя рулевого управления исходя из силы и продолжительности действия тока. Если температура превышает максимально допустимую, она ограничивает силу тока для предотвращения перегрева электродвигателя усилителя рулевого управления.
      Регулирование электрической нагрузки Предотвращает ослабление усиления крутящего момента в случае понижения напряжения вспомогательной аккумуляторной батареи.
      Координированное управление (совместно с VSC+) Система EPS осуществляет управление согласованно с системой управления тормозами.
      Координированное управление (совместно с интеллектуальной системой помощи при парковке)* Система EPS осуществляет управление согласованно с интеллектуальной системой помощи при парковке.

      • *: для моделей с интеллектуальной системой помощи при парковке

    2. Регулирование электрической нагрузки


      1. Когда ЭБУ рулевого управления с усилителем обнаруживает понижение напряжения вспомогательной аккумуляторной батареи, он передает сигнал регулирования электрической нагрузки в блок управления системой кондиционирования, чтобы ограничить потребление электроэнергии.

      2. Блок управления системой кондиционирования ограничивает функциональные возможности обогревателя заднего стекла и подогревателя PTC до тех пор, пока ЭБУ рулевого управления с усилителем не снимет ограничение.

    3. Координированное управление совместно с VSC+


      1. ЭБУ рулевого управления с усилителем координирует управление совместно с ЭБУ системы противоскольжения с тем, чтобы регулирование крутящего момента электроусилителя рулевого управления осуществлялось в соответствии с данными, поступающими от ЭБУ системы противоскольжения. Это облегчает вождение и обеспечивает прекрасную курсовую устойчивость автомобиля. Подробную информацию см. в разделе "Система управления тормозами".

    4. Координированное управление совместно с интеллектуальной системой помощи при парковке


      1. Когда автомобиль ставится на стоянку в гараж или паркуется параллельно, интеллектуальная система помощи при парковке усиливает крутящий момент рулевого управления в соответствии с сигналом от ЭБУ системы помощи при парковке. Подробную информацию см. в разделе "Интеллектуальная система помощи при парковке".

  3. КОНСТРУКЦИЯ


    1. Рулевая колонка в сборе


      1. Рулевая колонка в сборе содержит датчик крутящего момента, электродвигатель усилителя рулевого управления и редуктор.

        A01J83OE01
        Обозначения на рисунке
        *1 Рулевая колонка в сборе *2 Датчик крутящего момента
        *3 Редуктор *4 Электродвигатель усилителя рулевого управления
        *a Сечение A - A *b Сечение B - B
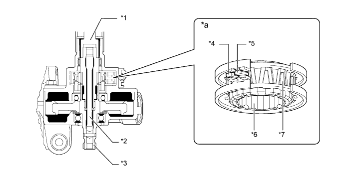
      2. Датчик крутящего момента рулевого управления с усилителем встраивается в рулевую колонку в сборе. На первичный вал устанавливается многополюсный магнит, а на выходной вал – статор. Первичный и выходной валы связываются друг с другом торсионом.

      3. Датчик крутящего момента рулевого управления с усилителем содержит 2 датчика Холла, которые располагаются напротив друг друга. Система определяет направление вращения рулевого колеса по направлению магнитного потока, проходящего через датчики Холла. Крутящий момент рулевого управления определяется системой на основе изменения плотности магнитного потока, вызванного смещением многополюсного магнита и статора относительно друг друга. ЭБУ рулевого управления с усилителем контролирует сигналы датчика крутящего момента, выдаваемые 2 датчиками Холла, и регистрирует неисправности.

        A01J7UAE01
        Обозначения на рисунке
        *1 Первичный вал *2 Торсион
        *3 Выходной вал *4 Датчик Холла 2
        *5 Датчик Холла 1 *6 Многополюсный магнит
        *7 Статор - -
        *a Датчик крутящего момента рулевого управления с усилителем - -
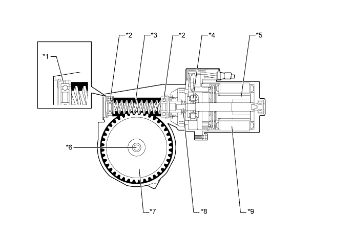
      4. В усилителе рулевого управления используется малоинерционный малошумящий мощный бесщеточный электродвигатель.

      5. Электродвигатель усилителя рулевого управления состоит из ротора, статора, вала и датчика угла поворота.

      6. Датчик угла поворота содержит высоконадежный и долговечный резольвер. Датчик угла поворота определяет угол поворота вала электродвигателя и передает соответствующий сигнал в ЭБУ рулевого управления с усилителем. Таким образом обеспечивается эффективное управление системой EPS.

      7. Крутящий момент, создаваемый электродвигателем усилителя рулевого управления, через шарнир сообщается редуктору.

      8. Редуктор уменьшает частоту вращения вала электродвигателя усилителя рулевого управления посредством червячной передачи и передает усилие на вал рулевой колонки.

      9. Для снижения шума и уменьшения массы конструкции зубчатое колесо изготавливается из высокопрочного износостойкого пластика с низким коэффициентом трения.

      10. Червячное колесо монтируется на шариковых подшипниках. Кроме того, предусмотрена пластинчатая пружина, непрерывно обеспечивающая оптимальное зацепление шестерен.

        A01J8CUE01
        Обозначения на рисунке
        *1 Пластинчатая пружина *2 Шариковый подшипник
        *3 Червячное колесо *4 Датчик угла поворота
        *5 Ротор *6 Вал рулевого управления
        *7 Зубчатое колесо *8 Вал электродвигателя
        *9 Статор - -
  4. ПРИНЦИП РАБОТЫ


    1. Когда рулевое колесо не поворачивается


      1. Когда автомобиль движется прямолинейно, и водитель не поворачивает рулевое колесо, статор располагается посередине между полюсами N и S многополюсного магнита. Таким образом, магнитный поток не проходит между датчиками Холла. В этом случае датчики Холла передают в ЭБУ рулевого управления с усилителем заданное напряжение, которое указывает, что рулевое колесо находится в нейтральном положении. Соответственно, ток не подается в электродвигатель.

        A01J84EE01
        Обозначения на рисунке
        *1 Выступ статора *2 Многополюсный магнит
        *3 Датчик Холла 2 *4 Датчик Холла 1
        *a Упрощенный чертеж датчика крутящего момента - -
    2. Когда рулевое колесо поворачивается вправо или влево


      1. Когда водитель поворачивает рулевое колесо вправо или влево, закручивание торсиона приводит к смещению многополюсного магнита и статора друг относительно друга.

      2. При этом магнитный поток, направленный от полюса N к полюсу S многополюсного магнита, проходит между датчиками Холла. По направлению магнитного потока, проходящего через датчики Холла, система определяет направление поворота рулевого колеса. Датчики Холла 1 и 2 устанавливаются напротив друг друга. Как следствие, выходные сигналы 2 датчиков Холла всегда имеют противоположные знаки. Система контролирует выходные сигналы этих датчиков Холла и при их различии регистрирует неисправность.

      3. Чем ближе датчики Холла к центру соответствующего полюса, тем выше плотность магнитного потока. Каждый датчик Холла преобразует соответствующие флуктуации магнитного потока в колебания напряжения и передает сигнал крутящего момента рулевого колеса в ЭБУ рулевого управления с усилителем.

        A01J7Y4E01
        Обозначения на рисунке
        *1 Выступ статора *2 Многополюсный магнит
        *3 Датчик Холла 2 *4 Датчик Холла 1
        *a Упрощенный чертеж датчика крутящего момента - -
        A01J7VSE01
        Обозначения на рисунке
        *1 Выступ статора *2 Многополюсный магнит
        *3 Датчик Холла 2 *4 Датчик Холла 1
        *a Упрощенный чертеж датчика крутящего момента - -
    3. Выходные характеристики датчика крутящего момента рулевого управления с усилителем


      1. Когда водитель не поворачивает рулевое колесо, датчик крутящего момента рулевого управления с усилителем передает в ЭБУ рулевого управления с усилителем заданное напряжение (2,5 В). Пока выдает заданное напряжение, ЭБУ рулевого управления с усилителем считает, что рулевое колесо находится в нейтральном положении.

      2. Когда водитель поворачивает рулевое колесо вправо или влево, выходное напряжение датчика крутящего момента рулевого управления с усилителем, поступающее в ЭБУ рулевого управления с усилителем, изменяется. На основании этих изменений ЭБУ рулевого управления с усилителем определяет крутящий момент рулевого управления и направление поворота рулевого колеса водителем.

        A01J8ABE01
  5. РАБОТА В АВАРИЙНОЙ РЕЖИМЕ


    1. Когда ЭБУ рулевого управления с усилителем обнаруживает неисправность в системе EPS, он включает контрольную лампу P/S, уведомляя об этом водителя.

    2. Одновременно ЭБУ рулевого управления с усилителем изменяет режим управления в соответствии с выявленными неисправностями, чтобы ограничить вспомогательное усилие или запретить усиление, тем самым гарантируя надлежащую маневренность. Более подробную информацию см. в руководстве по ремонту.

      Tech Tips

      Кроме того, ЭБУ рулевого управления с усилителем ограничивает вспомогательное усилие или включает контрольную лампу P/S в случае временного понижения напряжения аккумуляторной батареи.

  6. ДИАГНОСТИКА


    1. Когда ЭБУ рулевого управления с усилителем обнаруживает неисправность в системе EPS, он производит диагностику и сохраняет в памяти данные о неисправном узле. Одновременно в памяти ЭБУ рулевого управления с усилителем сохраняется диагностический код неисправности (DTC).

    2. DTC можно считать, подключив портативный диагностический прибор к разъему DLC3, или подсоединив SST (09843-18040) к контактам TC и CG разъема DLC3 и наблюдая за миганием контрольной лампы P/S. Более подробную информацию см. в руководстве по ремонту.