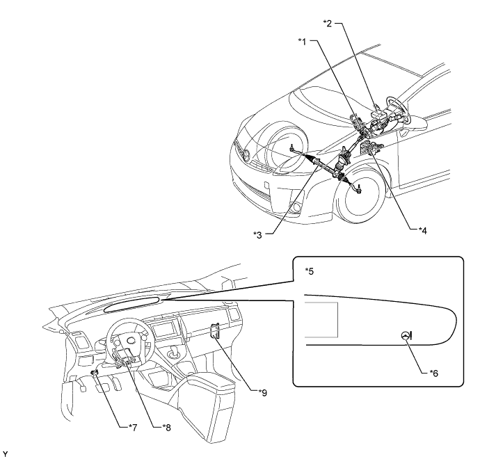
СИСТЕМА РУЛЕВОГО УПРАВЛЕНИЯ С УСИЛИТЕЛЕМ РАСПОЛОЖЕНИЕ ДЕТАЛЕЙ

A01J87BE01
Обозначения на рисунке
*1
  • Рулевая колонка в сборе


    • Электродвигатель усилителя рулевого управления

    • Датчик крутящего момента

    • Датчик угла поворота

*2 ЭБУ рулевого управления с усилителем
*3 Рулевой механизм в сборе *4
  • Блок управления рабочими цилиндрами тормозов в сборе


    • ЭБУ системы противоскольжения

*5 Щиток приборов *6 Контрольная лампа P/S
*7 DLC3 *8 Блок управления системой кондиционирования
*9 ЭБУ системы помощи при парковке - -