ИНТЕЛЛЕКТУАЛЬНАЯ СИСТЕМА ПОМОЩИ ПРИ ПАРКОВКЕ ДЕТАЛЬНОЕ ОПИСАНИЕ


  1. НАЗНАЧЕНИЕ ОСНОВНЫХ УСТРОЙСТВ


    1. Основные устройства интеллектуальной системы помощи при парковке выполняют следующие функции:

      Устройство Функция

      Левый ультразвуковой датчик № 1

      Правый ультразвуковой датчик № 1

      Определяют расстояние между управляемым автомобилем и припаркованным автомобилем и передают его в ЭБУ помощи при парковке.
      ЭБУ системы помощи при парковке
      • Передает в приемник системы навигации в сборе сигналы, которые содержат изображение заднего вида из автомобиля, получаемое с задней телекамеры в сборе, а также парковочные направляющие линии и парковочную рамку. Кроме того, он осуществляет общее управление системой на основании сигналов, поступающих от ЭБУ.

      • Определяет по сигналам от ультразвуковых датчиков, достаточно ли пространства для парковки.

      • Устанавливает язык отображения для системы помощи при парковке в соответствии с данными настройки языка приемника системы навигации в сборе.

      • Подает питание на правый задний датчик высоты подвески в сборе от ЭБУ системы управления уровнем фар.*1

      • Подает питание на правый задний датчик высоты подвески в сборе.*2

      Задняя телекамера в сборе Смонтирована на двери багажного отделения и передает изображение заднего вида в ЭБУ системы помощи при парковке.
      Приемник системы навигации в сборе Получает сигналы изображения от ЭБУ системы помощи при парковке и отображает изображение пространства позади автомобиля на многофункциональном экране.
      Переключатель предварительной помощи при парковке Позволяет включить/выключить функцию предварительной помощи и обеспечивает переключение между режимом перпендикулярной парковки и режимом парковки в ряд.

      Витой кабель с датчиком в сборе

      - Датчик угла поворота рулевого колеса

      Определяет угол поворота рулевого колеса и передает сигнал в ЭБУ системы помощи при парковке через ЭБУ системы противоскольжения.
      ЭБУ распределения питания
      • Передает в ЭБУ системы помощи при парковке такие сигналы состояния автомобиля, как сигнал угла наклона педали акселератора и сигнал положения рычага переключения передач.

      • Передает сигнал заднего хода в интегрированное реле № 1.

      • Получает сигнал запроса на увеличение тяги медленного хода от ЭБУ системы помощи при парковке и увеличивает тяговое усилие MG2.

      Главный ЭБУ кузова (бортовой ЭБУ сети мультиплексной связи) Передает в ЭБУ системы помощи при парковке сигнал стояночного тормоза и сигнал выключателя освещения проема и порога двери багажного отделения.

      Усилитель тормозной системы с главным цилиндром в сборе

      - ЭБУ системы противоскольжения

      Передает в ЭБУ системы помощи при парковке сигнал частоты вращения колеса.
      ЭБУ рулевого управления с усилителем
      • Воздействует на рулевое управление, получая такие сигналы состояния автомобиля, как сигнал рулевого управления от ЭБУ системы помощи при парковке.

      • Передает в ЭБУ системы помощи при парковке такие сигналы состояния автомобиля, как сигнал аварийного режима EPS и сигнал состояния рулевого управления.

      Интегрированное реле № 1 Передает сигнал заднего хода из ЭБУ распределения питания в приемник системы навигации.
      Устройство управления блокировкой селектора в сборе Передает сигнал заднего хода в ЭБУ распределения питания.
      Правый задний датчик высоты подвески в сборе Передает в ЭБУ системы помощи при парковке сигналы изменений высоты подвески автомобиля от заднего правого датчика высоты подвески.
      ЭБУ системы управления уровнем фар в сборе*1 Подает питание на правый задний датчик высоты подвески в сборе через ЭБУ системы помощи при парковке.
      Блок управления системой кондиционирования в сборе Передает в ЭБУ системы помощи при парковке температуру наружного воздуха, измеряемую датчиком температуры наружного воздуха.

      Передний динамик № 1

      Передний динамик № 2

      Передает голосовые сообщения соответствующего режима согласно голосовым сигналам, полученным от ЭБУ системы помощи при парковке, через приемник системы навигации в сборе.

      • *1: В моделях со светодиодными фарами

      • *2: Для моделей без светодиодных фар

  2. УСЛОВИЯ РАБОТЫ


    1. Условия работы каждой функции интеллектуальной системы помощи при парковке изменяются следующим образом:

      Функция Условия работы
      Функция предварительной помощи
      • Выключатель питания в положении (READY).

      • Выбрано положение нейтральной передачи (N), движения (D) или торможения (B).

      • Дверь багажного отделения закрыта.

      • Скорость автомобиля составляет приблизительно 15 км/час (9 миль в час) или ниже.

      • Переключатель предварительной помощи при парковке включен.

      Режим отображения заднего вида
      • Выключатель питания в положении (READY).

      • Переключатель выбора режима помощи в положении ON (ВКЛ).

      • Дверь багажного отделения закрыта.

      • Выбрано положение заднего хода (R).

      Режим парковки (перпендикулярная парковка) или режим парковки в ряд
      • Выключатель питания в положении (READY).

      • Переключатель выбора режима помощи в положении ON (ВКЛ).

      • Дверь багажного отделения закрыта.

      • Выбрано положение заднего хода (R).

      Режим парковки с использованием расчетных направляющих линий, режим парковки с использованием парковочных направляющих линий или режим парковки без направляющих линий
      • Выключатель питания в положении (READY).

      • Выключатель режима помощи в положении OFF (ВЫКЛ).

      • Дверь багажного отделения закрыта.

      • Выбрано положение заднего хода (R).

  3. ФУНКЦИИ


    1. Зона, отображаемая на экране


      1. На дисплее справа отображаются объекты, которые находятся справа от автомобиля, а слева отображаются объекты, которые находятся слева от автомобиля.

      2. Телекамера имеет широкоугольный объектив. Расстояния до объектов, воспринимаемые с помощью экрана, отличаются от фактических расстояний.

        A01J7XB

        Note

        Зона, отображаемая на экране, может изменяться в зависимости от состояния автомобиля и дорожных условий. Зона обзора задней телекамеры ограничена. На изображении с задней телекамеры не будут видны объекты, расположенные рядом с краями бампера и под бампером.

    2. Функции дисплея (режимы дисплея)

      Переключатель выбора режима помощи Режим Описание
      - Режим отображения заднего вида Отображает видеосигналы, содержащие изображение заднего вида, передаваемого с задней телекамеры в сборе.
      Вкл

      Режим помощи при парковке

      (Перпендикулярная парковка)

      Отображает рамку предполагаемого места парковки на навигационном дисплее.
      Режим парковки в ряд
      Выкл Режим парковки с использованием расчетных направляющих линий Отображает направляющие линии на навигационном дисплее.
      Режим парковки с использованием парковочных направляющих линий
      Режим удаления направляющих линий
    3. Режим отображения заднего вида


      1. Для удобства водителя в режиме отображения заднего вида изображение пространства за автомобилем отображается на приемнике системы навигации в сборе.

      2. В режиме отображения заднего вида (при включенном переключателе выбора режима помощи) можно выбрать режим интеллектуальной помощи при парковке.

        A01J82PE01
        Позиция Описание изображения на дисплее
        (a) Переключатель выбора режима помощи Включает или отключает режим интеллектуальной помощи при парковке.
        (b) Индикатор

        Отображает состояние режима помощи.


        • Горит: режим интеллектуальной помощи при парковке

        • Не горит: режим монитора заднего вида

        (c) Переключатель включения режима помощи при парковке Данные переключатели появляются на экране при выборе положения заднего хода (R). Когда водитель прикасается к соответствующему переключателю, система переходит в режим помощи при парковке (перпендикулярная парковка) либо в режим парковки в ряд.
        (d) Переключатель включения режима парковки в ряд
        (е) Область вывода предупреждающих сообщений Область, в которой отображаются предупреждающие сообщения.
      3. Режим отображения заднего вида (при выключенном переключателе выбора режима помощи) имеет три режима: режим парковки с использованием расчетных направляющих линий (B), режим парковки с использованием парковочных направляющих линий (C), режим парковки без направляющих линий (D).

        A01J8BBE01
        Обозначения на рисунке
        *A Режим отображения заднего вида *B Режим парковки с использованием расчетных направляющих линий
        *C Режим парковки с использованием парковочных направляющих линий *D Режим парковки без направляющих линий
        *a Переключатель выбора режима помощи *b Индикатор
        *c Кнопка режима парковки по направляющим линиям - -
    4. Режим парковки (перпендикулярная парковка)


      1. Когда система работает в режиме перпендикулярной парковки, на экране отображаются вид из автомобиля сзади и рамка предполагаемого места парковки, которые требуются для перпендикулярной парковки или парковки в ряд. Кроме того, система помогает водителю осуществлять рулевое управление.

      2. Реализована функция выбора одним касанием. С помощью этой функции водитель может установить требуемое место парковки, прикоснувшись к крайнему переднему углу рамки предполагаемого места парковки.

        A01J857E01
        Позиция Описание изображения на дисплее
        (1) Предупреждающий флажок Обозначает приближенное место соприкосновения автомобиля с препятствием при установке предполагаемого места парковки. Предполагаемое место парковки следует устанавливать таким образом, чтобы оно не перекрывалось с препятствием.
        (2)

        Рамка предполагаемого места парковки

        (Синий или красный)

        Показывает текущее предполагаемое место парковки.

        Синий: предполагаемое место парковки достаточно и подтверждается

        Красный: предполагаемое место парковки недостаточно и не подтверждается

        (3) Переключатель по стрелке Предполагаемое место парковки перемещается в направлении, соответствующем стрелке, к которой прикасается водитель.
        (4) Недоступная зона Отображает область, недоступную для парковки, исходя из данных об угле поворота рулевого колеса.
        (a) Переключатель изменения ориентации Изменяет ориентацию "вправо/влево" предполагаемого места парковки.
        (b) Переключатель OK С помощью этого переключателя водитель подтверждает предполагаемое место парковки.
        (c) Область вывода предупреждающих сообщений Область, в которой отображаются предупреждающие сообщения.
        (d) Переключатель возврата Позволяет вернуть экран в режим отображения заднего вида.
    5. Режим парковки в ряд


      1. Когда система работает в режиме парковки в ряд, на экране отображаются вид из автомобиля сзади и рамка предполагаемого места парковки, которые требуются для перпендикулярной парковки или парковки в ряд. Кроме того, система помогает водителю осуществлять рулевое управление.

      2. Реализована функция выбора одним касанием. С помощью этой функции водитель может установить требуемое место парковки, прикоснувшись к крайнему переднему углу рамки предполагаемого места парковки.

        A01J7VWE01
        Позиция Описание изображения на дисплее
        (1) Предупреждающий флажок Обозначает приближенное место соприкосновения автомобиля с препятствием при установке предполагаемого места парковки. Предполагаемое место парковки следует устанавливать таким образом, чтобы оно не перекрывалось с препятствием.
        (2)

        Рамка предполагаемого места парковки

        (Синий или красный)

        Показывает текущее предполагаемое место парковки.

        Синий: предполагаемое место парковки свободно.

        Красный: предполагаемое место парковки занято.

        (3) Переключатель по стрелке Предполагаемое место парковки перемещается в направлении, соответствующем стрелке, к которой прикасается водитель.
        (a) Переключатель изменения ориентации Изменяет ориентацию "вправо/влево" предполагаемого места парковки.
        (b) Переключатель OK С помощью этого переключателя водитель подтверждает предполагаемое место парковки.
        (c) Область вывода предупреждающих сообщений Область, в которой отображаются предупреждающие сообщения.
        (d) Переключатель возврата Позволяет вернуть экран в режим отображения заднего вида.
    6. Режим парковки с использованием расчетных направляющих линий


      1. Следующая схема содержит описание дисплея в режиме отображения с использованием расчетных направляющих линий.

        A01J7ZYE01
        Позиция Описание
        (1) Линия, ограничивающая маневрирование в продольном направлении (красная) Перемещается вместе с расчетными направляющими линиями синхронно с движением рулевого колеса. Центральная точка линии соответствует положению на поверхности земли на расстоянии примерно 0,5 м (1,5 фута) позади заднего бампера.
        (2) Линия, ограничивающая маневр в продольном направлении (синяя) Показывает положение на поверхности земли на расстоянии примерно 0,5 м (1,5 фута) позади заднего бампера.
        (3) Линия, ограничивающая маневрирование в продольном направлении (желтая) Показывает положение на поверхности земли на расстоянии примерно 1,0 м (3,0 фута) позади заднего бампера.
        (4) Линия, ограничивающая маневр автомобиля по ширине (синяя) Показывает расчетную ширину автомобиля.
        (5) Расчетная направляющая линия (желтая) Перемещается синхронно с движением рулевого колеса, показывая расчетный курс движения автомобиля задним ходом.
        (a) Переключатель выбора режима помощи Переключение между режимом наблюдения заднего вида и режимом усовершенствованной помощи при парковке.
        (b) Индикатор

        Отображает состояние режима помощи.


        • Горит: усовершенствованная система помощи при парковке

        • Не горит: режим монитора заднего вида

        (c) Кнопка режима парковки по направляющим линиям Нажатие этой кнопки изменяет режим монитора заднего вида.
        (d) Область вывода предупреждающих сообщений Область, в которой отображаются предупреждающие сообщения.
    7. Режим парковки с использованием парковочных направляющих линий


      1. Следующая схема содержит описание дисплея в режиме отображения с использованием парковочных направляющих линий.

        A01J836E01
        Позиция Описание
        (1) Линия, ограничивающая маневрирование в продольном направлении (красная) Показывает положение на поверхности земли на расстоянии примерно 0,5 м (1,5 фута) позади заднего бампера.
        (2) Линия, ограничивающая маневр автомобиля по ширине (синяя) Показывает расчетную ширину автомобиля.
        (3) Парковочная направляющая линия (синяя) Указывает путь автомобиля при полном повороте рулевого колеса.
        (a) Переключатель выбора режима помощи Переключение между режимом монитора заднего вида и режимом усовершенствованной помощи при парковке.
        (b) Индикатор

        Отображает состояние режима помощи.


        • Горит: усовершенствованная система помощи при парковке

        • Не горит: режим монитора заднего вида

        (c) Кнопка режима парковки по направляющим линиям Нажатие этой кнопки изменяет режим монитора заднего вида.
        (d) Область вывода предупреждающих сообщений Область, в которой отображаются предупреждающие сообщения.
    8. Режим парковки без направляющих линий


      1. Следующая схема содержит описание дисплея в режиме отображения без использования направляющих линий.

        A01J84PE01
        Позиция Описание
        (1) Линия, ограничивающая маневрирование в продольном направлении (красная) Показывает положение на поверхности земли на расстоянии примерно 0,5 м (1,5 фута) позади заднего бампера.
        (a) Переключатель выбора режима помощи Переключение между режимом монитора заднего вида и режимом усовершенствованной помощи при парковке.
        (b) Индикатор

        Отображает состояние режима помощи.


        • Горит: усовершенствованная система помощи при парковке

        • Не горит: режим монитора заднего вида

        (c) Кнопка режима парковки по направляющим линиям Нажатие этой кнопки изменяет режим монитора заднего вида.
        (d) Область вывода предупреждающих сообщений Область, в которой отображаются предупреждающие сообщения.
    9. Функция предварительной помощи


      1. Когда ультразвуковой датчик № 1 обнаруживает место, в котором возможна парковка автомобиля, и водитель нажимает на переключатель предварительной помощи, система подает голосовые указания и указания на экране, помогая водителю переместиться в начальное положение для движения задним ходом (начальное положение парковки) в обоих режимах (перпендикулярной парковки и парковки в ряд). В режиме перпендикулярной парковки водитель получает указания, когда требуется повернуть рулевое колесо, а в режиме парковки в ряд система сообщает ему о положении остановки.

    10. Функция визуальной помощи


      1. В режиме перпендикулярной парковки на изображении постоянно видны линии места парковки, обеспечивающие движение автомобиля в соответствии с линиями места парковки. В случае приближения автомобиля к линиям места парковки предполагаемое место парковки корректируется.

    11. Функция легкой установки


      1. Если интеллектуальная система помощи при парковке распознает линии на парковочном месте при переключении рычага передач в положение заднего хода (R), появится экран легкой установки (первоначальное распознавание). Это позволяет водителю не устанавливать предполагаемое место парковки, сокращая время до начала оказания помощи.

        Tech Tips

        В ситуации, когда функция легкой установки не может работать, например при параллельной парковке, на автостоянке без линий разметки или в месте, где распознание линий разметки затруднено, обычная установка предполагаемого места парковки возможна с помощью переключателя режима парковки или переключателя режима парковки в ряд.

      2. Если линии разметки парковки не обнаружены первоначально, перемещение курсом на предполагаемое место парковки может дать интеллектуальной системе помощи при парковке возможность обнаружить разметку. Когда система сочтет возможным установить маршрут для помощи, появится экран легкой установки (определение поведения рулевого управления). После появления экрана легкой установки в ходе определения поведения рулевого управления для получения помощи не надо возвращать руль в нейтральное положение.

      3. Функция легкой установки может не работать по причине отсутствия возможности распознать линии разметки парковки в следующих условиях:


        • Парковочные места без разметки (обозначенные тросами, блоками и т. д.)

        • Загрязненные или стершиеся линии разметки парковки

        • Парковочные места с разметкой, трудно отличимой от поверхности дороги вследствие небольшой разницы в яркости (например, желтая разметка на бетоне)

      4. Система может неправильно распознавать положение предполагаемого места парковки в следующих условиях:


        • Парковочные места, разметка на которых пересекается другими линиями или объектами (линии дополнительной разметки, другие линии и препятствия, например столбы)

        • Парковочные места на склоне

        • Если обнаружению пространства препятствуют близлежащие транспортные средства (или их части, такие как решетка, порог или тень транспортного средства)

        • Загрязненные или стершиеся линии разметки парковки

        • Парковочные места с разметкой, трудно отличимой от поверхности дороги вследствие небольшой разницы в яркости (например, желтая разметка на бетоне)

      5. Функция легкой установки не будет работать при выполнении следующих условий.


        • Не выбран переключатель режима помощи

        • Во время перехода на экран функции предварительной помощи

        • Во время парковки в ряд

        A01J7S5E01
    12. Функция подачи предупреждающих сообщений


      1. При выполнении следующих условий в нижней, боковой или центральной части экрана выводится предупреждающее сообщение. Предупреждающее сообщение выводится на языке, установленном для многофункционального дисплея.

        Сообщения, выводимые в нижней части экрана
        Предупреждающее сообщение Описание
        Check surroundings for safety (из соображений безопасности следите за дорожной обстановкой). Это сообщение всегда выводится при работе системы.
        System initializing (инициализация системы) Это сообщение появляется при повороте рулевого колеса, когда контакт вспомогательной аккумуляторной батареи (-) отсоединяется и снова подсоединяется.
        Guidance unavailable (помощь невозможна). Данное сообщение отображается в случае неисправности системы.
        Остановите автомобиль с помощью педали тормоза. Данное сообщение и сообщение "Check surroundings for safety" (Убедитесь в отсутствии опасных предметов вокруг автомобиля) попеременно отображаются при движении задним ходом в направлении предполагаемого места парковки.
        Сообщения, выводимые в центре экрана
        Предупреждающее сообщение Описание
        System not ready (система не готова) Данное сообщение выводится, если не была выполнена инициализация системы.
        Check IPA system (проверьте систему IPA). Have your vehicle checked by a dealer (проверьте автомобиль у дилера). Данное сообщение отображается, если какой-либо компонент системы неисправен.
        Assist has been cancelled (помощь отменена). Данное сообщение появляется в результате управления рулевым колесом или педалью акселератора, когда система работала в режиме помощи при парковке.
        Speed is too fast (слишком большая скорость). Это сообщение выводится, если при работе в режиме помощи при парковке скорость движения автомобиля задним ходом слишком высока.
        Parking position has not been set (место парковки не установлено). Данное сообщение отображается, когда водитель начинает движение задним ходом, не прикоснувшись к кнопке OK после того, как предполагаемое место парковки было выделено голубым цветом.
        Release parking brake (отпустите стояночный тормоз) Это сообщение появляется, если водитель пытается управлять системой, не отпустив стояночный тормоз.
        Depress the brake pedal (Нажмите педаль тормоза) Данное сообщение отображается, если водитель прикасается к кнопке OK, когда работает система поддержания тормозного усилия.
        Accelerator pedal has been engaged (нажата педаль акселератора). Это сообщение выводится, если при работе в режиме помощи при парковке нажимается педаль акселератора.
        Clean Park Sonar (очистите ультразвуковой датчик системы парковки). Данное сообщение отображается, если ультразвуковой датчик № 1 замерз или загрязнен.
        Use on flat surface (необходима ровная поверхность). Данное сообщение отображается, если автомобиль начинает скатываться по склону, либо не может двигаться вверх по склону при отпущенной педали тормоза.
        System cannot assist under current conditions (в текущих условиях система не может управлять движением). Данное сообщение отображается, если система работает в режиме помощи при парковке и какая-либо шина изношена либо давление в шинах ниже заданного.
        IPA not available now (в настоящее время IPA не работает). Данное предупреждение выводится при попытке использовать интеллектуальную систему помощи при парковке в окружающих условиях, при которых использование системы невозможно, например на крутом склоне.
        Too much force applied to the steering wheel (к рулевому колесу прикладывается чрезмерное усилие). Это сообщение отображается, если рулевое колесо удерживается слишком сильно, когда система работает в режиме помощи при парковке.
        Steering position is not neutral (рулевое колесо не установлено в нейтральное положение). Turn the steering wheel to the LEFT (or RIGHT) (поверните рулевое колесо ВЛЕВО или ВПРАВО). Данное сообщение отображается, если рулевое колесо не установлено в центральное положение.
    13. Калибровка после замены деталей


      1. Всякий раз при выполнении следующих условий необходимо настроить указанные ниже параметры. Более подробную информацию см. в руководстве по ремонту.

        Настраиваемые параметры Условие
        Нейтральное положение рулевого колеса, сохраненное в памяти После снятия и установки витого кабеля с датчиком в сборе, а также после отсоединения и подсоединения разъема отображается сообщение "System initializing" (инициализация системы).
        Установка угла поворота рулевого колеса
        • После снятия и установки витого кабеля с датчиком в сборе, а также после отсоединения и подсоединения разъема отображается сообщение "System initializing" (инициализация системы).

        • Замена витого кабеля с датчиком в сборе.

        Настройка положения оптической оси телекамеры
        • Высота подвески автомобиля изменена вследствие замены деталей подвески или шин.

        • Угол установки задней телекамеры в сборе изменяется.

        • Если нарушена регулировка узла правого заднего датчика высоты подвески в сборе, например после снятия, установки или замены.

        Регулировка установочной позиции датчика высоты подвески
        • Высота подвески автомобиля изменена вследствие замены деталей подвески или шин.

        • Угол установки задней телекамеры в сборе изменяется.

        • Если нарушена регулировка узла правого заднего датчика высоты подвески в сборе, например после снятия, установки или замены.

        Регулировка отображаемой позиции ориентирной линии бампера
        • Когда нарушено положение облицовки заднего бампера, например после снятия, установки или замены.

        • Угол установки задней телекамеры в сборе изменяется.

        Инициализация ЭБУ системы помощи при парковке Заменен ЭБУ системы помощи при парковке.
    14. Инициализация


      1. Функция инициализации запускается с экрана меню диагностики. Экран меню диагностики вызывается так же, как в системе навигации. Подробная информация по использованию меню диагностики и функции инициализации приведена в руководстве по ремонту.

  4. ПРИНЦИП РАБОТЫ


    1. Работа функции предварительной помощи (в режиме парковки в ряд)


      1. Нажмите один раз на переключатель предварительной помощи, когда автомобиль окажется в положении перед местом парковки.

      2. Когда появится экран предварительной помощи, начните медленно двигаться вперед.

        A01J7WM
      3. Услышав звуковой сигнал, остановите автомобиль.

        A01J832
      4. Переведите рычаг переключения передач в положение R, чтобы перейти на экран места парковки.

    2. Работа функции предварительной помощи (в режиме помощи при парковке (перпендикулярная парковка))


      1. Нажмите дважды на переключатель предварительной помощи, когда автомобиль окажется в положении перед местом парковки.

      2. Когда появится экран предварительной помощи, начните медленно двигаться вперед.

        A01J88J
      3. Услышав звуковой сигнал, поверните рулевое колесо во время движения.

        A01J877
      4. Услышав звуковой сигнал снова, остановите автомобиль.

        A01J7VQ
      5. Верните рулевое колесо в прежнее положение и начните движение с рычагом переключения передач в положении R, чтобы перейти на экран места парковки.

    3. Работа в режиме парковки в ряд


      1. Установите автомобиль параллельно дороге (или обочине) на расстоянии приблизительно 1 м (39,4 дюйма) от припаркованных автомобилей.

      2. В это время ультразвуковые датчики № 1, установленные на обеих сторонах переднего бампера, начинают измерять расстояние между управляемым автомобилем и припаркованным автомобилем, чтобы рассчитать пространство для парковки.

        A01J7RVE01
        Обозначения на рисунке
        *a Приблизительно 1 м (39,4 дюйма) - -
      3. Медленно двигайтесь на автомобиле параллельно месту парковки, установив рулевое колесо прямо. Остановите автомобиль, когда вы увидите справа передний край припаркованного автомобиля.

        A01J7ZD
      4. Установите рычаг переключения передач в положение R.

      5. Прикоснитесь к переключателю включения режима парковки в ряд на экране.

        A01J7WG
      6. С помощью стрелок совместите синюю рамку с предполагаемым местом парковки и прикоснитесь к переключателю OK.

        A01J7UJ
      7. Сядьте таким же образом, как при обычном движении задним ходом, и положите руки на рулевое колесо, не прикладывая усилий. Проверьте пространство позади автомобиля для обеспечения безопасности и медленно двигайтесь задним ходом, используя педаль тормоза для управления скоростью автомобиля.

      8. В это время сообщения "Check surroundings for safety" (убедитесь в отсутствии опасных предметов вокруг автомобиля) и "Stop vehicle by using foot brake" (остановите автомобиль с помощью педали тормоза) попеременно отображаются в зоне предупреждающих сообщений экрана.

        A01J89M
      9. Как только автомобиль окажется практически в пределах предполагаемого места парковки, поступит голосовое сообщение "The guidance is finished" (помощь завершена), и система прекратит работу в режиме помощи при парковке в ряд.

        A01J7ZS
    4. Режим парковки (перпендикулярная парковка)


      1. Установите автомобиль перпендикулярно месту парковки как можно ближе к припаркованным автомобилям.

      2. В это время ультразвуковые датчики, установленные на обеих сторонах переднего бампера, начинают измерять расстояние между управляемым автомобилем и припаркованным автомобилем, чтобы рассчитать пространство для парковки.

        A01J7TY
      3. Проедьте вперед таким образом, чтобы вы могли видеть центр места для парковки слева, и начните поворачивать рулевое колесо.

        A01J88P
      4. Установите автомобиль таким образом, чтобы можно было въехать на парковку. Остановите автомобиль, установив рулевое колесо прямо.

      5. На данном этапе, когда автомобиль установлен таким образом, что угол места парковки отражается в центре наружного зеркала заднего вида, можно легко подстроиться к месту для парковки.

        A01J8BS
      6. Установите рычаг переключения передач в положение R.

      7. Прикоснитесь к переключателю включения режима помощи при парковке, отображаемому на экране.

        A01J7XD
      8. С помощью стрелок совместите синюю рамку с предполагаемым местом парковки, а затем прикоснитесь к переключателю "OK".

        A01J7ZW
      9. Сядьте таким же образом, как при обычном движении задним ходом, и положите руки на рулевое колесо, не прикладывая усилий. Проверьте пространство позади автомобиля для обеспечения безопасности и медленно двигайтесь задним ходом, используя педаль тормоза для управления скоростью автомобиля.

      10. В это время сообщения "Check surroundings for safety" (убедитесь в отсутствии опасных предметов вокруг автомобиля) и "Stop vehicle by using foot brake" (остановите автомобиль с помощью педали тормоза) попеременно отображаются в зоне предупреждающих сообщений экрана.

        A01J82F
      11. Как только автомобиль окажется практически в пределах предполагаемого места парковки, поступит голосовое сообщение "The guidance is finished" (помощь завершена), и система прекратит работу в режиме помощи при парковке.

        A01J7UU
    5. Режим парковки с использованием расчетных направляющих линий


      1. Чтобы припарковать автомобиль на стоянке в режиме пассивной помощи с использованием расчетных направляющих линий, выполните следующие действия:


        1. Установите рычаг переключения передач в положение R.

        2. На панели дисплея появится изображение, показанное ниже.

          A01J7S7
        3. Поверните рулевое колесо так, чтобы расчетные направляющие линии оказались в месте стоянки, и осторожно начните двигаться назад.

          A01J859
        4. Когда задняя часть автомобиля окажется в месте стоянки, поверните рулевое колесо, чтобы уравнять расстояния слева и справа между линиями, ограничивающими маневр автомобиля по ширине, и рамеченными краской боковыми линиями места стоянки.

        5. Добившись параллельности линий, ограничивающих маневр автомобиля по ширине, и размеченных краской боковых линий места стоянки, выровняйте положение рулевого колеса, а затем начните осторожно двигаться задним ходом до тех пор, пока автомобиль полностью не окажется в месте стоянки.

          A01J7W7
    6. Режим парковки с использованием парковочных направляющих линий


      1. Чтобы припарковать автомобиль на стоянке в режиме пассивной помощи с использованием парковочных направляющих линий, выполните следующие действия:


        1. Установите рычаг переключения передач в положение R.

        2. Выберите режим парковки с использованием парковочных направляющих линий.

        3. На многофункциональном дисплее появится изображение, показанное ниже.

          A01J899
        4. Двигаясь задним ходом, остановитесь в точке, где парковочная направляющая линия пересекается с левой стороной намеченного парковочного положения.

        5. Поверните рулевое колесо до упора вправо и двигайтесь задним ходом.

          A01J88F
        6. Продолжайте движение задним ходом, пока автомобиль не развернется параллельно изображенным линиям.

        7. После того, как автомобиль встанет параллельно линиям, установите рулевое колесо прямо и двигайтесь задним ходом, пока автомобиль не займет требуемое парковочное положение.

          A01J7S8
  5. КОНСТРУКЦИЯ


    1. Задняя телекамера в сборе


      1. Задняя телекамера в сборе имеет широкоугольный объектив и матрицу на приборах с зарядовой связью (ПЗС).

      2. Получаемое объективом задней телекамеры в сборе изображение преобразуется в электрические сигналы в соответствии с интенсивностью освещения матрицы на ПЗС, далее эти сигналы передаются в ЭБУ системы помощи при парковке.

      3. Изображение с задней телекамеры в сборе разворачивается, чтобы оно соответствовало изображению на внутреннем зеркале заднего вида. Поэтому фактически задний вид на экране зеркально отражен по горизонтали.

        A01J7WRE01
        Обозначения на рисунке
        *1 Широкоугольный объектив - -
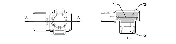
    2. Ультразвуковой датчик № 1


      1. Ультразвуковой датчик № 1 содержит микрофон и электронную схему, которые передают и принимают ультразвуковые колебания.

      2. Электронная схема заполнена уретаном, защищающим ее от воды.

      3. Ультразвуковой датчик № 1 имеет разъем на корпусе. Кроме того, с целью улучшения показателей применен микрофон с ровной частотной характеристикой и исключающими фокусирование краями.

        A01J81TE01
        Обозначения на рисунке
        *1 Электронная схема *2 Уретан
        *3 Микрофон - -
        *a Сечение A - A - -
  6. РАБОТА В АВАРИЙНОМ РЕЖИМЕ


    1. В приведенной ниже таблице указаны условия обнаружения неисправностей датчиков и ЭБУ данной системой.

      Неисправная деталь Неисправность Функция
      Режим отображения заднего вида Режим парковки (перпендикулярная парковка) / режим парковки в ряд

      Витой кабель с датчиком в сборе

      - Датчик угла поворота рулевого колеса


      • Передача сигнала неисправности датчика

      • Обрыв в цепи датчика

      • Нарушение связи между витым кабелем с датчиком в сборе (датчик угла поворота рулевого колеса) и ЭБУ системой помощи при парковке.

      Отображается сообщение "Guidance unavailable" (помощь невозможна). Система автоматически переключается в режим отображения заднего вида, и на экране появляется следующее сообщение: "Check IPA System (проверьте систему IPA). Have your vehicle checked by a dealer (проверьте автомобиль у дилера)".
      Передача сигнала о незавершенной коррекции нейтральной точки рулевого управления Отображается сообщение "System initializing" (инициализация системы) Система автоматически переключается в режим отображения заднего вида, и на экране появляется следующее сообщение: "System initializing" (инициализация системы)
      Задняя телекамера в сборе Передача сигнала неисправности задней телекамеры. Прием сигнала прекращается, и отображается темный экран
      ЭБУ системы помощи при парковке Неисправность ЭБУ системы помощи при парковке Прекращается работа системы
      ЭБУ рулевого управления с усилителем Неисправность ЭБУ рулевого управления с усилителем в сборе - Система автоматически переключается в режим отображения заднего вида, и на экране появляется следующее сообщение: "Check IPA System (проверьте систему IPA). Have your vehicle checked by a dealer (проверьте автомобиль у дилера)".
  7. ДИАГНОСТИКА


    1. Приемник системы навигации в сборе снабжен функциями диагностики, позволяющими открыть меню диагностики интеллектуальной системы помощи при парковке. Более подробную информацию см. в руководстве по ремонту.