СИСТЕМА ГИБРИДНОЙ ТРАНСМИССИИ ДЕТАЛЬНОЕ ОПИСАНИЕ


  1. КОНСТРУКЦИЯ


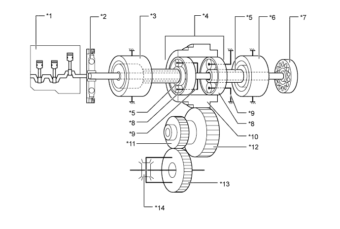
    1. Гибридная трансмиссия в сборе


      1. К основным узлам данной трансмиссии в блоке с главной передачей относятся MG1, MG2, блок шестерен, амортизатор трансмиссии, промежуточная шестерня, шестерня главной передачи, редуктор дифференциала и масляный насос.

      2. Конструкция данной трансмиссии включает три вала. На первичном валу установлены блок шестерен, амортизатор трансмиссии, масляный насос, MG1 и MG2. Промежуточная ведомая шестерня и приводная шестерня главной передачи смонтированы на втором валу. На третьем валу установлены ведомая шестерня главной передачи и редуктор дифференциала.

      3. Двигатель, MG1 и MG2 механически связаны посредством блока шестерен.

        A01J7PLE01
        Обозначения на рисунке
        *1 MG1 *2 MG2
        *3 Узел блока шестерен *4 Амортизатор трансмиссии (первичный амортизатор трансмиссии в сборе)
        *5 Промежуточная ведомая шестерня *6 Приводная шестерня главной передачи
        *7 Ведомая шестерня главной передачи *8 Редуктор дифференциала
        *9 Масляный насос - -
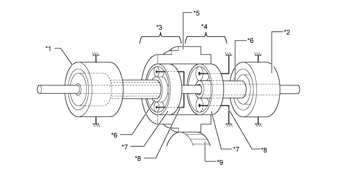
    2. Узел блока шестерен


      1. В блок шестерен входят планетарный редуктор электродвигателя и планетарная передача деления мощности. Коронные шестерни обоих планетарных механизмов входят в блок шестерен. Кроме того, блок шестерен объединен с промежуточной приводной шестерней и парковочной передачей.

      2. Планетарная передача деления мощности разделяет крутящий момент двигателя на две составляющих: одна используется для вращения колес, а другая – для привода MG1 с тем, чтобы он мог работать в режиме генератора.

      3. Планетарный редуктор электродвигателя, предназначенный для снижения частоты вращения MG2, обеспечивает оптимальное согласование высокоскоростного, обладающего высокой выходной мощностью MG2, с блоком шестерен.

        A01J816E01
        Обозначения на рисунке
        *1 Узел блока шестерен *2 Планетарная передача деления мощности
        *3 Промежуточная приводная шестерня (блок шестерен) *4 Планетарный редуктор электродвигателя
      4. Ниже показаны соединения солнечной шестерни, коронной шестерни и водила каждой планетарной передачи.

        Позиция Условие
        Планетарная передача деления мощности Солнечная шестерня MG1
        Коронная шестерня Блок шестерен (на колеса)
        Водило Выходной вал двигателя
        Планетарный редуктор электродвигателя Солнечная шестерня MG2
        Коронная шестерня Блок шестерен (на колеса)
        Водило Неподвижный элемент
        A01J89EE01
        Обозначения на рисунке
        *1 MG1 *2 MG2
        *3 Планетарная передача деления мощности *4 Планетарный редуктор электродвигателя
        *5 Промежуточная приводная шестерня *6 Солнечная шестерня
        *7 Коронная шестерня *8 Водило
        *9 Промежуточная ведомая шестерня - -
    3. Гаситель трансмиссии


      1. Для гашения колебаний крутящего момента при развитии двигателем тягового усилия трансмиссия снабжена амортизатором, содержащим цилиндрическую винтовую пружину с низкой способностью к скручиванию. В ограничителе крутящего момента используется однодисковый сухой фрикционный материал. Благодаря использованию этих деталей конструкция прекрасно поглощает вибрации, вызванные изменениями тягового усилия двигателя.

        A01J7U3E01
        Обозначения на рисунке
        *1 Сечение A - A *2 Ограничитель крутящего момента
        *3 Цилиндрическая винтовая пружина *4 От двигателя
    4. Механизм масляного насоса


      1. Масляный насос включает приводной вал масляного насоса, ведущую шестерню масляного насоса, ведомую шестерню масляного насоса и крышку масляного насоса. Насос приводится в движение двигателем через главный вал и смазывает шестерни.

        A01J7ZGE01
        Обозначения на рисунке
        *1 Приводной вал масляного насоса *2 Ведущая шестерня масляного насоса
        *3 Ведомая шестерня масляного насоса *4 Крышка масляного насоса
    5. Маслоотражательный смазочный механизм


      1. В смазочном механизме применена шестерня главной передачи, которая реализует маслоотражательный метод смазки через маслосборные баки. Такая конструкция минимизирует крутящий момент на валу масляного насоса и, тем самым, способствует снижению потерь в приводном механизме.

      2. Стабильную подачу масла обеспечивает маслосборный бак. Поднимаемое масло в течение некоторого времени собирается в маслосборном баке и оттуда передается в каждый зубчатый механизм. Кроме того, в маслосборных баках имеются отверстия для смазки, обеспечивающие эффективную подачу масла в MG1 и MG2.

        A01J841E01
        Обозначения на рисунке
        *1 Главный вал *2 Смазочное отверстие
        *3 Маслосборный бак *4 Второй вал
        *5 Направление вращения шестерни главной передачи *6 Третий вал
        *7 Шестерня главной передачи - -
  2. ПРИНЦИП РАБОТЫ


    1. Путь передачи крутящего момента


      1. Тяговое усилие, создаваемое двигателем и MG2, передается на промежуточную приводную шестерню блока шестерен, промежуточную ведомую шестерню, приводную шестерню главной передачи, а затем на редуктор дифференциала для приведения в движение передних колес.

        A01J86PE01
        Обозначения на рисунке
        *1 Двигатель *2 Гаситель трансмиссии
        *3 MG1 *4 Узел блока шестерен
        *5 Солнечная шестерня *6 MG2
        *7 Масляный насос *8 Коронная шестерня
        *9 Водило *10 Промежуточная приводная шестерня (блок шестерен)
        *11 Приводная шестерня главной передачи *12 Промежуточная ведомая шестерня
        *13 Ведомая шестерня главной передачи *14 Редуктор дифференциала
    2. Передача тяговых усилий двигателя и MG2


      1. Подводимый водилом крутящий момент двигателя передается коронной шестерне. Тяговое усилие MG2 подается на коронную шестерню через планетарный редуктор электродвигателя. Сумма этих двух тяговых усилий передается блоком шестерен на колеса для их привода.

        A01J81VE01
        Обозначения на рисунке
        *1 MG1 *2 MG2
        *3 Планетарная передача деления мощности *4 Планетарный редуктор электродвигателя
        A01J81N Направление вращения A01J7Q9 От двигателя
        A01J7QU От MG2 A01J895 К колесу
    3. Передача тягового усилия MG2


      1. Тяговое усилие MG2 передается на коронную шестерню через солнечную шестерню для привода колес. Водило планетарного редуктора электродвигателя неподвижно. В результате планетарный редуктор электродвигателя уменьшает частоту вращения MG2, увеличивая крутящий момент в соответствии с заданным передаточным числом. Направления вращения вперед и назад становятся противоположными.

        A01J7U7E01
        Обозначения на рисунке (движение вперед)
        *1 MG1 *2 MG2
        *3 Планетарная передача деления мощности *4 Планетарный редуктор электродвигателя
        A01J81N Направление вращения A01J7Q9 От MG2
        A01J7QU К колесу - -
        A01J7S1E01
        Обозначения на рисунке (движение назад)
        *1 MG1 *2 MG2
        *3 Планетарная передача деления мощности *4 Планетарный редуктор электродвигателя
        A01J81N Направление вращения A01J7Q9 От MG2
        A01J7QU К колесу - -
    4. Передача тягового усилия двигателя


      1. Подводимый водилом крутящий момент двигателя передается солнечной шестерне. В результате тяговое усилие используется для привода MG1, работающего в режиме генератора.

        A01J81UE01
        Обозначения на рисунке
        *1 MG1 *2 MG2
        *3 Планетарная передача деления мощности *4 Планетарный редуктор электродвигателя
        A01J81N Направление вращения A01J7Q9 От двигателя
        A01J7QU К MG1 - -
    5. Передача тягового усилия MG1


      1. Тяговое усилие MG1 передается на водило через солнечную шестерню. Это тяговое усилие используется для запуска двигателя.

        A01J8BJE02
        Обозначения на рисунке
        *1 MG1 *2 MG2
        *3 Планетарная передача деления мощности *4 Планетарный редуктор электродвигателя
        A01J81N Направление вращения A01J7Q9 От MG1
        A01J7QU К двигателю - -