WIPER AND WASHER SYSTEM DETAILS


  1. FUNCTION OF MAIN COMPONENTS


    1. Wiper and Washer System


      1. The wiper and washer system comprises the following parts and functions:

        Component Function
        Wiper and Washer Switch Assembly (Built into Front Wiper Relay) Outputs the position signal of the wiper and washer switch assembly to the front wiper motor and link assembly and the rear wiper motor assembly.
        Wiper and Washer Switch Assembly*1 Outputs the position signal of the wiper and washer switch assembly to the wiper relay assembly.
        Front Wiper Motor and Link Assembly Activates the front wiper in accordance with the position signal of the wiper and washer switch assembly or the control signal from the windshield wiper relay assembly *1.
        Rear Wiper Motor Assembly (Built into Rear Wiper Relay) Activates the rear wiper in accordance with the position signal from the wiper and washer switch assembly.
        Windshield Washer Jar Assembly Activates the front washer motor and pump assembly, rear washer motor and pump assembly, headlight cleaner and motor and pump assembly in accordance with the signal from the washer switch.
        Combination Meter Assembly*1 Outputs the vehicle speed and taillight signals to the windshield wiper relay assembly.
        Windshield Wiper Relay Assembly*1 Receives the operation signal from the wiper and washer switch assembly and the rain sensor, and inputs them into the front wiper motor and link assembly.
        Rain Sensor*1 Senses rain when the wiper and washer switch assembly is in AUTO, and sends signals to the Windshield Wiper Relay Assembly.

        • *1: Models with rain sensing function

        • *2: Models for LED headlight system

    2. Headlight Cleaner System


      1. The headlight cleaner system comprises the following parts and functions:

        Component Function
        Headlight Cleaner Switch Assembly The user operates this switch to operate the headlight cleaner headlight wiper switch assembly.
        Headlight Cleaner Motor and Pump Assembly Sends the washer fluid to the headlight cleaner in accordance with the signals from the headlight cleaner switch assembly.
        Headlight Cleaner Control Relay Receives the signals from the headlight cleaner switch assembly, washer switch and main body ECU and controls the headlight cleaner motor and pump assembly.
        Main Body ECU Sends the headlight low beam illumination signal to the headlight cleaner control relay.
        Headlight Cleaner Actuator Sub-assembly The pressure of the washer fluid sent by the headlight cleaner and motor assembly pushes out the headlight cleaner washer nozzles.
        Headlight Cleaner Washer Nozzle Sprays the washer fluid sent by the headlight cleaner and motor assembly onto the headlights.
  2. OPERATING CONDITION


    1. Headlight Cleaner System


      1. The headlight cleaner operates as follows:

        Headlight Low Beam Headlight Cleaner Switch Assembly Windshield Washer Switch Assembly
        ON ON (First Time) ON (Second Time or later)
        Turn ON Activated Activated Not Activated
        Turn OFF Activated Not Activated Not Activated
  3. SYSTEM CONTROL


    1. Rain Sensing Function


      1. The rain sensing function controls the wiper timing in accordance with the amount of rain that strikes the windshield when the windshield wiper switch assembly is in the AUTO position.

      2. The windshield wiper relay assembly circuit controls the timing based on the signal from the rain sensor.

    2. Washer-Linked Wiper


      1. When the wiper and washer switch assembly is set to OFF or AUTO* and the washer switch is turned on for approximately 0.2 seconds or more, the wipers start operating in LO at the same time as the washer fluid is sprayed.

      2. The wipers operate 3 times in LO after the washer switch is turned off.

        *: Models with rain sensing function

        A01J7T2E01
    3. Headlight Cleaner System


      1. When the power switch is on, pressing the headlight cleaner switch assembly will cause the headlight cleaner and motor assembly to operate for a predetermined length of time.

      2. When the power switch is on and the headlights are turned on to low beam, pressing the washer switch once will cause the headlight cleaner and motor assembly to operate.

  4. CONSTRUCTION


    1. Rain Sensor


      1. The rain sensor consists of a Light Emitting Diode (LED) that emits infrared rays, a photo diode that can receive those rays, a lens and rain sensor tape.

        A01J837E01
        Text in Illustration
        *1 Rain Sensor Tape *2 Lens
        *3 Photo Diode *4 LED

        Tech Tips

        If the rain sensor tape has been peeled off during a windshield glass replacement, make sure to affix new rain sensor tape. Failure to do so will lead to a system malfunction.

      2. If no rains are present in the detection area, the infrared rays emitted by the LED are all reflected from the outer surface of the windshield glass and are received by the photo diode.

      3. If rains are present in the detection area, a portion of the emitted infrared rays penetrates the windshield glass due to the change in the difference of the index of refraction between the glass and the area outside the windshield (difference between air and water). The ability of the windshield glass to reflect all light back inside changes due to the presence of rains. This change of internal reflection due to presence of water reduces the amount of infrared rays that are received by the photo diode. The amount of this reduction is then used to determine the amount of rains. Thus, this function controls the intermittent, low, and high operation in order to operate the wipers at an optimal wiping timing.

        A01J7YTE01
        Text in Illustration
        *1 Windshield Glass *2 Photo Diode
        *3 LED *4 Rain
        *a Infrared Rays - -
    2. Windshield Washer Nozzle


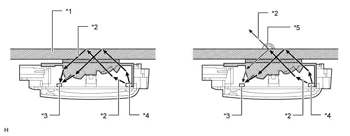
      1. Spray type washer nozzles are located under the engine hood to ensure good appearance. These nozzles can spray windshield washer fluid over a wide area by spraying it in a fan shape. The washer fluid volume has been reduced so as not to hinder the driver's view when the washer system is operated.

        A01J8BPE03
        Text in Illustration
        *1 Hood *2 Washer Nozzle
        *3 Fluid Volume *4 Main Flow Center
        *a View from A - -

        Tech Tips

        Spray type washer nozzles cannot be adjusted because of their structure. Do not attempt to adjust the nozzles as it could damage them. If adjustment is necessary, adjust the nozzles after replacing them with those selected from 3 part numbers with different spray angles. For details, refer to the Repair Manual.

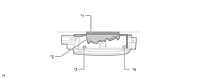
    3. Rear Washer Nozzle


      1. Washer nozzle is located on the back door panel.

        A01J83JE03
        Text in Illustration
        *1 Back Door Panel *2 Washer Nozzle
        *3 Left of Main Flow Center *4 Right of Main Flow Center
        *5 Nozzle Center Axis - -
        *a View from A - -
  5. FAIL-SAFE


    1. Rain Sensor


      1. The following measures are taken as fail-safe when any malfunction is detected by the windshield wiper relay assembly:

        Problem Outline
        Wiper Motor Malfunction Stops the operation of the rain sensing function
        Communication Signal Malfunction
        • Rain Sensor:


          • Continuously performs a wiper operation prior to occurrence of a malfunction.

          • Switches to the intermittent operation if a malfunction of the rain sensor is detected when the power switch is turned from off to on or the wiper and washer switch assembly is in AUTO position.


        • Wiper Switch:


          • Continuously perform a wiper operation prior to occurrence of a malfunction.