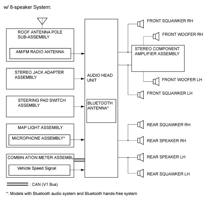
AUDIO AND VISUAL SYSTEM SYSTEM DIAGRAM

A01J84UE01
A01J80NE01