AUDIO AND VISUAL SYSTEM GENERAL


  1. OUTLINE


    1. Audio System


      1. The audio systems shown below are provided. For the touch screen system, enhanced navigation system functions are available by installing an extension module.

        Audio System Audio Head Unit Speaker Extension Module
        Display Audio System Radio and Display Receiver Assembly 6 Speakers -
        8 Speakers -
        Touch Screen System 6 Speakers X
        8 Speakers X
        HDD Navigation System Navigation Receiver Assembly 8 Speakers -

        • X: Available

        • -: Not available

    2. Audio Head Unit


      1. In consideration of the unity with the instrument panel, a uniquely sized audio head unit is provided.

      2. A Thin Film Transistor Liquid Crystal Display (TFT LCD) is used for the multi-display of the radio and display receiver assembly. The multi-display shows the audio screen, Bluetooth hands-free screen, vehicle information screen, etc. and can be operated using touch operation.

      3. Discs containing MPEG audio layer-3 (MP3) files and Windows Media Audio (WMA) files can be played.

      4. Discs with the marks shown below can be played.

        A01J84T
    3. Digital Audio Broadcast (DAB)


      1. Digital Audio Broadcast (DAB) reception is available. This mostly prevents broadcast interference, achieving clear reception with high quality sound.

      2. The time shift operation function can be used to play back programs at a later time.

        Tech Tips

        The amount of playback possible depends on the bit rate of the DAB station to be recorded, the amount of DAB unit memory, and the time at which reception of the broadcast began.

    4. Automatic Sound Levelizer (ASL)


      1. The Automatic Sound Levelizer (ASL) function automatically adjusts the sound volume in order to enable clear audio quality even when vehicle noise increases (as vehicle noise increases, the volume is turned up, etc.).

      2. Vehicle speed signals are received from the combination meter assembly and used for ASL control.

    5. USB Audio System


      1. A USB port is provided that enables operation of a USB memory device, portable audio player (USB type), iPhone, iPod, iPod classic, iPod nano or iPod touch.

        Tech Tips


        • iPhone, iPod, iPod classic, iPod nano and iPod touch are trademarks of Apple Inc., registered in the U.S. and other countries.

        • The following iPod, iPod nano, iPod classic, iPod touch and iPhone devices can be used with this system.


          • Made for
          • iPod touch (4th generation)

          • iPod touch (3rd generation)

          • iPod touch (2nd generation)

          • iPod touch (1st generation)

          • iPod classic

          • iPod with video

          • iPod nano (6th generation)

          • iPod nano (5th generation)

          • iPod nano (4th generation)

          • iPod nano (3rd generation)

          • iPod nano (2nd generation)

          • iPod nano (1st generation)

          • iPhone 4

          • iPhone 3GS

          • iPhone 3G

          • iPhone

        • Depending on differences between models or software versions etc., some models might be incompatible with this system.

        • USB memory devices that meet the following specifications are supported:

          USB Communication Speed
          • USB 2.0, Full Speed (12 Mbps)

          • USB 2.0, High Speed (480 Mbps)

          File System FAT 16/32 (Windows)
          Device Class Mass Storage Class
          File Format MP3, WMA
          A01J7XQ
    6. Bluetooth Audio System


      1. The Bluetooth audio system enables users to enjoy music played on a portable player from the vehicle speakers via wireless communication.


        • The Bluetooth specifications and profiles required for operation are as follows:

          Specification / Profile Version
          Bluetooth Specification Version 1.1 or higher Required
          Version 2.1 + EDR or higher Recommended
          Profile Advanced Audio Distribution Profile (A2DP) Version 1.0 or higher Required
          Advanced Audio Distribution Profile (A2DP) Version 1.2 or higher Recommended
          Audio/Video Remote Control Profile (AVRCP) Version 1.0 or higher Required
          Audio/Video Remote Control Profile (AVRCP) Version 1.4 or higher Recommended
    7. Bluetooth Hands-free System


      1. The Bluetooth hands-free system allows the user to make or receive a call without taking their hands off the steering wheel when the system is linked with a Bluetooth-compatible cellular phone.

        Specification / Profile Version
        Bluetooth Specification Version 1.1 or higher Required
        Version 2.1+EDR or higher Recommended
        Profile Hands Free Profile (HFP) Version 1.0 or higher Required
        Hands Free Profile (HFP) Version 1.5 or higher Recommended
        Dial-up Networking Profile (DUN) Version 1.1 or higher*1 Recommended
        Object Push Profile (OPP) Version 1.1 or higher Required
        Personal Area Network (PAN) Ver. 1.0*2 Required
        Phone Book Access Profile (PBAP) Version 1.0 or higher Required
        Message Access Profile (MAP) Ver.1.0 or higher*1 Required

        *1: Models with touch screen system (with extension module) or HDD navigation system

        *2: Models with touch screen system (with extension module)

        Tech Tips


        • The touch screen system is compatible with the PIM (Personal Information Manager) applications.

        • The operation of the interrupt call function of the Bluetooth hands-free system may vary with the Bluetooth phone or the telephone company that is used.

          A01J8AL "Bluetooth" is a trademark owned by Bluetooth SIG, Inc.
        • The some profiles described above may not be supported in the system depending on the audio head unit equipped.

        • If the specification of the connected Bluetooth phone is lower than the recommended or does not support the functions required, the available functions may be limited.

        • Registration and connection of a Bluetooth phone is not available when only Dial-up Networking Profile (DUN), Object Push Profile (OPP), Phone Book Access Profile (PBAP) and MAP (Message Access Profile) are supported.

      2. When a Bluetooth phone is connected to the navigation receiver assembly, e-mails and Short Message Service (SMS) messages received on the phone can be displayed or read out (Messages may not be displayed depending on the message service or profile that the connected Bluetooth phone supports.)

    8. Voice Recognition Search System


      1. Due to the Grapheme to Phoneme (G2P) function of converting sounds into text, a song in the USB audio system can be searched for by saying an artist name, album name, title or playlist name.

    9. "GreenEdge" Speakers


      1. "GreenEdge" speakers that efficiently convert electricity to sound with less sound corruption have been adopted. These speakers realize high sound pressure levels with low power consumption while still maintaining superb sound quality.

      2. Due to the adoption of acoustic lenses, the directionality of the speaker output is improved, enhancing the area where the acoustics are effective.

        A01J7TAE01
      3. The cloth diaphragm horns of the horn tweeters control the directionality of the peak sound output from the speakers, enabling a high sound pressure level that is superior in the mid range.

        A01J872E01
    10. Class H Amplifier


      1. A Class H amplifier is provided for the 8-speaker System. The amplifier controls the power supplied to the amplifier circuit in the most efficient way according to the received audio signals.

      2. The power consumption and heat generation of the Class H amplifier is small, minimizing the size of the heatsink and related parts. This realizes a compact and lightweight amplifier.

    11. Steering Pad Switch Assembly


      1. Switches that the driver often uses are provided on the steering wheel for convenience.

    12. Rear Seat Audio Control Panel (Cooler Control Switch Assembly)


      1. A controller is provided on the rear seat center armrest assembly, enabling the rear seat occupants to adjust the volume and change the audio sources.

  2. MAJOR DIFFERENCE


    1. The new models have been modified from the previous models as shown below:


      1. The touch screen system and the display audio system have been added to the audio systems.

      2. A new model HDD navigation system is available.

  3. SPECIFICATION


    1. Audio Head Unit


      1. for LHD Models:

        Audio Head Unit Design Specification
        Radio and Display Receiver Assembly A01J8CL
        • 6.1-inch Wide Liquid Crystal Display (EGA Type)

        • AM/FM Tuner

        • Digital Sound Processor (DSP)

        • Automatic Sound Levelizer (ASL)

        • CD Player: Compatible with MP3 and Windows Media Audio (WMA) files

        • CD-TEXT Display Function

        • Bluetooth Audio

        • Bluetooth Hands-free System

        • Portable Audio Player (USB type) Interface

        • iPod / iPhone Interface

        • Media Transfer Protocol (MTP) Device (Models with Extension Module)

        • USB Memory Device Interface

        • Stereo Jack Adapter

        • Customizable vehicle settings can be changed

        • 6-speaker System

        • Unit: Panasonic

        Radio and Display Receiver Assembly A01J85I
        • 6.1-inch Wide Liquid Crystal Display (EGA Type)

        • AM/FM Tuner

        • Digital Sound Processor (DSP)

        • Automatic Sound Levelizer (ASL)

        • CD Player: Compatible with MP3 and Windows Media Audio (WMA) files

        • CD-TEXT Display Function

        • Bluetooth Audio

        • Bluetooth Hands-free System

        • Portable Audio Player (USB type) Interface

        • iPod / iPhone Interface

        • Media Transfer Protocol (MTP) Device (Models with Extension Module)

        • USB Memory Device Interface

        • Stereo Jack Adapter

        • Customizable vehicle settings can be changed

        • 8-speaker System

        • Unit: Panasonic

        • Stereo Amplifier: JBL

        Radio and Display Receiver Assembly A01J80V
        • 6.1-inch Wide Liquid Crystal Display (EGA Type)

        • AM/FM Tuner

        • Digital Sound Processor (DSP)

        • Automatic Sound Levelizer (ASL)

        • CD Player: Compatible with MP3 and Windows Media Audio (WMA) files

        • CD-TEXT Display Function

        • Bluetooth Audio

        • Bluetooth Hands-free System

        • Portable Audio Player (USB type) Interface

        • iPod / iPhone Interface

        • USB Memory Device Interface

        • Stereo Jack Adapter

        • Customizable vehicle settings can be changed

        • 8-speaker System

        • Unit: Panasonic

        • Stereo Amplifier: JBL

        Navigation Receiver Assembly A01J7R7
        • 7.0-inch Wide Liquid Crystal Display (VGA Type)

        • AM/FM Tuner

        • Digital Audio Broadcast (DAB) Tuner

        • Radio Data System Traffic Message Channel (RDS-TMC) Tuner

        • Transport Protocol Experts Group (TPEG) Tuner

        • Digital Sound Processor (DSP)

        • Automatic Sound Levelizer (ASL)

        • CD Player: Compatible with MP3 and Windows Media Audio (WMA) files

        • CD-TEXT Display Function

        • Bluetooth Audio

        • Bluetooth Hands-free System

        • Portable Audio Player (USB type) Interface

        • iPod / iPhone Interface

        • USB Memory Device Interface

        • Voice Recognition Search (USB Audio System)

        • Stereo Jack Adapter

        • Customizable vehicle settings can be changed

        • 8-speaker System

        • Unit: Panasonic / Hard Disk Drive: Aisin AW

        • Stereo Amplifier: JBL

        Navigation Receiver Assembly A01J7WK
        • 7.0-inch Wide Liquid Crystal Display (VGA Type)

        • AM/FM Tuner

        • Digital Sound Processor (DSP)

        • Radio Data System Traffic Message Channel (RDS-TMC) Tuner

        • Automatic Sound Levelizer (ASL)

        • DVD Player: Compatible with MP3 and Windows Media Audio (WMA) Files

        • CD-TEXT Display Function

        • Bluetooth Audio

        • Bluetooth Hands-free System

        • Portable Audio Player (USB type) Interface

        • iPod / iPhone Interface

        • USB Memory Device Interface

        • Customizable vehicle settings can be changed

        • Stereo Jack Adapter

        • Customizable vehicle settings can be changed

        • 8-speaker System

        • Unit: Fujitsu Ten / Hard Disk Drive: Denso

        • Stereo Amplifier: JBL

      2. for RHD Models:

        Audio Head Unit Design Specification
        Radio and Display Receiver Assembly A01J7V8
        • 6.1-inch Wide Liquid Crystal Display (EGA Type)

        • AM/FM Tuner

        • Digital Sound Processor (DSP)

        • Automatic Sound Levelizer (ASL)

        • CD Player: Compatible with MP3 and Windows Media Audio (WMA) files

        • CD-TEXT Display Function

        • Bluetooth Audio

        • Bluetooth Hands-free System

        • Portable Audio Player (USB type) Interface

        • iPod / iPhone Interface

        • Media Transfer Protocol (MTP) Device (Models with Extension Module)

        • USB Memory Device Interface

        • Stereo Jack Adapter

        • Customizable vehicle settings can be changed

        • 6-speaker System

        • Unit: Panasonic

        Radio and Display Receiver Assembly A01J7QN
        • 6.1-inch Wide Liquid Crystal Display (EGA Type)

        • AM/FM Tuner

        • Digital Sound Processor (DSP)

        • Automatic Sound Levelizer (ASL)

        • CD Player: Compatible with MP3 and Windows Media Audio (WMA) files

        • CD-TEXT Display Function

        • Bluetooth Audio

        • Bluetooth Hands-free System

        • Portable Audio Player (USB type) Interface

        • iPod / iPhone Interface

        • Media Transfer Protocol (MTP) Device (Models with Extension Module)

        • USB Memory Device Interface

        • Stereo Jack Adapter

        • Customizable vehicle settings can be changed

        • 8-speaker System

        • Unit: Panasonic

        • Stereo Amplifier: JBL

        Radio and Display Receiver Assembly A01J83W
        • 6.1-inch Wide Liquid Crystal Display (EGA Type)

        • AM/FM Tuner

        • Digital Sound Processor (DSP)

        • Automatic Sound Levelizer (ASL)

        • CD Player: Compatible with MP3 and Windows Media Audio (WMA) files

        • CD-TEXT Display Function

        • Bluetooth Audio

        • Bluetooth Hands-free System

        • Portable Audio Player (USB type) Interface

        • iPod / iPhone Interface

        • USB Memory Device Interface

        • Stereo Jack Adapter

        • Customizable vehicle settings can be changed

        • 8-speaker System

        • Unit: Panasonic

        • Stereo Amplifier: JBL

        Navigation Receiver Assembly A01J7TL
        • 7.0-inch Wide Liquid Crystal Display (VGA Type)

        • AM/FM Tuner

        • Digital Audio Broadcast (DAB) Tuner

        • Radio Data System Traffic Message Channel (RDS-TMC) Tuner

        • Transport Protocol Experts Group (TPEG) Tuner

        • Digital Sound Processor (DSP)

        • Automatic Sound Levelizer (ASL)

        • CD Player: Compatible with MP3 and Windows Media Audio (WMA) files

        • CD-TEXT Display Function

        • Bluetooth Audio

        • Bluetooth Hands-free System

        • Portable Audio Player (USB type) Interface

        • iPod / iPhone Interface

        • USB Memory Device Interface

        • Voice Recognition Search (USB Audio System)

        • Stereo Jack Adapter

        • Customizable vehicle settings can be changed

        • 8-speaker System

        • Unit: Panasonic / Hard Disk Drive: Aisin AW

        • Stereo Amplifier: JBL

        Navigation Receiver Assembly A01J7SR
        • 7.0-inch Wide Liquid Crystal Display (VGA Type)

        • AM/FM Tuner

        • Digital Audio Broadcast (DAB) Tuner

        • Digital Sound Processor (DSP)

        • Radio Data System Traffic Message Channel (RDS-TMC) Tuner

        • Automatic Sound Levelizer (ASL)

        • DVD Player: Compatible with MP3 and Windows Media Audio (WMA) Files

        • CD-TEXT Display Function

        • Bluetooth Audio

        • Bluetooth Hands-free System

        • Portable Audio Player (USB type) Interface

        • iPod / iPhone Interface

        • USB Memory Device Interface

        • Voice Recognition Search (USB Audio System)

        • Stereo Jack Adapter

        • Customizable vehicle settings can be changed

        • 8-speaker System

        • Unit: Fujitsu Ten / Hard Disk Drive: Denso

        • Stereo Amplifier: JBL

        Navigation Receiver Assembly A01J7X3
        • 7.0-inch Wide Liquid Crystal Display (VGA Type)

        • AM/FM Tuner

        • Digital Sound Processor (DSP)

        • Radio Data System Traffic Message Channel (RDS-TMC) Tuner

        • Automatic Sound Levelizer (ASL)

        • DVD Player: Compatible with MP3 and Windows Media Audio (WMA) Files

        • CD-TEXT Display Function

        • Bluetooth Audio

        • Bluetooth Hands-free System

        • Portable Audio Player (USB type) Interface

        • iPod / iPhone Interface

        • USB Memory Device Interface

        • Voice Recognition Search (USB Audio System)

        • Stereo Jack Adapter

        • Customizable vehicle settings can be changed

        • 8-speaker System

        • Unit: Panasonic / Hard Disk Drive: Aisin AW

        • Stereo Amplifier: JBL

    2. 6-speaker System

      A01J7YSE01
      Location Speaker Type Quantity Size Impedance Rated Input Power
      (1) Squawker 2 5.5 cm (2.2 in.) 4 Ω 17.5 W
      (2) Full Range 2 15 x 23 cm (6.0 x 9.0 in.) 4 Ω 20 W
      (3) Full Range 2 16 cm (6.3 in.) 4 Ω 20 W
    3. 8-speaker System

      A01J7TCE01
      Location Speaker Type Quantity Size Impedance Rated Input Power
      (1) Tweeter 2 2.5 cm (1 in.) 4 Ω 2 W
      (2) Woofer 2 15 x 23 cm (7 x 10 in.) 5.6 Ω 3 W
      (3) Tweeter 2 2.5 cm (1 in.) 4 Ω 2 W
      (4) Woofer 2 17 cm (7 in.) 4.2 Ω 5 W
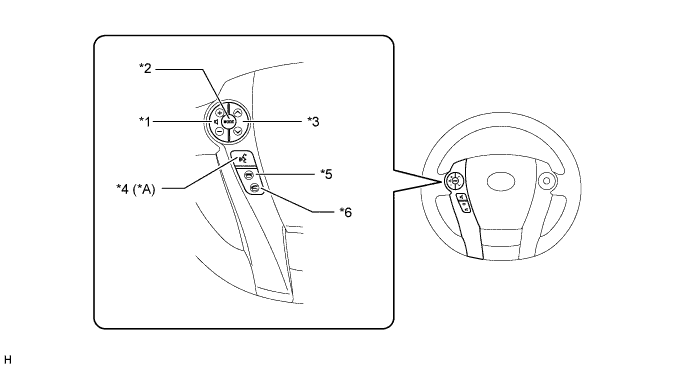
    4. Steering Pad Switch Assembly

      Item Switch Equipment
      Audio
      • Volume +/-

      • Seek +/-

      • MODE

      X
      Telephone
      • On Hook

      • Off Hook

      X
      Navigation / Telephone Voice

      - (Models without Voice Recognition System)

      X (Models with Voice Recognition System)

      Tech Tips


      • X: Equipped

      • -: Not equipped

      A01J7RJE01
      Text in Illustration
      *A Models with Voice Recognition System - -
      *1 Volume Switch *2 MODE Switch
      *3 Seek Switch *4 Voice Switch
      *5 On Hook Switch *6 Off Hook Switch