СИСТЕМА ПОДУШЕК БЕЗОПАСНОСТИ ДЕТАЛЬНОЕ ОПИСАНИЕ


  1. НАЗНАЧЕНИЕ ОСНОВНЫХ УСТРОЙСТВ


    1. Основные устройства, входящие в состав системы подушек безопасности SRS, перечислены в таблице ниже.

      Устройство Описание
      Блок управления системы SRS
      • Определяет замедление автомобиля во время столкновения, на основании сигналов от датчиков системы SRS устанавливает, требуется или нет воспламенение, и передает сигналы развертывания для каждой подушки безопасности и каждого преднатяжителя ремня безопасности.

      • Обеспечивает выполнение первоначальной проверки и диагностики.

      Подушки безопасности в сборе Состоит, главным образом, из насоса и оболочки. После получения сигнала развертывания от блока управления системы SRS насос производит газ для развертывания оболочки.
      Блок управления Определяет замедление автомобиля во время столкновения и передает сигнал в блок управления системы SRS, на основании которого блок управления решает, требуется или нет воспламенение.
      Выключатель пряжки ремня безопасности переднего пассажира Исходя из своего состояния определяет, пристегнут или нет ремень безопасности переднего пассажира, и передает сигналы включения/выключения в блок управления системы SRS.
      Выключатель системы SRS Передает сигналы включения/выключения в блок управления системы SRS, давая возможность вручную разрешать или запрещать развертывание подушек безопасности со стороны переднего пассажира.
      Контрольная лампа аварийного состояния SRS Располагается на щитке приборов в сборе и включается, когда в системе подушек безопасности SRS возникает неисправность.
  2. УСЛОВИЯ РАБОТЫ


    1. Условия воспламенения


      1. Датчики ускорения, используемые в системе SRS, установлены на различных частях автомобиля и рассчитывают отрицательное ускорение, получаемое каждой частью во время столкновения.

      2. В зависимости от ситуации блок управления системы SRS передает сигнал развертывания в подушки безопасности на основании информации, полученной от датчиков.

      3. Сигналы фронтального столкновения формируются на основе информации от блока управления системы SRS и передних датчиков системы SRS. Сигналы фронтального столкновения используются для развертывания всех подушек безопасности, за исключением боковых подушек безопасности и подушек безопасности занавесочного типа.

        A0116MQE01
      4. Боковые подушки безопасности развертываются на основании сигналов от датчиков системы SRS со стороны дверей и блока управления системы SRS.

        Tech Tips

        В это же время развертываются боковые подушки безопасности занавесочного типа.

        A0116EFE01
      5. Подушка безопасности занавесочного типа развертывается на основании сигналов от дверных боковых датчиков системы SRS и блока управления системы SRS или от бокового датчика системы SRS в сборе и блока управления системы SRS.

        A0116IQE01
      6. На основании данных от блока управления системы SRS и задних датчиков системы SRS формируются сигналы заднего столкновения. Сигналы заднего столкновения используются для развертывания всех подушек безопасности, за исключением подушек безопасности для защиты от лобового и бокового столкновений.

        A0116OLE01
  3. УПРАВЛЕНИЕ В СИСТЕМЕ


    1. Подушки безопасности для защиты от фронтального столкновения


      1. Для лобовых столкновений предусмотрены 4 подушки безопасности и 2 ремня безопасности: подушка безопасности в накладке рулевого колеса, передняя подушка безопасности пассажира в сборе, подушка безопасности для защиты коленей водителя в сборе, подушка безопасности в подушке сиденья переднего пассажира в сборе, левый передний ремень с катушкой и преднатяжителем в сборе и правый передний ремень с катушкой и преднатяжителем в сборе. Развертывание подушек безопасности и приведение в действие преднатяжителей происходят одновременно.

      2. Блок управления системой SRS определяет, следует или нет развертывать подушку безопасности в подушке сиденья переднего пассажира, на основании сигналов, поступающих от выключателя пряжки ремня безопасности переднего пассажира.

        A0116CME01
    2. Подушки безопасности для защиты от бокового/заднего бокового столкновения


      1. Для сильных боковых столкновений предусмотрены 2 подушки безопасности: боковая подушка безопасности передних сидений в сборе и подушка безопасности занавесочного типа в сборе. Все эти подушки безопасности развертываются одновременно. При сильных задних боковых столкновениях развертывается только подушка безопасности занавесочного типа в сборе.

      2. Когда датчик системы SRS со стороны двери регистрирует удар при боковом столкновении, он информирует о нем блок управления системы SRS, и последний обеспечивает одновременное развертывание боковой подушки безопасности передних сидений в сборе и подушки безопасности занавесочного типа в сборе.

        A0116GAE01
      3. Когда боковой датчик системы SRS в сборе регистрирует удар при заднем боковом столкновении, он информирует о нем блок управления системы SRS посредством дверного бокового датчика системы SRS, и блок управления системы SRS обеспечивает развертывание подушки безопасности занавесочного типа в сборе.

        A0116MEE01
    3. Подушка безопасности для защиты от заднего столкновения


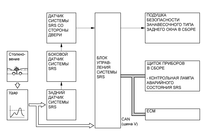
      1. Защиту от задних столкновений обеспечивает подушка безопасности занавесочного типа заднего окна в сборе. Когда задний датчик системы SRS регистрирует удар при заднем столкновении, он информирует о нем блок управления системы SRS посредством дверного бокового датчика системы SRS и бокового датчика системы SRS в сборе, и блок управления системы SRS обеспечивает развертывание подушки безопасности занавесочного типа заднего окна в сборе.

        A0116JME01
    4. Управление контрольными лампами при первичной проверке


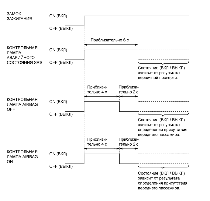
      1. После установки замка зажигания в состояние ON (ВКЛ) блок управления системы SRS примерно на 6 с включает контрольную лампу аварийного состояния SRS на щитке приборов и проводит первичную проверку. Во время первичной проверки воспламенение внутри подушек безопасности запрещается, и выполняется диагностика работы блока управления системы SRS. При обнаружении неисправности во время первичной проверки контрольная лампа аварийного состояния SRS останется включенной даже по истечении 6 с. См. рисунок ниже.

      2. После установки замка зажигания в состояние ON (ВКЛ) блок управления системы SRS включает контрольные лампы AIRBAG ON/OFF на заданное время, как показано ниже, чтобы проверить цепь индикации выключателя системы SRS на обрыв.

        A0116IDE02
  4. ФУНКЦИИ


    1. Выключатель системы SRS


      1. Развертывание передней подушки безопасности пассажира в сборе и подушки безопасности в подушке сиденья переднего пассажира в сборе может быть запрещено с помощью выключателя системы SRS, расположенного в нижней части панели приборов со стороны водителя. Когда выключатель системы SRS находится в положении OFF (ВЫКЛ), подушки безопасности со стороны переднего пассажира не развертывается даже в случае столкновения.

      2. Для установки выключателя системы SRS в положение ON (ВКЛ) или OFF (ВЫКЛ) необходимо вставить ключ и повернуть его.

      3. На сигнальной лампе в верхней части панели приборов имеются контрольные лампы включения/выключения передней подушки безопасности пассажира AIRBAG ON/OFF, которые информируют водителя о состоянии выключателя системы SRS.

      4. В приведенной ниже таблице показано, как изменяются состояния контрольных ламп AIRBAG ON/OFF и режим работы подушек безопасности переднего пассажира в зависимости от состояния выключателя системы SRS.

        Описание Состояние выключателя системы SRS
        ON (ВКЛ) OFF (ВЫКЛ) Неисправность
        Передняя подушка безопасности пассажира в сборе X X
        Подушка безопасности в подушке сиденья переднего пассажира в сборе X X
        Боковая подушка безопасности передних сидений в сборе
        Передний ремень с катушкой и преднатяжителем в сборе для переднего пассажира
        Подушка безопасности занавесочного типа в сборе для переднего пассажира
        Контрольная лампа AIRBAG ON X X
        Контрольная лампа AIRBAG OFF X

        • ○: работа разрешена (контрольная лампа включена)

        • X: работа запрещена (контрольная лампа выключена)

  5. КОНСТРУКЦИЯ


    1. Подушка безопасности в накладке рулевого колеса и передняя подушка безопасности пассажира в сборе


      1. Подушка безопасности в накладке рулевого колеса и передняя подушка безопасности пассажира в сборе состоят, главным образом, из насоса и оболочки.

    2. Подушка безопасности для защиты коленей водителя в сборе


      1. Подушка безопасности для защиты коленей водителя в сборе включает в себя крышку отсека подушки безопасности, насос и оболочку.

    3. Подушка безопасности в подушке сиденья переднего пассажира в сборе


      1. Подушка безопасности в подушке сиденья переднего пассажира состоит из насоса и оболочки.

    4. Подушка безопасности занавесочного типа в сборе


      1. Подушки безопасности занавесочного типа в сборе протягиваются от передних стоек до боковых брусьев крыши. Каждая подушка безопасности занавесочного типа в сборе включает в себя насос, оболочку и крышку.

    5. Подушка безопасности занавесочного типа заднего окна в сборе


      1. На задней верхней панели располагается подушка безопасности занавесочного типа заднего окна в сборе. Она состоит, главным образом, из насоса и оболочки.

    6. Боковая подушка безопасности передних сидений в сборе


      1. Боковые подушки безопасности передних сидений в сборе установлены в спинках сидений водителя и переднего пассажира. Каждая боковая подушка безопасности передних сидений в сборе включает в себя насос, оболочку и крышку.

    7. Передний датчик системы SRS


      1. Передний датчик системы SRS содержит датчик замедления. Замедление автомобиля при фронтальном столкновении вызывает деформацию датчика, которая преобразуется в электрический сигнал. По этому сигналу можно точно определить силу первоначального столкновения.

        A0116VIE01
    8. Дверные боковые датчики и боковой датчик системы SRS


      1. В дверные боковые датчики и боковой датчик системы SRS в сборе встроены датчики замедления. Замедление автомобиля при боковом и заднем боковом столкновении вызывает деформацию датчика, которая преобразуется в электрический сигнал.

        A0116EYE01
    9. Задний датчик системы SRS


      1. В задний датчик системы SRS встроен датчик замедления. Замедление автомобиля при заднем столкновении вызывает деформацию датчика, которая преобразуется в электрический сигнал.

        A0116ORE01
    10. Выключатель пряжки ремня безопасности


      1. Выключатель пряжки ремня безопасности, встроенный в замок ремня безопасности переднего сиденья в сборе, определяет, пристегнут или нет ремень безопасности. Выключатель пряжки ремня безопасности со стороны переднего пассажира является бесконтактным. Он содержит датчик Холла и магнит. Отстегивание или пристегивание ремня безопасности вызывает смещение выбрасывателя внутри выключателя пряжки ремня безопасности и пластины, смонтированной на выбрасывателе. При смещении пластины изменяется плотность магнитного потока магнита. Датчик Холла регистрирует изменения плотности магнитного потока. Эти изменения определяют, пристегнут или отстегнут ремень безопасности, и датчик Холла передает соответствующий сигнал в блок управления системы SRS.

        A0116CUE01

        Tech Tips

        Описание функции предупреждения о непристегнутых ремнях безопасности передних сидений см. в разделе "Система измерительных приборов и индикаторов" (стр. Click here).

  6. ДИАГНОСТИКА


    1. Когда блок управления системы SRS обнаруживает неисправность системы подушек безопасности SRS, он сохраняет информацию о неисправности в памяти, а также включает контрольную лампу аварийного состояния SRS.

    2. Для системы подушек безопасности SRS предусмотрены 2 типа диагностических кодов неисправностей (DTC): 5-значные и 2-значные.

    3. 5-значные коды DTC можно считать, подключив портативный диагностический прибор II к DLC3.

    4. 2-значные коды DTC можно считать, подсоединив SST (09843-18040) к контактам TC и CG разъема DLC3 и наблюдая за миганием контрольной лампы аварийного состояния SRS.

    5. При развертывании подушки безопасности блок управления системы SRS включает контрольную лампу аварийного состояния SRS. Однако в отличие от обычной диагностики DTC при этом не сохраняется в памяти. Выключить контрольную лампу аварийного состояния SRS невозможно. Блок управления системы SRS должен быть заменен новым блоком.

      A0116V2E01