СИСТЕМА КОНДИЦИОНИРОВАНИЯ ДЕТАЛЬНОЕ ОПИСАНИЕ


  1. СИСТЕМА УПРАВЛЕНИЯ


    1. Перечень функций управления


      1. Система кондиционирования выполняет следующие функции управления.

        Функция управления Описание Система кондиционирования
        Имеет Не имеет
        Автоматическая С ручным управлением
        Нейронно-сетевое управление Благодаря этой функции обеспечивается комплексное управление системой за счет искусственного моделирования процессов обработки информации, протекающих в нервных системах живых организмов, с целью установления сложной зависимости между входными и выходными данными подобно тому, как это происходит в мозге человека. - -
        Регулирование температуры воздуха в салоне В соответствии с уставкой температуры, заданной переключателем регулировки температуры, нейронная система управления вычисляет температуру выпускаемого воздуха на основе сигналов, поступающих от различных датчиков. Кроме того, температура воздуха на выпуске корректируется в соответствии с сигналами датчика температуры испарителя и датчика температуры охлаждающей жидкости. - -
        Управление вентилятором Управление электродвигателем вентилятора осуществляется в соответствии с требуемым расходом воздуха, вычисленным нейронной системой управления на основе сигналов различных датчиков. - -
        Регулировка распределения воздушных потоков Блок управления автоматически распределяет воздушные потоки требуемым образом, исходя из результатов обработки нейтронной системой управления сигналов различных датчиков. - -
        Управление забором воздуха Система автоматически управляет входной заслонкой в соответствии с требуемым расходом воздуха, вычисленным нейронной сетью. - -
        Управление производительностью компрессора Вычисляя требуемую температуру испарителя на основе сигналов различных датчиков, блок управления системой кондиционирования оптимальным образом регулирует производительность компрессора путем изменения степени открывания электромагнитного клапана управления компрессором системы кондиционирования. - -
        Управление подогревателем PTC*

        Когда замок зажигания находится в состоянии ON (ВКЛ), электродвигатель вентилятора включен, и выполняются перечисленные ниже условия, блок управления системой кондиционирования включает подогреватель PTC в сборе.


        • Температура охлаждающей жидкости ниже заданного уровня.

        • Температура окружающего воздуха ниже заданной температуры.

        • Угол открывания смесительной заслонки превышает заданное значение (MAX HOT).

        Управление обогревателями зеркал и заднего стекла

        Эта система приводится в действие нажатием выключателя обогревателя заднего стекла при включенном зажигании и поддерживает обогреватель стекла во включенном состоянии в течение примерно 15 мин. Однако при выполнении следующих требований время работы обогревателя заднего стекла может быть продлено примерно до 45 мин.


        • Температура окружающего воздуха: -3°C или менее

        • Скорость автомобиля: 45 км/ч (28 миль в час) или более

        - -

        ○ : оборудована -: не устанавливается


        • *: для моделей с подогревателем PTC

    2. Нейронно-сетевое управление


      1. Прежде, в автоматических системах кондиционирования без нейронно-сетевого управления, блок управления системой кондиционирования определял требуемую температуру воздуха на выпуске и расход воздуха на вентиляторе по формуле, полученной на основе информации, передаваемой датчиками. Однако поскольку органы чувств человека устроены значительно сложнее, одна и та же температура воспринимается по-разному, в зависимости от условий, в которых находится человек. Например, при одинаковой интенсивности солнечного света можно чувствовать себя комфортно в условиях холодного климата и крайне некомфортно в условиях жаркого климата. По этой причине для обеспечения более высокого уровня автоматизации управления в системе кондиционирования используется управление на основе нейронных сетей. Согласно этому подходу данные, собираемые при различных условиях внешней среды, сохраняются в памяти блока управления системой кондиционирования. В дальнейшем они используются с целью обеспечения повышенного комфорта при работе кондиционера.

      2. Применяемая в системе управления нейронная сеть включает в себя три слоя нейронов: входной, промежуточный и выходной. Нейроны входного слоя обрабатывают входные данные (значения температуры окружающего воздуха, интенсивности солнечного освещения и температуры воздуха в салоне) с учетом состояний переключателей и датчиков, и передают результаты нейронам промежуточного слоя. Исходя из этого, нейроны промежуточного слоя регулируют прочность связей между нейронами. Суммируя полученные результаты, нейроны выходного слоя определяют требуемое значение температуры на выпуске, поправки на солнечную радиацию, необходимый расход воздуха и итоговое распределение потоков воздуха. В соответствии с данными вычислений по нейронной сети блок управления системой кондиционирования формирует команды управления для серводвигателей и электродвигателя вентилятора.

        A0116NPE12
    3. Управление подогревателем PTC


      1. Управление подогревателем PTC осуществляется блоком управления системой кондиционирования в соответствии с температурой охлаждающей жидкости двигателя, частотой вращения коленчатого вала двигателя, заданным составом воздушной смеси, температурой окружающего воздуха и электрической нагрузкой (коэффициентом мощности генератора). Например, на представленном ниже графике показана зависимость количества включений подогревателя PTC от температуры охлаждающей жидкости.

        A0116FQE02
  2. КОНСТРУКЦИЯ


    1. Панель управления отопителем (для системы с ручным управлением)


      1. Используется панель управления отопителем с поворотными переключателями.

      2. В новых моделях для управления отопителем и заслонками используются два троса на шкивах.

      3. Панель управления в моделях с кондиционером позволяет установить пять режимов воздухораспределения. Для более точной настойки между установками этих режимов предусмотрены промежуточные положения, что позволяет обеспечить более высокий уровень комфорта.

        A0116QAE03
        Обозначения на рисунке
        *a Для моделей с кондиционером с ручным управлением *b Для моделей без кондиционера
      4. Данный кольцевой трос устанавливается на шкивы троса, которые находятся на панели управления отопителем и заслонках.

      5. Усилие от переключателей на панели управления отопителем передается к заслонкам посредством троса управления, который всегда перемещается в направлении вытягивания. Так как точки воздействия шкивов согласованы, применение шкивов позволяет минимизировать колебания рабочего усилия. Такая конструкция обеспечивает удобство и минимальные усилия при управлении.

        A0116FKE01
        Обозначения на рисунке
        *1 Шкив (со стороны панели управления отопителем) *2 Основание шкива
        *3 Шкив (со стороны заслонки) *4 Трос управления
    2. Панель управления отопителем (для системы с автоматическим управлением)


      1. Для управления отопителем используется панель управления с поворотными и нажимными переключателями.

      2. На панели управления отопителем имеется жидкокристаллический дисплей (ЖКД), который отображает установленную температуру, режим воздухораспределения и скорость вентилятора, обеспечивая отличный визуальный контроль.

        A0116GFE02
        Обозначения на рисунке
        *a Для моделей с автоматическим кондиционером - -
    3. Кондиционер в сборе


      1. Кондиционер в сборе устанавливается в центре, а испаритель системы кондиционирования № 1 в сборе и блок радиатора отопителя в сборе располагаются вдоль автомобиля.

      2. За счет встраивания вентилятора обычного типа в центральный блок удалось сделать кондиционер в сборе более компактным. Кондиционер в сборе располагается в центральной части панели приборов. Это обеспечивает достаточное пространство для ног переднего пассажира.

        A0116VHE01
        Обозначения на рисунке
        *1 Испаритель системы кондиционирования № 1 в сборе *2 Блок радиатора отопителя в сборе
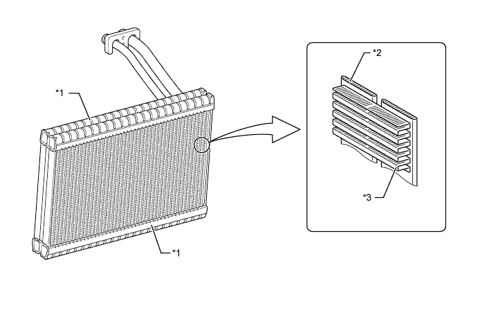
    4. Испаритель системы кондиционирования № 1 в сборе


      1. Применяется испаритель системы кондиционирования № 1 в сборе с принципиально новой сверхтонкой конструкцией (типа RS).

      2. Благодаря тому, что бачки расположены сверху и снизу испарителя, и в конструкции использованы трубки из микропористого материала, удалось достичь следующих результатов:


        • Повышен КПД теплообмена.

        • Достигнуто более равномерное распределение температуры.

        • Уменьшена толщина испарителя.

      3. Корпус испарителя имеет полимерное покрытие, способное предотвращать размножение различных бактерий, которые могут приставать к поверхностям испарителя и создавать неприятный запах.

      4. Основа (подложка) для этого покрытия содержит слой бесхроматного материала, что обеспечивает защиту окружающей среды.

        A0116PKE03
        Обозначения на рисунке
        *1 Бачок *2 Трубки из микропористого материала
        *3 Охлаждающее ребро - -
    5. Датчик температуры испарителя


      1. Датчик температуры испарителя определяет температуру охлажденного воздуха непосредственно на выходе испарителя системы кондиционирования № 1 в сборе посредством изменения внутреннего сопротивления, которое считывается блоком управления системой кондиционирования.

    6. Блок радиатора отопителя в сборе


      1. Отопитель имеет компактный, легкий, высокоэффективный прямоточный (однопроходной) алюминиевый радиатор SFA-II.

        A0116TE
    7. Электродвигатель вентилятора с вентилятором в сборе


      1. Вентилятор с электродвигателем в сборе имеет встроенный контроллер вентилятора, который работает под управлением блока управления системой кондиционирования, регулирующего продолжительность включения вентилятора.

      2. В вентиляторе с электродвигателем в сборе применяются компактные облегченные лопасти вентилятора. Благодаря высокой частоте вращения вала электродвигателя удалось добиться формирования более плавного воздушного потока вокруг вентилятора, и снизить энергопотребление и уровень создаваемого шума.

        A0116EDE01
        Обозначения на рисунке
        *1 Лопасть вентилятора *2 Контроллер вентилятора (для моделей с автоматической системой кондиционирования)
        *3 Электродвигатель вентилятора - -
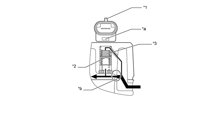
    8. Разъем шины (для моделей с автоматической системой кондиционирования)


      1. Соединительный жгут проводов, связывающий серводвигатель с блоком управления системой кондиционирования, снабжен разъемом шины (BUS).

        A0116GIE03
        Обозначения на рисунке
        *1 Разъем шины - -
        *a К серводвигателю управления заслонкой распределения потоков воздуха *b К серводвигателю управления входной заслонкой
        *c К серводвигателю управления смесительной заслонкой *d К датчику температуры Датчик
        *e К блоку управления системой кондиционирования - -
      2. В разъем шины встроена ИС управления, которая обменивается данными с разъемами других сервоприводов, приводит в действие серводвигатель и обладает функцией определения положения. Это обеспечивает объединение в шину жгутов проводов отдельных сервоприводов, способствует облегчению конструкции и уменьшению количества проводов.

        A0116M0E07
    9. Серводвигатель (для моделей с автоматическим кондиционером)


      1. В отличие от сервопривода предыдущего типа, в котором положение оценивалось по напряжению на потенциометре, в сервоприводе с импульсным управлением для определения относительного положения электродвигателя используются двухуровневые сигналы.

      2. Количество оборотов электродвигателя в прямом и обратном направлениях определяется по двум фазам, A и B, которые образуют 4 кодовых комбинации. Блок управления системой кондиционирования подсчитывает число импульсных кодовых комбинаций и, таким образом, оценивает положение останова.

        A0116N6E01
    10. Подогреватель PTC


      1. Над блоком радиатора отопителя в сборе в кондиционере располагается подогреватель PTC (с положительным температурным коэффициентом).

      2. Подогреватель PTC состоит из элемента PTC, алюминиевого ребра и латунной пластины. Когда в элемент PTC подается ток, он вырабатывает тепло для нагрева воздуха, который проходит через блок.

        A0116EWE02
        Обозначения на рисунке
        *1 Подогреватель PTC *2 Алюминиевые ребра
        *3 Латунная пластина *4 Элемент PTC
    11. Воздушный фильтр


      1. Для удаления пыли, пыльцы и прочих микрочастиц из поступающего снаружи воздуха применяется воздушный фильтр, который поддерживает комфортную чистоту воздуха в салоне автомобиля.

        A0116TZE05
        Обозначения на рисунке
        *1 Корпус воздушного фильтра *2 Воздушный фильтр
        *a Слой для улавливания крупных посторонних частиц *b Электретный слой

        Tech Tips

        В нормальных условиях эксплуатации фильтр необходимо заменять через 30000 км (18000 миль) пробега [интервал очистки: 15000 км (9000 миль)]. При эксплуатации в условиях запыленности фильтр должен заменяться через 15000 км (9000 миль) пробега [интервал очистки: 7500 км (4500 миль)]. Впрочем, приведенные рекомендации следует использовать с учетом реальных условий эксплуатации (окружающей среды).

    12. Конденсатор системы кондиционирования в сборе


      1. В системе кондиционирования используется многопоточный (MF) конденсатор системы кондиционирования в сборе. Конденсатор системы кондиционирования в сборе состоит из двух секций охлаждения: секции конденсации и секции дополнительного охлаждения, а также сепаратора жидкости и газа (модулятора), объединенных в единый узел. Для обеспечения высокого КПД теплообмена в конденсаторе системы кондиционирования в сборе предусмотрен дополнительный цикл охлаждения.

      2. В дополнительном цикле охлаждения хладагент, прошедший через секцию конденсации конденсатора системы кондиционирования в сборе, независимо от фазы (т.е. как в жидком, так и в газообразном состоянии) охлаждается вновь в секции дополнительного охлаждения. Таким образом, в испаритель системы кондиционирования № 1 в сборе поступает уже почти полностью сжиженный хладагент.

        A0116UJE04
        Обозначения на рисунке
        *1 Модулятор *2 Осушитель
        *3 Фильтр - -
        *s Секция конденсации *b Секция дополнительного охлаждения
        *c Газообразный хладагент *d Жидкий хладагент

        Tech Tips

        Количество хладагента, при котором в нем исчезают пузырьки воздуха в дополнительном цикле охлаждения, меньше объема хладагента, которым должна быть заправлена система. Поэтому если система будет пополняться хладагентом, исходя из объема в момент исчезновения пузырьков, количество хладагента окажется недостаточным. Как следствие, снизится холодопроизводительность системы. При этом избыточное количество хладагента в системе также приводит к ухудшению эффективности охлаждения. Правильный способ проверки количества хладагента и инструкции по заправке системы охлаждения хладагентом приводятся в руководстве по ремонту.

        A0116PVE02
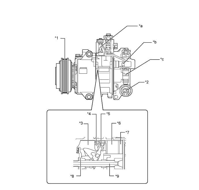
    13. Компрессор системы кондиционирования в сборе


      1. Компрессор системы кондиционирования в сборе


        • Производительность компрессора системы кондиционирования плавно регулируется в соответствии с тепловой нагрузкой системы кондиционирования.

        • Компрессор системы кондиционирования в сборе включает в себя шкив системы кондиционирования с электромагнитной муфтой, вал, прижимную пластину, наклонный диск, поршень, колодку, внутреннюю полость картера, цилиндр и электромагнитный клапан.

        • Электромагнитный клапан позволяет регулировать давление всасывания в соответствии с требованиями к производительности компрессора.

        • Компрессор системы кондиционирования снабжен механизмом измерения расхода, в котором используются датчик расхода хладагента, механизм маслоотделителя, дроссельная заслонка со стороны регулирования всасывания и электромагнитный клапан управления с клапаном CS. В результате удалось повысить эффективность охлаждения и одновременно улучшить энергосбережение.

        A0116LSE04
        Обозначения на рисунке
        *1 Шкив системы кондиционирования с электромагнитной муфтой *2 Электромагнитный клапан управления
        *3 Внутренняя полость картера *4 Колодка
        *5 Наклонный диск *6 Поршень
        *7 Цилиндр *8 Прижимная пластина
        *9 Вал - -
        *a Механизм измерения расхода *b Механизм маслоотделителя
        *c Дроссельная заслонка со стороны регулирования всасывания - -
      2. Электромагнитный клапан управления с клапаном CS


        • Если автомобиль оставлялся на длительное время, температура компрессора системы кондиционирования в сборе, обладающего наибольшей теплоемкостью среди устройств системы кондиционирования (таких как конденсатор системы кондиционирования в сборе и испаритель системы кондиционирования № 1 в сборе), понизится из-за различия теплоемкостей. При этом внутри компрессора системы кондиционирования в сборе может скопиться хладагент. Если такое произойдет, компрессор системы кондиционирования не сможет повысить свою производительность до тех пор, пока не будет полностью выпущен жидкий хладагент. В компрессоре системы кондиционирования обычного типа имеется лишь один канал для нагнетания хладагента, поэтому для повышения производительности ему требуется несколько десятков секунд. Наряду с обычным нагнетательным каналом компрессор системы кондиционирования в сборе, используемый в модели iQ, имеет дополнительный нагнетательный канал, который открывается, только когда хладагент скапливается внутри электромагнитного клапана управления. В результате время, затрачиваемое на выпуск хладагента, существенно сокращается, и охлаждение начинается быстрее.

        • Клапан CS встраивается в стержень внутри электромагнитного клапана управления, а не располагается снаружи электромагнитного клапана управления. Это позволило облегчить нагнетание хладагента и минимизировать размеры компрессора системы кондиционирования в сборе.

        A0116PGE04
        Обозначения на рисунке
        *1 Электромагнитный клапан управления с клапаном CS *2 Обычный электромагнитный клапан управления
        A0116LB Сквозной канал - -
      3. Механизм измерения расхода


        • Обычно рабочая нагрузка компрессора системы кондиционирования в сборе (крутящий момент на валу компрессора) оценивается исходя из тока и высокого давления электромагнитного клапана управления. Механизм измерения расхода, применяемый в новой модели iQ, позволяет точнее оценивать крутящий момент на валу компрессора с использованием датчика расхода хладагента. Соответственно, данные о режиме нагрузки компрессора системы кондиционирования во время работы системы кондиционирования позволяют обеспечить высокоточную обратную связь для управления двигателем, а также эффективное и энергосберегающее управление компрессором.

        • В компрессоре системы кондиционирования в сборе используется датчик расхода хладагента, который определяет расход нагнетаемого хладагента по изменениям магнитного потока золотника. Канал хладагента сужается в одном месте таким образом, что разность давлений до и после этого места изменяется в зависимости от расхода хладагента. Эта разность давлений действует на верхнюю и нижнюю стороны золотника, изменяя его положение. Магнитный чувствительный элемент определяет положение магнита, встроенного в золотник, и преобразует его в сигнал расхода хладагента. На основании расхода хладагента вычисляется крутящий момент на валу компрессора.

        A0116TWE03
        Обозначения на рисунке
        *1 Датчик расхода хладагента *2 Золотник
        *3 Магнит - -
        *a Магнитный чувствительный элемент *b Узкий канал хладагента
        A0116LB Поток хладагента - -
      4. Механизм маслоотделителя


        • Обычно компрессор системы кондиционирования смешивает хладагент, всасываемый в компрессор, с маслом, чтобы обеспечить плавное скольжение всех деталей. Поскольку из компрессора системы кондиционирования выпускается хладагент, содержащий масло, в рабочем контуре системы кондиционирования наряду с хладагентом циркулирует масло, которое не содействует хладагенту. В результате снижается эффективность охлаждения. Благодаря использованию маслоотделителя в компрессоре системы кондиционирования в сборе большая часть масла сохраняется внутри компрессора, а большая часть хладагента циркулирует в рабочем контуре системы кондиционирования. Как следствие, эффективность охлаждения существенно повышается, а система кондиционирования потребляет меньше энергии.

        • Механизм маслоотделителя действует по принципу центрифугирования, что обеспечивает высокую эффективность разделения, и отделяет масло от хладагента в разделительной камере. Внутри компрессора системы кондиционирования в сборе масло проходит по следующему маршруту: разделительная камера, камера хранения масла, всасывающая камера, цилиндр и камера нагнетания, а затем возвращается в разделительную камеру. Как следствие, механизм предотвращает выпуск масла из компрессора системы кондиционирования в сборе.

        Tech Tips

        Центрифугирование представляет собой способ разделения жидкостей, имеющих разные удельные массы, за счет силы, прикладываемой к оси вращения в вертикальном направлении (центробежной силы), когда жидкости вращаются с высокой скоростью.

        A0116Q5E01
      5. Дроссельная заслонка со стороны регулирования всасывания


        • Компрессор системы кондиционирования в сборе содержит дроссельную заслонку со стороны регулирования всасывания, которая регулирует размер канал всасывания хладагента в зависимости от тепловой нагрузки или условий движения автомобиля. В процессе регулирования производительности компрессора системы кондиционирования в сборе дроссельная заслонка закрывается в соответствии с расходом хладагента, ослабляя пульсацию потока. При максимальной производительности компрессора системы кондиционирования в сборе дроссельная заслонка полностью открывается, предотвращая повышение сопротивления всасыванию в компрессоре, обусловленное закрыванием дроссельной заслонки.

        A0116R6E01
    14. Термистор системы кондиционирования (датчик темп. в салоне )


      1. Термистор системы кондиционирования (датчик температуры в салоне) определяет температуру в салоне по изменению сопротивления встроенного термистора и передает соответствующий сигнал в блок управления системой кондиционирования.

    15. Термистор системы кондиционирования (датчик темп. окружающего воздуха )


      1. Термистор (датчик температуры окружающего воздуха) системы кондиционирования определяет температуру окружающего воздуха путем изменения своего сопротивления. Соответствующий сигнал передается щитком приборов по шине CAN в блок управления системой кондиционирования.

    16. Датчик автоматического управления освещением


      1. Датчик автоматического управления освещением регистрирует изменение естественной освещенности (путем изменения тока, протекающего через встроенный фотодиод) и передает соответствующие сигналы в блок управления системой кондиционирования.

  3. РАБОТА


    1. Режимы подачи воздуха и положения заслонок

      A0116IKE03
      Управляющая заслонка Режим работы Положение заслонки Принцип работы
      Входная управляющая заслонка FRESH А Обеспечивает подачу в салон наружного воздуха.
      RECIRC B Обеспечивает рециркуляцию воздуха в салоне.
      Смесительная заслонка Уставка температуры от MAX COLD (макс. охлаждение) C, D Изменяет соотношение наружного и рециркулирующего воздуха, непрерывно регулируя температуру от максимального обогрева (HOT) до максимального охлаждения (COLD).
      Заслонка распределения потоков воздуха A0116GR DEF G, I Обеспечивает оттаивание ветрового стекла, подавая теплый воздух через центральный оттаиватель, боковые оттаиватели и боковые воздуховоды с дефлектором.
      A0116N1 FOOT/DEF F, I Обеспечивает оттаивание ветрового стекла, подавая воздух через передний оттаиватель, боковой оттаиватель и боковой воздуховод с дефлектором; при этом воздух одновременно поступает из воздуховодов с дефлектором в передней и задней выемках для ног*.
      A0116LT FOOT E, I Воздух подается через воздуховоды с дефлектором в передней и задней выемках для ног* и боковой воздуховод с дефлектором. Кроме того, незначительный поток воздуха подается через передний и боковой оттаиватели.
      A0116U8 BI-LEVEL F, H Воздух подается через центральный воздуховод с дефлектором, боковой воздуховод с дефлектором, воздуховоды с дефлектором в передней и задней выемках для ног.
      A0116I0 FACE G, H Воздух подается через центральный и боковой воздуховоды с дефлектором.

      • *: для моделей S-класса, предназначенных для эксплуатации в холодном климате, снабженных задним сиденьем

    2. Воздуховыпускные отверстия и воздухораспределение

      A0116T4E01
      A0116PBE01
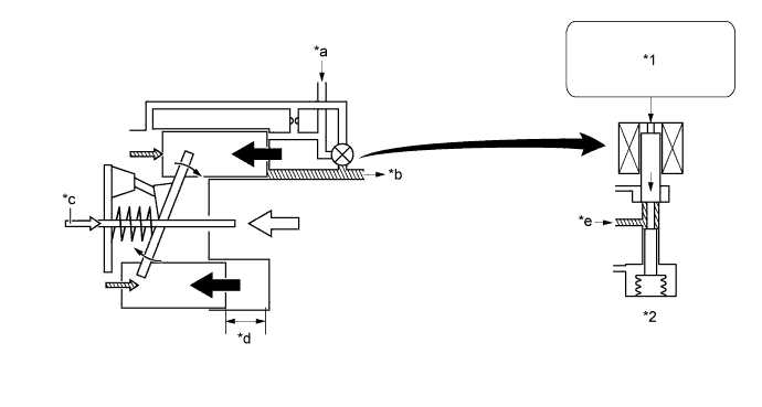
    3. Принцип работы компрессора (плавное регулирование производительности)


      1. Электромагнитный клапан управления соединен со всасывающим каналом, нагнетательным каналом и каналом внутренней полости картера.

      2. В соответствии с сигналами, которые передает блок управления системой кондиционирования, регулируется продолжительность включения электромагнитного клапана управления.

        A0116H4E04
        Обозначения на рисунке
        *1 Внутренняя полость картера *2 Поршень
        *3 Блок управления системой кондиционирования *4 Электромагнитный клапан управления
        *a Всасывание *b Выпуск
        *c Давление во внутренней полости картера *d Давление нагнетания
        *e Давление всасывания - -
      3. Когда электромагнитный клапан закрывается (в катушку электромагнита подается ток), создается разность давлений, и давление во внутренней полости картера уменьшается. Давление, прикладываемое к правой стороне поршня, становится больше давления, прикладываемого к левой стороне поршня. Это вызывает сжатие пружины и наклон наклонного диска. В результате ход поршня увеличивается, и производительность растет.

        A0116KIE04
        Обозначения на рисунке
        *1 Блок управления системой кондиционирования *2 Электромагнитный клапан управления
        *a Всасывание *b Выпуск
        *c Давление во внутренней полости картера + усилие пружины *d Ход поршня: Большой
        *e Давление нагнетания - -
      4. Когда электромагнитный клапан открывается (катушка электромагнита обесточивается), разность давлений исчезает. Давление, прикладываемое к левой стороне поршня, становится равным давлению, прикладываемому к правой стороне поршня. Таким образом, пружина растягивается и устраняет наклон наклонного диска. В результате ход поршня и производительность уменьшаются.

        A0116M7E06
        Обозначения на рисунке
        *1 Блок управления системой кондиционирования *2 Электромагнитный клапан управления
        *a Всасывание *b Выпуск
        *c Давление во внутренней полости картера + усилие пружины *d Ход поршня: Малый
        *e Давление во внутренней полости картера *f Давление нагнетания
  4. ДИАГНОСТИКА


    1. Блок управления системой кондиционирования выполняет функцию диагностики. Он сохраняет информацию обо всех неисправностях в системе кондиционирования в памяти в виде кодов DTC.

    2. Существуют 2 метода для считывания кодов DTC. Можно использовать портативный диагностический прибор II, либо считать коды DTC с дисплея панели управления отопителем (только для моделей с автоматическим кондиционером). Более подробную информацию см. в руководстве по ремонту.