СИСТЕМА ПОСАДКИ И ЗАПУСКА ДЕТАЛЬНОЕ ОПИСАНИЕ


  1. НАЗНАЧЕНИЕ ОСНОВНЫХ УСТРОЙСТВ


    1. Система запуска


      1. Основные устройства системы посадки выполняют следующие функции:

        Устройство Функция

        • Выключатель зажигания


          • Усилитель электронного ключа зажигания


        • Используется для включения питания (зажигания) и запуска двигателя.

        • В выключатель зажигания встроена контрольная лампа, которая дает водителю возможность убедиться в запуске двигателя.

        • Кроме того, в выключатель зажигания встроен усилитель иммобилайзера, который обеспечивает запуск двигателя, когда ключ не может функционировать надлежащим образом из-за низкого уровня заряда батареи ключа или радиопомех.

        Ключ
        • Передает идентификационные коды ключа и автомобиля после получения радиосигналов от внешней антенны.

        • Передает идентификационные коды ключа и автомобиля в ЭБУ кода иммобилайзера после получения радиосигналов от усилителя иммобилайзера, встроенного в выключатель зажигания.


        • Внутренний генератор электронного ключа -


          • Передний, задний

        Излучает в салон радиоволны для обнаружения ключа во внутренней области действия.
        Приемник системы блокировки дверей
        • Принимает идентификационные коды ключа и автомобиля от ключа и передает их в ЭБУ электронного ключа зажигания.

        • Принимает радиосигналы, передаваемые при дистанционном управлении, и через ЭБУ электронного ключа зажигания направляет их в главный ЭБУ кузова.

        ЭБУ распределения питания
        • Управляет включением/выключением режимов ACC и IG источника питания.

        • Управляет контрольной лампой выключателя зажигания.

        • Приводит в действие реле IG, ACC и стартера.

        ЭБУ электронного ключа зажигания в сборе
        • Проверяет коды, передаваемые ключом.

        • Управляет внутренними и внешними антеннами.

        • Передает команды на блокировку/разблокировку привода блокировки рулевого управления в привод блокировки рулевого управления.

        • Управляет контрольной лампой безопасности

        • Формирует область действия системы запуска.

        • Регистрирует проверенные идентификационные коды.

        Выключатель стоп-сигналов*1 Регистрирует нажатие педали тормоза и передает соответствующий сигнал в ЭБУ распределения питания.
        ЭБУ кода иммобилайзера
        • Принимает команды на включение/выключение иммобилайзера от ЭБУ электронного ключа зажигания и передает их в ECM.

        • Регистрирует проверенные идентификационные коды.

        Привод блокировки рулевого управления в сборе
        • Принимает команды от ЭБУ электронного ключа зажигания и приводит в действие привод блокировки рулевого управления.

        • Регистрирует проверенные идентификационные коды.

        ECM Когда осуществляется запуск двигателя, передает сигнал полного сгорания в двигателе в ЭБУ распределения питания.

        • Щиток приборов в сборе


          • Контрольная лампа интеллектуальной системы

          • Зуммер

        Включает зуммер и контрольную лампу интеллектуальной системы в соответствии с сигналом включения от ЭБУ электронного ключа зажигания.
        ЭБУ блокировки селектора*1 Передает сигнал датчика положения P в ЭБУ распределения питания.
        Датчик положения паркинга/нейтрали*1 Передает сигнал положения рычага переключения передач в ЭБУ распределения питания.
        Пусковой переключатель муфты сцепления в сборе*2 Регистрирует нажатие педали сцепления и передает соответствующий сигнал в ЭБУ распределения питания.

        • *1: для моделей с бесступенчатой трансмиссией

        • *2: для моделей с механической трансмиссией

    2. Система посадки


      1. Основные устройства системы посадки выполняют следующие функции:

        Устройство Функция
        Ключ
        • Передает идентификационные коды ключа и автомобиля после получения радиосигналов от внешней антенны.

        • Передает радиосигналы управления переключателей ключа.

        • Передает идентификационные коды ключа и автомобиля в ЭБУ кода иммобилайзера после получения радиосигналов от усилителя иммобилайзера, встроенного в выключатель зажигания.

        Главный ЭБУ кузова
        • По шине CAN передает в ЭБУ электронного ключа зажигания такие сигналы, как сигналы выключателей освещения проемов дверей, сигнал выключателя освещения проема двери багажного отделения и сигналы положения замков дверей.

        • Удостоверяет завершение операции блокировки или разблокировки дверей и выдает подтверждающий сигнал (сигнал запроса включения выключателя проблескового режима указателя поворота).

        ЭБУ электронного ключа зажигания в сборе
        • Проверяет коды, передаваемые ключом.

        • Управляет внутренними и внешними антеннами, и датчиком блокировки/разблокировки двери.

        • Передает команды блокировки/разблокировки дверей системы посадки в главный ЭБУ кузова.

        • Формирует область действия системы посадки.

        • Регистрирует проверенные идентификационные коды.

        Наружная ручка двери Дверной генератор Излучает радиосигналы, формируемые ЭБУ электронного ключа зажигания.
        Датчик разблокировки Регистрирует выполнение операции разблокировки в системе посадки.
        Датчик блокировки Регистрирует выполнение операции блокировки в системе посадки.
        Левый и правый дверные генераторы электронного ключа Передает сигналы запроса.
        Наружный генератор электронного ключа Принимает сигналы запроса от ЭБУ электронного ключа зажигания и формирует область действия вокруг двери багажного отделения.

        • Внутренний генератор электронного ключа -


          • Передний, задний

        Излучает в салон радиоволны для обнаружения ключа во внутренней области действия.
        Приемник системы блокировки дверей
        • Принимает идентификационные коды ключа и автомобиля от ключа и передает их в ЭБУ электронного ключа зажигания.

        • Принимает радиосигналы, передаваемые при дистанционном управлении, и направляет их в ЭБУ электронного ключа зажигания.

        Выключатель механизма открывания двери багажного отделения Передает сигнал включения/выключения выключателя механизма открывания двери багажного отделения в главный ЭБУ кузова через ЭБУ электронного ключа зажигания.
        Выключатель замка двери багажного отделения Передает сигнал включения/выключения выключателя блокировки двери багажного отделения в ЭБУ электронного ключа зажигания.
        Замок передней двери с электродвигателем в сборе
        • Блокирует или разблокирует дверь в результате поворота вала встроенного электродвигателя замка двери в прямом или обратном направлении.

        • Используя встроенный датчик положения замка двери, определяет, заблокирована (датчик в выключенном состоянии) или разблокирована (датчик во включенном состоянии) дверь, и передает эту информацию в главный ЭБУ кузова.

        Замок двери багажного отделения в сборе
        • Освобождает защелку замка двери багажного отделения с помощью встроенного электродвигателя замка двери багажного отделения.

        • Используя встроенный выключатель освещения проема двери багажного отделения, определяет, открыта (выключатель во включенном состоянии) или закрыта (выключатель в выключенном состоянии) дверь багажного отделения, и передает эту информацию в главный ЭБУ кузова.

        Выключатель освещения проема передней двери Определяет, открыта (выключатель во включенном состоянии) или закрыта (выключатель в выключенном состоянии) дверь, и передает эту информацию в главный ЭБУ кузова.

        • Щиток приборов в сборе


          • Контрольная лампа интеллектуальной системы

          • Зуммер


        • Включает зуммер и контрольную лампу интеллектуальной системы в щитке приборов в соответствии с сигналом включения от ЭБУ электронного ключа зажигания.

        • Передает сигнал скорости автомобиля в главный ЭБУ кузова.

        Зуммер системы дистанционной блокировки дверей Подает звуковой сигнал, информируя водителя о неисправностях в системе посадки и запуска.
        Выключатель проблескового режима указателя поворота в сборе Заставляет мигать лампы аварийной сигнализации для подтверждения выполнения операции в соответствии с сигналом от главного ЭБУ кузова.
  2. УСЛОВИЯ РАБОТЫ


    1. Специальные функции системы посадки и запуска работают только тогда, когда ключ находится в области действия, формируемой 5 генераторами.

    2. Внутренние генераторы электронного ключа (передний и задний) формируют внутреннюю область действия.

    3. Генератор электронного ключа левой двери, генератор электронного ключа правой двери и наружный генератор электронного ключа формируют наружную область действия.

      A0116RDE01

      1. Область действия

    Область действия Описание
    Внутренняя Внутренняя область действия формируется внутренними генераторами электронного ключа (передним и задним) при открывании и закрывании двери водителя, нажатии выключателя зажигания, выдаче предупреждения, а также при включении датчика блокировки, когда нажата педаль тормоза (для моделей с бесступенчатой трансмиссией) или педаль сцепления (для моделей с механической трансмиссией).
    Наружная Наружная область действия формируется дверными генераторами электронного ключа (левым и правым) и наружным генератором электронного ключа (на двери багажного отделения) и представляет собой зону в пределах примерно 0,7-1,0 м (2,3-3,3 фута) от наружных ручек передних дверей и от центра заднего бампера.
    Вокруг передних дверей Наружная область действия дверных генераторов электронного ключа (левого и правого) формируется, когда зажигание выключено, и все двери заблокированы, путем передачи сигнала запроса через каждые 0,25 с. Таким образом определяется наличие ключа. При блокировке двери с помощью выключателя блокировки на наружной ручке двери область действия формируется при нажатии выключателя блокировки.
    Вокруг двери багажного отделения
    • Область действия наружного генератора электронного ключа (на двери багажного отделения) формируется, когда выключатель механизма открывания двери багажного отделения находится во включенном состоянии.

    • Область действия наружного генератора электронного ключа (на двери багажного отделения) формируется, когда выключатель блокировки двери багажного отделения находится во включенном состоянии.

  3. УПРАВЛЕНИЕ В СИСТЕМЕ


    1. Функция запуска


      1. В зависимости от состояния педали тормоза и положения рычага переключения передач функция запуска реализует различные схемы изменения режима источника питания (для моделей с бесступенчатой трансмиссией).

        Схема Педаль тормоза Рычаг переключения передач Схема изменения режима источника питания
        А Нажата Положение P или N
        • При однократном нажатии выключателя зажигания:


          • OFF (ВЫКЛ) → IG-ON (ВКЛ) (после запуска двигателя)

        B Не нажата Положение P
        • Всякий раз при нажатии выключателя зажигания.


          • OFF (ВЫКЛ) → ACC → IG-ON (ВКЛ) → OFF (ВЫКЛ)

        C Любое положение, кроме P
        • Всякий раз при нажатии выключателя зажигания.


          • OFF (ВЫКЛ) → ACC → IG-ON (ВКЛ) → ACC

        D - Положение P
        • Когда выключатель зажигания нажат в состоянии IG-ON (ВКЛ).


          • IG-ON (ВКЛ) (двигатель запущен или не запущен) → OFF (ВЫКЛ)

        E - Любое положение, кроме P
        • Когда выключатель зажигания нажат в состоянии IG-ON (ВКЛ).


          • IG-ON (ВКЛ) (двигатель запущен или не запущен) → ACC

        A0116HKE03

        Note


        • Как правило, во время движения автомобиля выключатель зажигания заблокирован. Тем не менее, в аварийной ситуации водитель может остановить двигатель, даже когда автомобиль находится в движении, нажав на выключатель зажигания и удерживая его нажатым примерно не менее 3 с.

        • Если из-за неисправностей в выключателе стоп-сигналов или датчике положения паркинга/нейтрали в сборе сигналы не передаются в ЭБУ распределения питания, нажатие выключателя зажигания при нажатой педали тормоза не приведет к запуску двигателя. В этом случае помочь запустить двигатель может следующая процедура: 1) нажмите выключатель зажигания, чтобы переключить источник питания из режима OFF (ВКЛ) в режим ACC; 2) нажмите выключатель зажигания снова и удерживайте его не менее 15 с.

        • Эти 2 операции должны выполняться исключительно в аварийных ситуациях. В нормальных условиях не следует останавливать двигатель, нажимая на выключатель зажигания во время движения, а также запускать систему без нажатия педали тормоза, когда рычаг переключения передач находится в каком-либо положении, кроме P или N.

      2. Функция запуска реализует различные схемы изменения режима источника питания в зависимости от состояния педали сцепления (для моделей с механической трансмиссией).

        Схема переключения Педаль сцепления Схема изменения режима источника питания
        А Нажата
        • При однократном нажатии выключателя зажигания:


          • OFF (ВЫКЛ) → IG-ON (ВКЛ) (после запуска двигателя)

        B Не нажата
        • Всякий раз при нажатии выключателя зажигания.


          • OFF (ВЫКЛ) → ACC → IG-ON (ВКЛ) → OFF (ВЫКЛ)

        A0116J5E01

        Note


        • Как правило, во время движения автомобиля выключатель зажигания заблокирован. Тем не менее, в аварийной ситуации водитель может остановить двигатель, даже когда автомобиль находится в движении, нажав на выключатель зажигания и удерживая его нажатым не менее примерно 3 с.

        • Если из-за неисправностей в переключателе муфты сцепления сигналы не передаются в ЭБУ распределения питания, нажатие выключателя зажигания при нажатой педали сцепления не приведет к запуску двигателя. В этом случае помочь запустить двигатель может следующая процедура: 1) нажмите выключатель зажигания, чтобы переключить источник питания из режима OFF (ВКЛ) в режим ACC; 2) нажмите выключатель зажигания снова и удерживайте его не менее 15 с.

        • Эти 2 операции должны выполняться исключительно в аварийных ситуациях. В нормальных условиях двигатель не должен останавливаться путем нажатия выключателя зажигания во время движения и запускаться без нажатия педали сцепления.

      3. Переключение режимов источника питания, когда ключ не может функционировать надлежащим образом из-за разряженной батареи или радиопомех.


        • Разблокируйте дверь с помощью встроенного механического ключа и сядьте в автомобиль, держа при себе ключ.

        • Нажмите педаль тормоза и приложите сторону ключа с декоративным рисунком к внешней поверхности выключателя зажигания (для моделей с механической трансмиссией должна быть нажата педаль сцепления).

        • Примерно в течение 10 с после подачи звукового сигнала зуммера в щитке приборов отпустите педаль тормоза и нажмите на выключатель зажигания.

        • При каждом нажатии выключателя зажигания режим источника питания будет переключаться в следующей последовательности: OFF (ВЫКЛ) → ACC → IG ON (ВКЛ) → OFF (ВЫКЛ).

      4. Запуск двигателя, когда ключ не может функционировать надлежащим образом из-за разряженной батареи или радиопомех.


        • Разблокируйте дверь с помощью встроенного механического ключа и сядьте в автомобиль, держа при себе ключ.

        • Нажмите педаль тормоза и приложите сторону ключа с декоративным рисунком к внешней поверхности выключателя зажигания (для моделей с механической трансмиссией педаль сцепления), когда рычаг переключения передач находится в положении P или N*.

        • Нажмите на выключатель зажигания при нажатой педали тормоза (для моделей с механической трансмиссией: педали сцепления) примерно в течение 10 с после того, как будет подан звуковой сигнал зуммера в щитке приборов, и контрольная лампа выключателя зажигания начнет светиться зеленым светом.

        • Двигатель запустится после нажатия выключателя зажигания.

        *: для моделей с бесступенчатой трансмиссией

    2. Разблокировка системой посадки


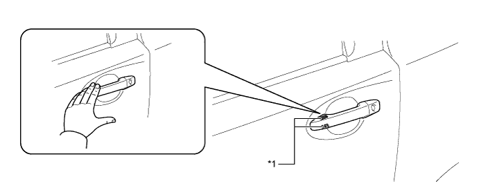
      1. Когда пользователь вносит ключ в наружную область действия, и сжимается наружная ручка двери со стороны водителя (регистрируется касание обратной стороны ручки), датчик разблокировки двери, встроенный в ручку, определяет это, и двери разблокируются.

      2. После разблокировки дверей дважды мигают лампы аварийной сигнализации, чтобы подтвердить выполнение операции.

        A0116SDE02
        Обозначения на рисунке
        *1 Датчик разблокировки - -
    3. Блокировка системой посадки


      1. Когда пользователь покидает автомобиль, унося с собой ключ, и касается датчика блокировки*1 в наружной ручке двери, находясь в наружной области действия, в то время как все двери закрыты, двери блокируются.

      2. Когда пользователь покидает автомобиль, унося с собой ключ, и нажимает на выключатель блокировки двери багажного отделения*2 на боковой ручке двери багажного отделения, находясь в наружной области действия двери багажного отделения, в то время как все двери закрыты, двери блокируются.

      3. После блокировки дверей однократно мигают лампы аварийной сигнализации, чтобы подтвердить выполнение операции.

        Tech Tips

        *1: в автомобилях, оборудованных системой двойной блокировки, двукратное касание датчика блокировки двери (с повторным касанием в течение 5 с после первого) приводит в действие систему двойной блокировки.

        *2: в автомобилях, оборудованных системой двойной блокировки, двукратное нажатие выключателя блокировки двери багажного отделения (с повторным нажатием в течение 5 с после первого) приводит в действие систему двойной блокировки.

        A0116TPE02
        Обозначения на рисунке (наружная ручка передней двери):
        *1 Датчик блокировки - -
        A0116GKE02
        Обозначения на рисунке (наружная ручка двери багажного отделения):
        *1 Выключатель замка двери багажного отделения *2 Наружная ручка задней двери
    4. Дверь багажного отделения открыта


      1. Если пользователь имеет при себе ключ и находится в наружной области действия двери багажного отделения, нажатие выключателя механизма открывания двери багажного отделения приводит к открыванию двери багажного отделения.

        A0116DDE02
        Текст на рисунке
        *1 Выключатель механизма открывания двери багажного отделения *2 Наружная ручка задней двери
    5. Предупреждение


      1. В любой из рассмотренных ниже ситуаций система посадки и запуска посредством ЭБУ электронного ключа зажигания включает зуммер в щитке приборов, зуммер системы дистанционной блокировки дверей, подсветку выключателя зажигания и контрольную лампу интеллектуальной системы для предупреждения водителя.

        Ситуация Условие
        А Когда водитель покидает автомобиль, двигатель остается включенным, а рычаг переключения передач не находится в положении P (только для моделей с бесступенчатой трансмиссией).
        B Дверь водителя открывается, когда рулевое управление разблокировано.
        C Когда водитель покидает автомобиль, двигатель работает, а рычаг переключения передач находится в положении P (только для моделей с бесступенчатой трансмиссией).
        D Дверь закрыта неплотно, и происходит касание датчика блокировки.
        E Двигатель работает, когда пассажир покидает автомобиль, унося ключ.
        F Ключ находится вне областей действия.
        G Ключ оставлен в салоне автомобиля, и происходит касание датчика блокировки.
        H Батарея ключа разряжена.
        I Блокировка рулевого управления не выключается.
        J Обнаружена неисправность ЭБУ блокировки рулевого управления.
        K ЭБУ распределения питания неисправен.
        L Отображается метод запуска двигателя.
        M Автомобиль движется, но ключ отсутствует в салоне автомобиля.
        N Пусковой переключатель муфты сцепления неисправен (только для моделей с механической трансмиссией).
      2. Ситуации A соответствуют 2 случая.

      3. Случай 1: когда рычаг переключения передач находится в каком-либо положении, кроме P, и двигатель работает, водитель открывает дверь и пытается покинуть автомобиль. В данной ситуации выполняются следующие действия:

        Возможные последствия без предупреждения Внезапное трогание автомобиля с места, угон автомобиля, откат автомобиля
        Условия выдачи предупреждения
        • Предупреждение выдается при выполнении всех перечисленных ниже условий:


          • Источник питания находится в режиме, отличном от OFF (ВЫКЛ).

          • Рычаг переключения передач находится в любом положении, кроме "P".

          • Скорость автомобиля равна 0.

          • Открывание двери водителя

        Способ предупреждения Щиток приборов в сборе Зуммер Непрерывно подает звуковой сигнал
        Контрольная лампа интеллектуальной системы -
        Зуммер системы дистанционной блокировки дверей -
        Подсветка выключателя зажигания -
        Условие прекращения выдачи предупреждения
        • Выдача предупреждения прекращается при выполнении любого из следующих условий:


          • Зажигание выключено.

          • Рычаг переключения передач находится в положении "P".

          • Скорость автомобиля становится выше 0.

          • Дверь водителя закрыта.

      4. Случай 2: в условиях варианта 1 водитель закрывает дверь и пытается оставить автомобиль, унося ключ. В данной ситуации выполняются следующие действия:

        Возможные последствия без предупреждения Внезапное трогание автомобиля с места, угон автомобиля, откат автомобиля
        Условия выдачи предупреждения
        • Предупреждение выдается при выполнении всех перечисленных ниже условий:


          • Источник питания находится в режиме, отличном от OFF (ВЫКЛ).

          • Рычаг переключения передач находится в любом положении, кроме "P".

          • Скорость автомобиля равна 0.

          • Дверь водителя открывается → закрывается.

          • Ключ не находится в салоне автомобиля.

        Способ предупреждения Щиток приборов в сборе Зуммер Непрерывно подает звуковой сигнал
        Контрольная лампа интеллектуальной системы Мигает
        Зуммер системы дистанционной блокировки дверей Непрерывно подает звуковой сигнал
        Подсветка выключателя зажигания -
        Условие прекращения выдачи предупреждения
        • Выдача предупреждения прекращается при выполнении любого из следующих условий:


          • Зажигание выключено.

          • Скорость автомобиля становится выше 0. (Происходит только выключение зуммера щитка приборов и зуммера системы дистанционной блокировки дверей.)

          • Рычаг переключения передач находится в положении "P". (Происходит только выключение зуммера щитка приборов и зуммера системы дистанционной блокировки дверей.)

          • Ключ оказывается в салоне автомобиля.

      5. В ситуации B (дверь водителя открывается, когда рулевое управление разблокировано) управление осуществляется следующим образом.

        Возможные последствия без предупреждения Угон автомобиля
        Условия выдачи предупреждения
        • Предупреждение выдается при выполнении одного из следующих условий:


          • Источник питания работает в режиме ACC, и дверь водителя открыта.

          • Зажигание выключено, рулевое управление разблокировано, и дверь со стороны водителя открыта.

        Способ предупреждения Щиток приборов в сборе Зуммер Непрерывно подает звуковые сигналы через короткие и равные интервалы
        Контрольная лампа интеллектуальной системы -
        Зуммер системы дистанционной блокировки дверей -
        Подсветка выключателя зажигания -
        Условие прекращения выдачи предупреждения
        • Выдача предупреждения прекращается при выполнении любого из следующих условий:


          • Источник питания переводится в режим IG-ON (ВКЛ), или дверь водителя закрывается.

          • Источник питания переводится в режим OFF (ВЫКЛ), и рулевое управление блокируется.

      6. Ситуации C соответствуют 2 случая.

      7. Случай 1: когда рычаг переключения передач находится в положении P, и двигатель работает, водитель закрывает дверь со стороны водителя и пытается покинуть автомобиль, унося ключ. В данной ситуации выполняются следующие действия:

        Возможные последствия без предупреждения Угон автомобиля, двигатель не сможет быть запущен заново, разряд аккумуляторной батареи
        Условия выдачи предупреждения
        • Предупреждение выдается при выполнении всех перечисленных ниже условий:


          • Источник питания находится в режиме, отличном от OFF (ВЫКЛ)

          • Рычаг переключения передач находится в положении "P".

          • Ключ не находится в салоне автомобиля.

          • Дверь со стороны водителя открыта → закрыта.

        Способ предупреждения Щиток приборов в сборе Зуммер Подает 1 звуковой сигнал
        Контрольная лампа интеллектуальной системы Мигает
        Зуммер системы дистанционной блокировки дверей Подает 3 звуковых сигнала
        Подсветка выключателя зажигания -
        Условие прекращения выдачи предупреждения
        • Выдача предупреждения прекращается при выполнении любого из следующих условий:


          • Зажигание выключено.

          • Ключ оказывается в салоне автомобиля.

      8. Случай 2: При условиях для случая 1 водитель касается датчика блокировки. В данной ситуации выполняются следующие действия:

        Возможные последствия без предупреждения Угон автомобиля, разряд аккумуляторной батареи
        Условия выдачи предупреждения
        • Предупреждение выдается при выполнении всех перечисленных ниже условий:


          • Источник питания находится в режиме, отличном от OFF (ВЫКЛ).

          • Рычаг переключения передач находится в положении "P".

          • Все двери закрыты.

          • Ключ не находится в салоне автомобиля (в пределах одной из областей действия).

        Способ предупреждения Щиток приборов в сборе Зуммер Подает 1 звуковой сигнал
        Контрольная лампа интеллектуальной системы Мигает в течение 60 с
        Зуммер системы дистанционной блокировки дверей Звуковой сигнал издается в течение 10 с
        Подсветка выключателя зажигания -
        Условие прекращения выдачи предупреждения
        • Выдача предупреждения прекращается при выполнении любого из следующих условий:


          • Источник питания выключается, и ключ оказывается вне областей действия.

          • Ключ оказывается в салоне автомобиля.

          • Рычаг переключения передач находится в любом положении, кроме "P".

          • Какая-либо из дверей открыта.

      9. В ситуации D (дверь закрыта неплотно, и происходит касание датчика блокировки) управление осуществляется следующим образом.

        Возможные последствия без предупреждения Угон автомобиля
        Условия выдачи предупреждения
        • Предупреждение выдается при выполнении всех перечисленных ниже условий:


          • Зажигание выключено.

          • Открывается какая-либо дверь.

          • Датчик блокировки включен.

        Способ предупреждения Щиток приборов в сборе Зуммер -
        Контрольная лампа интеллектуальной системы -
        Зуммер системы дистанционной блокировки дверей Звуковой сигнал издается в течение 10 с
        Подсветка выключателя зажигания -
        Условие прекращения выдачи предупреждения
        • Выдача предупреждения прекращается при выполнении любого из следующих условий:


          • Источник питания находится в режиме, отличном от OFF (ВЫКЛ).

          • Все двери закрыты.

          • Функция дистанционной блокировки дверей разблокируется.

          • Активирована функция разблокировки посадки.

      10. В ситуации E (когда пользователь покидает автомобиль, унося с собой ключ, двигатель остается включенным) управление осуществляется следующим образом.

        Возможные последствия без предупреждения Двигатель не перезапускается
        Условия выдачи предупреждения
        • Предупреждение выдается при выполнении всех перечисленных ниже условий:


          • Источник питания находится в режиме, отличном от ON (ВКЛ).

          • Какая-либо дверь помимо двери водителя открывается → закрывается.

          • Скорость автомобиля равна 0.

          • Ключ не находится в салоне автомобиля.

        Способ предупреждения Щиток приборов в сборе Зуммер Подает 1 звуковой сигнал
        Контрольная лампа интеллектуальной системы Мигает
        Зуммер системы дистанционной блокировки дверей Подает 3 звуковых сигнала
        Подсветка выключателя зажигания -
        Условие прекращения выдачи предупреждения
        • Выдача предупреждения прекращается при выполнении любого из следующих условий:


          • Зажигание выключено.

          • Скорость автомобиля становится выше 0.

          • Ключ оказывается в салоне автомобиля.

      11. В ситуации F (ключ находится вне областей действия) управление осуществляется следующим образом.

        Возможные последствия без предупреждения Пользователь получает неверные сведения
        Условия выдачи предупреждения
        • Предупреждение выдается при выполнении всех перечисленных ниже условий:


          • Ключ не находится в салоне автомобиля.

          • Нажимается выключатель зажигания.

        Способ предупреждения Щиток приборов в сборе Зуммер Подает 1 звуковой сигнал
        Контрольная лампа интеллектуальной системы Мигает в течение 15 с
        Зуммер системы дистанционной блокировки дверей -
        Подсветка выключателя зажигания -
        Условие прекращения выдачи предупреждения
        • Выдача предупреждения прекращается при выполнении любого из следующих условий:


          • Ключ оказывается в салоне автомобиля.

          • Нажимается выключатель зажигания.

      12. В ситуации G (ключ оставлен в салоне автомобиля, и происходит касание датчика блокировки) управление осуществляется следующим образом.

        Возможные последствия без предупреждения Угон автомобиля
        Условия выдачи предупреждения
        • Предупреждение выдается при выполнении всех перечисленных ниже условий:


          • Зажигание выключено.

          • Все двери закрыты.

          • Ключ оставлен в салоне автомобиля.

          • Датчик блокировки включен.

          • Какая-либо из дверей разблокирована.

        Способ предупреждения Щиток приборов в сборе Зуммер Подает 1 звуковой сигнал
        Контрольная лампа интеллектуальной системы -
        Зуммер системы дистанционной блокировки дверей Звуковой сигнал издается в течение 10 с
        Подсветка выключателя зажигания -
        Условие прекращения выдачи предупреждения
        • Выдача предупреждения прекращается при выполнении любого из следующих условий:


          • Источник питания включается.

          • Какая-либо из дверей открыта.

          • Ключ оказывается в наружной области действия, и выполняется операция блокировки системы посадки.

      13. В ситуации H (батарея ключа разряжена) управление осуществляется следующим образом.

        Возможные последствия без предупреждения Не работает система посадки и запуска
        Условия выдачи предупреждения
        • Предупреждение выдается при выполнении всех перечисленных ниже условий:


          • Источник питания выключается после работы в режиме IG-ON в течение более 20 мин.

          • Низкое напряжение батареи ключа.

        Способ предупреждения Щиток приборов в сборе Зуммер Подает 1 звуковой сигнал
        Контрольная лампа интеллектуальной системы -
        Зуммер системы дистанционной блокировки дверей -
        Подсветка выключателя зажигания -
      14. В ситуации I (блокировка рулевого управления не выключается) управление осуществляется следующим образом.

        Возможные последствия без предупреждения Функция удобства использования рулевого управления
        Условия выдачи предупреждения Блокировка рулевого управления не снимается, что не позволяет запустить двигатель.
        Способ предупреждения Щиток приборов в сборе Зуммер Подает 1 звуковой сигнал
        Контрольная лампа интеллектуальной системы -
        Зуммер системы дистанционной блокировки дверей -
        Подсветка выключателя зажигания Зеленый индикатор мигает с 1-секундным интервалом. (Выключается автоматически через 30 с.)
        Условие прекращения выдачи предупреждения Выключатель зажигания нажимается во время поворота рулевого колеса влево и вправо, и блокировка рулевого колеса успешно снимается.
      15. В ситуации J (обнаружение неисправности в ЭБУ блокировки рулевого управления) управление осуществляется следующим образом.

        Возможные последствия без предупреждения Обнаружение неисправности
        Условия выдачи предупреждения Обнаружена неисправность ЭБУ блокировки рулевого управления.
        Способ предупреждения Щиток приборов в сборе Зуммер Подает 1 звуковой сигнал
        Контрольная лампа интеллектуальной системы -
        Зуммер системы дистанционной блокировки дверей -
        Подсветка выключателя зажигания Желтый индикатор мигает с интервалом в 2 секунды. (Выключается автоматически через 15 с.)
        Условие прекращения выдачи предупреждения ЭБУ блокировки рулевого управления возвращается в нормальный режим работы.
      16. В ситуации K (ЭБУ распределения питания неисправен) управление осуществляется следующим образом.

        Возможные последствия без предупреждения Обнаружение неисправности
        Условия выдачи предупреждения Обнаружена неисправность ЭБУ распределения питания.
        Способ предупреждения Щиток приборов в сборе Зуммер -
        Контрольная лампа интеллектуальной системы -
        Зуммер системы дистанционной блокировки дверей -
        Подсветка выключателя зажигания Желтый индикатор мигает с интервалом в 2 секунды. (Выключается автоматически через 15 с.)
        Условие прекращения выдачи предупреждения ЭБУ распределения питания возвращается в нормальный режим работы.
      17. В ситуации L (отображается способ запуска двигателя) управление осуществляется следующим образом.

        Возможные последствия без предупреждения Ухудшение эксплуатационной пригодности
        Условия выдачи предупреждения
        • Предупреждение выдается при выполнении всех перечисленных ниже условий:


          • Иммобилайзер двигателя включен.

          • Ключ не находится в салоне автомобиля.

          • При нажатии выключателя зажигания или разблокировке дверей с помощью механического ключа дважды возникает ошибка проверки подлинности кода ключа.

          • Нажимается выключатель зажигания.

        Способ предупреждения Щиток приборов в сборе Зуммер Подает 1 звуковой сигнал
        Контрольная лампа интеллектуальной системы -
        Зуммер системы дистанционной блокировки дверей -
        Подсветка выключателя зажигания -
      18. В ситуации M (автомобиль движется, но ключ отсутствует в салоне автомобиля) управление осуществляется следующим образом.

        Возможные последствия без предупреждения Невозможность повторного запуска двигателя
        Условия выдачи предупреждения
        • Предупреждение выдается при выполнении всех перечисленных ниже условий:


          • Двигатель работает.

          • Ключ не находится в салоне автомобиля.

          • Регистрируется ненулевая скорость автомобиля.

        Способ предупреждения Щиток приборов в сборе Зуммер Подает 1 звуковой сигнал
        Контрольная лампа интеллектуальной системы Мигает
        Зуммер системы дистанционной блокировки дверей -
        Подсветка выключателя зажигания -
        Условие прекращения выдачи предупреждения
        • Выдача предупреждения прекращается при выполнении любого из следующих условий:


          • Зажигание выключено.

          • Ключ оказывается в салоне автомобиля.

      19. В ситуации N (пусковой переключатель муфты сцепления неисправен) управление осуществляется следующим образом.

        Возможные последствия без предупреждения Обнаружение неисправности
        Условия выдачи предупреждения
        • Предупреждение выдается при выполнении всех перечисленных ниже условий:


          • Зажигание выключено.

          • Пусковой переключатель муфты сцепления остается во включенном состоянии в течение не менее 5 мин.

          • Дверь водителя закрыта → открыта.

        Способ предупреждения Щиток приборов в сборе Зуммер Подает 1 звуковой сигнал
        Контрольная лампа интеллектуальной системы -
        Зуммер системы дистанционной блокировки дверей -
        Подсветка выключателя зажигания Мигает зеленый индикатор. (Выключается автоматически через 15 с.)
        Условие прекращения выдачи предупреждения Пусковой переключатель муфты сцепления возвращается в нормальное состояние.
    6. Экономия энергии батарей

      Функция энергосбережения аккумуляторной батареи предотвращает разрядку аккумуляторной батареи автомобиля и батареи ключа. Она приводится в действие, когда автомобиль в течение длительного времени находится на стоянке, а также когда ключ остается внутри наружной области действия.

      Когда автомобиль в течение длительного времени находится на стоянке.
      • Ответный сигнал от ключа не поступает более 5 суток.


        • Дверной генератор электронного ключа и наружный генератор электронного ключа прекращают передавать сигналы для формирования области действия.


      • Указанные режимы управления отменяются при выполнении любого из следующих условий:


        • Двери блокируются или разблокируются с использованием дистанционного управления.

        • Двери блокируются или разблокируются касанием датчика блокировки/разблокировки на двери водителя.

        • Двери блокируются нажатием выключателя блокировки двери багажного отделения.

        • Дверь багажного отделения открывается с помощью выключателя механизма открывания двери багажного отделения.

        • Дверь запирается или отпирается механическим ключом.

        • Дверь открывается → закрывается.


      • Ответный сигнал от ключа не поступает более 14 суток.


        • Дверной генератор электронного ключа и наружный генератор электронного ключа прекращают передавать сигналы для формирования области действия.

        • Работа датчиков блокировки и разблокировки двери запрещается.

      Когда ключ остается внутри наружной области действия.
      • Это состояние сохраняется дольше 10 мин


        • Генератор электронного ключа, регистрирующий ключ, прекращает передавать сигналы для формирования области действия.


      • Указанный режим управления отменяется при выполнении любого из следующих условий:


        • Двери блокируются или разблокируются с использованием дистанционного управления.

        • Двери блокируются или разблокируются касанием датчика блокировки/разблокировки на передней двери.

        • Двери блокируются нажатием выключателя блокировки двери багажного отделения.

        • Дверь багажного отделения открывается с помощью выключателя механизма открывания двери багажного отделения.

        • Дверь запирается или отпирается механическим ключом.

  4. ФУНКЦИИ


    1. Функция посадки


      1. Функция посадки выполняет следующие функции:

        Функция Описание
        Дистанционное управление блокировкой дверей С помощью этой функции можно легко блокировать и разблокировать все двери на расстоянии. Действие этой функции аналогично действию такой же функции в системе дистанционной блокировки дверей.
        Освещение при посадке Когда ключ попадает в наружную область действия дверных генераторов электронного ключа (левого и правого), включается лампа индивидуального освещения.
        Разблокировка системой посадки Когда ключ находится в наружной области действия какого-либо генератора электронного ключа (двери водителя, переднего пассажира или багажного отделения), и выключатель зажигания установлен в состояние OFF (ВЫКЛ), все двери могут быть разблокированы простым касанием датчика разблокировки.
        Блокировка системой посадки Когда ключ находится в наружной области действия какого-либо генератора электронного ключа (двери водителя, переднего пассажира или багажного отделения), и выключатель зажигания установлен в состояние OFF (ВЫКЛ), все двери могут быть заблокированы простым касанием датчика блокировки или нажатием выключателя блокировки двери.
        Дверь багажного отделения открыта Когда ключ находится в наружной области действия наружного генератора электронного ключа (на двери багажного отделения), дверь багажного отделения открывается вручную простым нажатием выключателя механизма открывания двери багажного отделения.
        Предотвращение запирания ключа Функция предотвращения запирания ключа не позволяет запереть ключ внутри автомобиля. Эта функция действует в 2 различных случаях: при блокировке без ключа и блокировке посредством датчика блокировки.
        Предупреждение В любой из рассмотренных ниже ситуаций система посадки и запуска посредством ЭБУ электронного ключа зажигания включает зуммер в щитке приборов и зуммер системы дистанционной блокировки дверей для предупреждения водителя.
        Экономия энергии батарей Пока ключ остается в пределах наружной области действия какого-либо генератора электронного ключа (двери водителя, переднего пассажира или багажного отделения), система периодически обменивается с ним данными. Поэтому, если автомобиль находится в таком состоянии в течение длительного времени, батарея ключа и аккумуляторная батарея автомобиля могут разрядиться.
        Отмена действия ключа
        • Выполнив определенные операции, можно отключить следующие функции ключа.

        • Блокировка / разблокировка посредством системы посадки

        • Дверь багажного отделения открыта

        • Предотвращение запирания ключа

        • Предупреждение

        Регистрация кода ключа Всего можно зарегистрировать 7 ключей. Эта функция обеспечивает регистрацию (запись и хранение) опознавательных кодов передатчика в электрически стираемом программируемом ПЗУ, встроенном в ЭБУ электронного ключа зажигания в сборе.
    2. Функция дистанционной блокировки дверей

      Система дистанционной блокировки дверей имеет следующие настраиваемые функции.

      Функция Описание Настраивается пользователем*
      Блокировка всех дверей При нажатии кнопки LOCK (ЗАБЛОКИР) все двери блокируются. по умолчанию функция включена
      Разблокировка всех дверей При нажатии кнопки UNLOCK (РАЗБЛОКИР) все двери разблокируются. по умолчанию функция включена
      Обратная связь Когда двери блокируются или разблокируются посредством ключа, лампы аварийной сигнализации мигают (один раз при блокировке и дважды при разблокировке). Кроме того, функция обратной связи приводится в действие, когда двери блокируются посредством функции автоматической повторной блокировки. по умолчанию функция включена
      Автоматическая повторная блокировка Если ни одна из дверей не открывается в течение 30 с после разблокировки посредством системы дистанционной блокировки дверей, все двери автоматически блокируются вновь. Настройка по умолчанию описывается слева.
      Защита Сигнал запроса блокировки/разблокировки двери передается в виде непрерывно изменяющегося кода. Не настраивается
      Предупреждение о неплотно закрытой двери Если какая-либо дверь открыта или закрыта неплотно, нажатие кнопки LOCK (ЗАБЛОКИР) ключа вызовет предупредительное включение зуммера системы дистанционной блокировки дверей примерно на 10 с. Не настраивается

      Tech Tips

      *: настраиваемые функции включаются/отключаются с помощью системы настройки электрооборудования кузова. Более подробную информацию см. в руководстве по ремонту.

    3. Отмена действия ключа


      1. Перечисленные ниже функции системы посадки и запуска могут быть отключены.


        • Блокировка системой посадки

        • Разблокировка системой посадки

        • Дверь багажного отделения открыта

        • Предотвращение запирания ключа

        • Предупреждение

      2. Отмена ключа возможна при выполнении определенных операций, когда автомобиль находится в следующем состоянии:


        • Зажигание выключено.

        • Дверь водителя закрыта.

        • Дверь водителя разблокирована.

      3. Порядок выполнения операций:


        • Однократно снимите блокировку, нажав кнопку UNLOCK (РАЗБЛОКИР) ключа.

        • В течение 5 с откройте дверь водителя.

        • В течение 5 с дважды снимите блокировку с помощью кнопки UNLOCK (РАЗБЛОКИР) ключа.

        • Дважды в течение 30 с откройте → закройте дверь водителя, а затем снова откройте ее (состояния двери водителя: открыта → закрыта → открыта → закрыта → открыта).

        • В течение 30 с дважды снимите блокировку с помощью кнопки UNLOCK (РАЗБЛОКИР) ключа.

        • Один раз в течение 30 с откройте → закройте дверь водителя, а затем снова откройте ее (состояния двери водителя: открыта → закрыта → открыта).

        • Закройте дверь со стороны водителя в течение 5 секунд.

          После отмены действия ключа зуммер системы дистанционной блокировки дверей издает 1 звуковой сигнал. Чтобы вернуться к исходному состоянию, снова повторите все действия. После возврата из состояния отмены действия ключа зуммер системы дистанционной блокировки дверей издает 2 звуковых сигнала.

    4. Функция регистрации кода ключа

      В приведенной ниже таблице рассмотрены три специальных режима функции регистрации идентификационного кода, позволяющие зарегистрировать до семи различных кодов. Коды записываются и хранятся в электрически стираемом программируемом ПЗУ. Подробное описание порядка регистрации опознавательных кодов см. в руководстве по ремонту.

      Режим Функция
      Перезапись Стирание всех ранее зарегистрированных кодов и регистрация только вновь полученных кодов. Этот режим используется всякий раз при замене передатчика или интегрированного реле.
      Добавление Добавление вновь полученного кода при сохранении ранее зарегистрированных кодов. Этот режим используется при добавлении нового передатчика.
      Подтверждение Позволяет узнать, сколько кодов зарегистрировано в настоящее время. При добавлении нового кода этот режим дает возможность проверить, сколько кодов уже зарегистрировано.
  5. КОНСТРУКЦИЯ


    1. Ключ


      1. Ключ состоит из механического ключа, передатчика системы дистанционной блокировки дверей, приемопередатчика функции посадки и микросхемы управления иммобилайзером двигателя.

      2. Механический ключ подходит к цилиндру замка двери водителя, однако не позволяет запустить двигатель. При использовании механического ключа необходимо снять крышку цилиндра замка двери водителя.

      3. Передатчик системы дистанционной блокировки дверей имеет кнопки блокировки (LOCK) и разблокировки (UNLOCK).

      4. Приемопередатчик ключа принимает сигналы от генераторов и возвращает идентификационный код приемнику системы дистанционной блокировки дверей.

      5. Микросхема электронного ключа, управляющая иммобилайзером двигателя, передает сигнал в выключатель зажигания в ответ на принятый от него радиосигнал.

        A0116GUE02
        Текст на рисунке
        *1 Механический ключ *2 Кнопка LOCK (ЗАБЛОКИР)
        *3 Кнопка UNLOCK (РАЗБЛОКИР) - -
    2. Выключатель зажигания


      1. Выключатель зажигания содержит переключатель без фиксации положения, индикатор (желтый и зеленый светодиоды), лампу подсветки, антенную катушку и усилитель электронного ключа зажигания.

      2. Водитель может определить текущий режим источника питания и состояние двигателя (запущен или нет) по цвету контрольной лампы.

      3. Когда ЭБУ распределения питания обнаруживает неисправность в системе посадки и запуска, он заставляет индикатор мигать желтым светом. Если двигатель будет остановлен в этом состоянии, его повторный запуск может оказаться невозможным.

        A0116J1E04
        Состояние источника питания Состояние индикатора
        Педаль тормоза не нажата (для моделей с бесступенчатой трансмиссией) Педаль сцепления не нажата (для моделей с механической трансмиссией)
        OFF (ВЫКЛ) OFF (ВЫКЛ)
        ACC, IG-ON ON (ВКЛ) (желтый)
        Во время работы двигателя OFF (ВЫКЛ)
        Блокировка рулевого управления не снята Мигает (зеленым светом) в течение 15 с
        Неисправность в системе посадки и запуска Мигает (зеленым светом) в течение 15 с
        Неверный сигнал пускового переключателя муфты сцепления - Мигает (зеленым светом) в течение 15 с
        Состояние источника питания Состояние индикатора
        Педаль тормоза нажата, рычаг переключения передач находится в положении "P" или "N" (для моделей с бесступенчатой трансмиссией) Педаль сцепления нажата (для моделей с механической трансмиссией)
        OFF (ВЫКЛ) ON (ВКЛ) (зеленый)
        ACC, IG-ON ON (ВКЛ) (зеленый)
        Во время работы двигателя OFF (ВЫКЛ)
        Блокировка рулевого управления не снята Мигает (зеленым светом) в течение 15 с
        Неисправность в системе посадки и запуска Мигает (желтым светом) в течение 15 с
        Неверный сигнал пускового переключателя муфты сцепления - Мигает (зеленым светом) в течение 15 с
  6. ДИАГНОСТИКА


    1. Функция запуска


      1. Когда источник питания работает в режиме ON (ВКЛ) (IG), ЭБУ распределения питания и ЭБУ электронного ключа зажигания в сборе способны обнаруживать неисправности в системе посадки и запуска.

      2. Когда ЭБУ регистрируют неисправность, для предупреждения водителя начинает мигать желтвй индикатор выключателя зажигания. Одновременно ЭБУ сохраняют в своей памяти 5-значный диагностический код неисправности (DTC).

      3. Контрольная лампа продолжает выдавать предупреждение в течение 15 с даже после перевода выключателя зажигания в состояние OFF (ВЫКЛ).

      4. 5-значные коды DTC можно считать, подключив портативный диагностический прибор II к DLC3.

      5. При наличии неисправности система посадки и запуска не может работать нормально.