СИСТЕМА КОНДИЦИОНИРОВАНИЯ РАСПОЛОЖЕНИЕ ДЕТАЛЕЙ

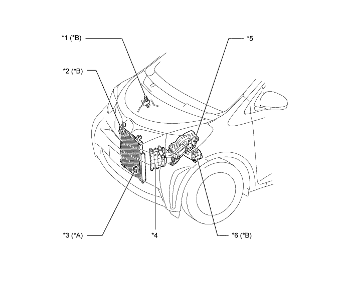
A0116U6E01
Обозначения на рисунке
*A Для моделей с автоматическим кондиционером *B Для моделей с системой кондиционирования
*1 Датчик давления системы кондиционирования (трубка системы кондиционирования в сборе) *2 Конденсатор системы кондиционирования в сборе
*3 Термистор системы кондиционирования (датчик темп. окружающего воздуха ) *4 ECM
*5
  • Блок реле № 1 моторного отсека


    • Реле обогревателя (для моделей с автоматическим кондиционером)

*6
  • Компрессор системы кондиционирования в сборе


    • Электромагнитная муфта

    • Электромагнитный клапан управления

    • Датчик расхода хладагента

A0116VSE01
Обозначения на рисунке
*A Для моделей с автоматическим кондиционером *B для моделей с кондиционером с ручным управлением и без кондиционера
*1 Панель управления отопителем (облицовка панели управления в сборе) *2 Блок управления отопителем № 2 в сборе
*3
  • Блок управления отопителем № 1 в сборе


    • Выключатель системы кондиционирования (для моделей с кондиционером с ручным управлением)

*4
  • Блок управления отопителем № 3 в сборе


    • Выключатель MAX HOT (для моделей с подогревателем PTC)

*5 Щиток приборов в сборе *6 Датчик автоматического управления освещением
*7 Термистор системы кондиционирования (датчик темп. в салоне) - -
A0116HAE01
Обозначения на рисунке (установка кондиционирования воздуха в сборе): )
*A Для моделей с автоматическим кондиционером *B кроме моделей с автоматическим кондиционером
*C Для моделей с системой кондиционирования *D для моделей с подогревателем PTC
*1
  • Электродвигатель вентилятора с вентилятором в сборе


    • Контроллер вентилятора (для моделей с автоматическим кондиционером)

*2 Резистор вентилятора
*3 Воздушный фильтр *4 Датчик температуры испарителя (термистор системы кондиционирования № 1)
*5 Сервопривод смесительной заслонки в сборе *6 Сервопривод заслонки в сборе
*7 Подогреватель PTC (устройство быстрого подогрева) *8 Сервопривод заслонки распределения потоков воздуха в сборе
*9 Блок радиатора отопителя в сборе *10 Испаритель системы кондиционирования № 1 в сборе
*11 Блок управления системой кондиционирования - -