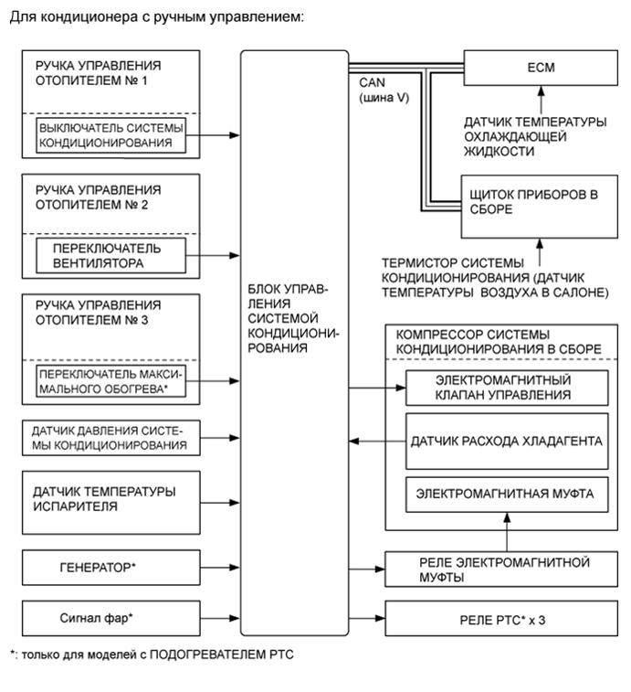
СИСТЕМА КОНДИЦИОНИРОВАНИЯ СХЕМА СИСТЕМЫ

A0116T1E03
A0116H5E03