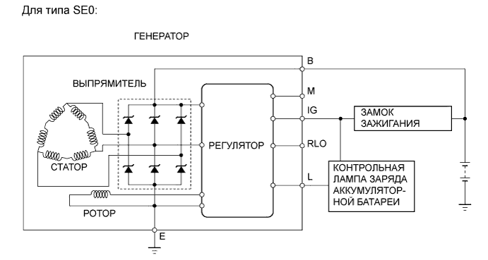
СИСТЕМА ЗАРЯДКИ СХЕМА СИСТЕМЫ

A0116IJE01
A0116K3E01
A0116DYE01