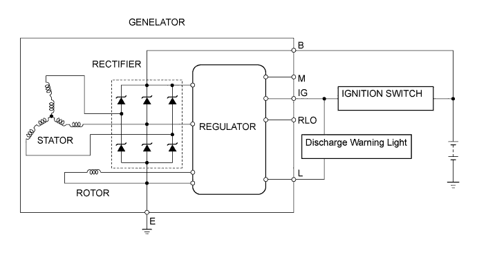
СИСТЕМА ЗАРЯДКИ СХЕМА СИСТЕМЫ

A0116SAE01