СИСТЕМА РУЛЕВОГО УПРАВЛЕНИЯ С УСИЛИТЕЛЕМ ДЕТАЛЬНОЕ ОПИСАНИЕ


  1. НАЗНАЧЕНИЕ ОСНОВНЫХ УСТРОЙСТВ


    1. Основные устройства системы EPS перечислены ниже.

      Устройство Функция
      Рулевая колонка в сборе Датчик крутящего момента Определяет закручивание торсиона. Эта величина преобразуется в электрический сигнал и поступает в ЭБУ рулевого управления с усилителем, где вычисляется крутящий момент, действующий на торсион.
      Электродвигатель усилителя рулевого управления Создает дополнительный крутящий момент в соответствии с сигналом, полученным от ЭБУ рулевого управления с усилителем.
      Редуктор Снижает частоту вращения вала электродвигателя усилителя рулевого управления с помощью червячной передачи и зубчатого колеса, передавая усилие на вал рулевого управления.
      ЭБУ рулевого управления с усилителем Исходя из сигналов от различных датчиков и ЭБУ управляет электродвигателем усилителя рулевого управления, встроенным в рулевую колонку в сборе, обеспечивая усиление крутящего момента.
      ЭБУ системы противоскольжения
      • Передает в ЭБУ рулевого управления с усилителем сигнал скорости автомобиля.


      • Во время координированного управления запрашивает усиление крутящего момента рулевого управления.

      ECM Передает в ЭБУ рулевого управления с усилителем сигнал частоты вращения коленчатого вала двигателя.
      Блок управления системой кондиционирования Получает сигнал от ЭБУ рулевого управления с усилителем для ограничения потребления электроэнергии.*
      Щиток приборов в сборе Контрольная лампа P/S Включается, чтобы предупредить водителя о том, что ЭБУ рулевого управления с усилителем обнаружил неисправность в системе EPS.

      • *: для моделей с автоматической системой кондиционирования или подогревателем РTC

  2. УПРАВЛЕНИЕ В СИСТЕМЕ


    1. Перечень функций управления


      1. Система EPS выполняет следующие функции управления:

        Функция управления Описание
        Базовое управление Вычисляет ток электроусилителя на основе величины крутящего момента рулевого управления и скорости автомобиля, и приводит в действие электродвигатель усилителя рулевого управления.
        Компенсация изменения момента инерции Улучшает пусковую характеристику электродвигателя усилителя рулевого управления, когда водитель начинает поворачивать рулевое колесо.
        Управление возвратом В течение короткого интервала времени между моментом, когда водитель поворачивает рулевое колесо до упора, и моментом, когда колеса начинают двигаться обратно, ЭБУ рулевого управления с усилителем увеличивает усилие возврата.
        Управление ослаблением Регулирует усиление, когда водитель поворачивает рулевое колесо при движении с высокой скоростью, тем самым ослабляя колебания скорости рысканья кузова автомобиля.
        Защита системы от перегрева Оценивает температуру электродвигателя усилителя рулевого управления исходя из силы и продолжительности действия тока. Если температура превышает максимально допустимую, она ограничивает силу тока для предотвращения перегрева электродвигателя усилителя рулевого управления.
        Регулирование электрической нагрузки Предотвращает ослабление дополнительного крутящего момента в случае понижения напряжения аккумуляторной батареи.
        Согласованное управление с EPS (VSC+) Система EPS осуществляет управление согласованно с системой управления тормозами.
    2. Регулирование электрической нагрузки


      1. Когда ЭБУ рулевого управления с усилителем обнаруживает понижение напряжения вспомогательной аккумуляторной батареи, он передает сигнал регулирования электрической нагрузки в блок управления системой кондиционирования, чтобы ограничить потребление электроэнергии.

      2. Блок управления системой кондиционирования ограничивает функциональные возможности обогревателя заднего стекла*1 и подогревателя PTC*2 до тех пор, пока ЭБУ рулевого управления с усилителем не снимет ограничение.


        • *1: для моделей с автоматическим кондиционером


        • *2: для моделей с подогревателем PTC

    3. Согласованное управление с EPS (VSC+)


      1. ЭБУ рулевого управления с усилителем координирует управление совместно с ЭБУ системы противоскольжения с тем, чтобы регулирование крутящего момента электроусилителя рулевого управления осуществлялось в соответствии с данными, поступающими от ЭБУ системы противоскольжения. Это облегчает вождение и обеспечивает прекрасную курсовую устойчивость автомобиля. Более подробная информация приведена в разделе "Система управления тормозами".

  3. КОНСТРУКЦИЯ


    1. Рулевая колонка в сборе


      1. Рулевая колонка в сборе содержит датчик крутящего момента рулевого управления с усилителем, электродвигатель усилителя рулевого управления, редуктор и ЭБУ рулевого управления с усилителем.

        A0116GQE01
      2. Датчик крутящего момента состоит из втулки, короткого вала и двух катушек обнаружения.

      3. Втулка монтируется на первичном валу, а короткий вал – на выходном валу. Первичный и выходной валы связаны друг с другом торсионом. Снаружи втулки располагаются катушки обнаружения, образующие бесконтактную цепь возбуждения.

      4. При повороте рулевого колеса происходит закручивание торсиона, что приводит к смещению втулки и короткого вала друг относительно друга. Датчик крутящего момента формирует электрический сигнал, отражающий это изменение, и передает его в ЭБУ рулевого управления с усилителем.

        A0116S2E01
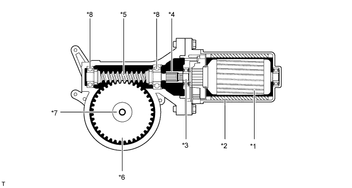
      5. В системе используется малоинерционный малошумящий мощный электродвигатель усилителя рулевого управления.

      6. Электродвигатель рулевого управления с усилителем включает в себя ротор, статор и вал.

      7. Крутящий момент, создаваемый электродвигателем усилителя рулевого управления, через шарнир сообщается редуктору.

      8. Редуктор уменьшает частоту вращения вала электродвигателя усилителя рулевого управления посредством червячной передачи и передает усилие на вал рулевой колонки.

      9. Для снижения шума и уменьшения массы конструкции зубчатое колесо изготавливается из высокопрочного износостойкого пластика с низким коэффициентом трения.

      10. Червячная передача поддерживается шаровыми подшипниками, уменьшающими шум и трение.

        A0116TGE01
        Обозначения на рисунке
        *1 Ротор *2 Статор
        *3 Вал электродвигателя *4 Соединение
        *5 Червячное колесо *6 Зубчатое колесо
        *7 Вал рулевого управления *8 Шариковый подшипник
    2. Рулевой механизм в сборе


      1. Применяется компактный и легкий рулевой механизм "шестерня-рейка".

      2. Реализована центральная конструкция, в которой обе рулевые тяги соединены в центре рейки рулевого механизма.

        A0116F5E01
        Обозначения на рисунке
        *1 Рулевая рейка *2 Вал сателлита
        *3 Левая тяга в сборе *4 Правая тяга в сборе
  4. ПРИНЦИП РАБОТЫ


    1. Определение крутящего момента рулевого управления и направления поворота рулевого колеса


      1. Схема измерения крутящего момента, встроенная в ЭБУ рулевого управления с усилителем, формирует сигналы на выходах датчиков крутящего момента 1 (TRQ1) и 2 (TRQ2) в соответствии с сигналами от 2 катушек обнаружения датчиков.

      2. По сигналам TRQ1 и TRQ2 ЭБУ рулевого управления с усилителем определяет крутящий момент рулевого управления и направление поворота рулевого колеса.

        A0116F7E01
      3. Если водитель не поворачивает рулевое колесо, на выходы TRQ1 и TRQ2 выдается заданное напряжение (примерно 2,5 В). Пока выдается заданное напряжение, ЭБУ рулевого управления с усилителем считает, что крутящий момент рулевого управления равен нулю.

      4. Когда водитель поворачивает рулевое колесо вправо или влево, напряжение на выходах TRQ1 и TRQ2 изменяется, как показано на графике ниже. На основании этих изменений ЭБУ рулевого управления с усилителем определяет крутящий момент рулевого управления и направление поворота рулевого колеса водителем.

        A0116VNE01
  5. РАБОТА В АВАРИЙНОЙ РЕЖИМЕ


    1. Когда ЭБУ рулевого управления с усилителем обнаруживает неисправность в системе EPS, он включает контрольную лампу P/S, уведомляя об этом водителя.

    2. Одновременно ЭБУ рулевого управления с усилителем изменяет режим управления в соответствии с выявленными неисправностями, чтобы ограничить вспомогательное усилие или запретить усиление, тем самым гарантируя надлежащую маневренность. Более подробную информацию см. в руководстве по ремонту.

      Tech Tips

      Кроме того, ЭБУ рулевого управления с усилителем ограничивает вспомогательное усилие или включает контрольную лампу P/S в случае временного понижения напряжения аккумуляторной батареи.

  6. ДИАГНОСТИКА


    1. Когда ЭБУ рулевого управления с усилителем обнаруживает неисправность в системе EPS, он производит диагностику и сохраняет в памяти данные о неисправном узле. Одновременно в памяти ЭБУ рулевого управления с усилителем сохраняется диагностический код неисправности (DTC).

    2. DTC можно считать, подключив портативный диагностический прибор к разъему DLC3, или подсоединив SST (09843-18040) к контактам TC и CG разъема DLC3 и наблюдая за миганием контрольной лампы P/S. Более подробную информацию см. в руководстве по ремонту.